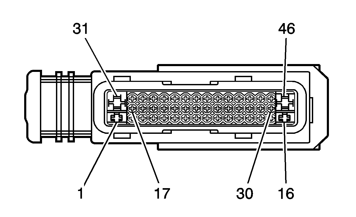
| Connector 1: | Electronic Brake Control Module (EBCM) |
| Connector 2: | Steering Wheel Speed Position Sensor (JL4) |
| Connector 3: | Wheel Speed Sensor (WSS) - LF |
| Connector 4: | Wheel Speed Sensor (WSS) - LR |
| Connector 5: | Wheel Speed Sensor (WSS) - RF |
| Connector 6: | Wheel Speed Sensor (WSS) - RR |
| Connector 7: | Yaw Rate and Lateral Acceleration Sensor (JL4) |
Connector Part Information
|
Terminal Part Information
|
Pin | Wire Color | Circuit No. | Function |
|---|---|---|---|
1 | BK/WH | 251 | Ground |
2-4 | -- | -- | Not Used |
5 | D-GN/WH | 2087 | 5-Volt Reference (JL4) |
6 | -- | -- | Not Used |
7 | L-BU | 910 | Yaw Rate Sensor Signal (JL4) |
8-10 | -- | -- | Not Used |
11 | L-BU | 1122 | Class 2 Serial Data |
12 | OG | 885 | Left Rear Wheel Speed Sensor Low Reference |
13 | TN | 884 | Left Rear Wheel Speed Sensor Signal |
14-15 | -- | -- | Not Used |
16 | PK | 1039 | Ignition 1 Voltage |
17 | -- | -- | Not Used |
18 | TN/BK | 464 | Delivered Torque Signal |
19 | D-GN | 2087 | 5-Volt Reference (JL4) |
20-22 | -- | -- | Not Used |
23 | L-GN | 1338 | Lateral Accelerometer Signal (JL4) |
24 | TN | 833 | Right Front Wheel Speed Sensor Low Reference |
25-26 | -- | -- | Not Used |
27 | L-BU | 830 | Left Front Wheel Speed Sensor Signal |
28 | YE | 873 | Left Front Wheel Speed Sensor Low Reference |
29 | L-BU/WH | 2088 | Low Reference (JL4) |
30 | -- | -- | Not Used |
31 | BK/WH | 251 | Ground |
32-33 | -- | -- | Not Used |
34 | L-GN | 1763 | Steering Wheel Position Signal A (JL4) |
35 | L-BU | 1764 | Steering Wheel Position Signal B (JL4) |
36-37 | -- | -- | Not Used |
38 | OG/BK | 463 | Requested Torque Signal |
39 | D-GN | 872 | Right Front Wheel Speed Sensor Signal |
40 | -- | -- | Not Used |
41 | L-GN | 526 | Stop Lamp Supply Voltage |
42 | BN | 882 | Right Rear Wheel Speed Sensor Signal |
43 | WH | 883 | Right Rear Wheel Speed Sensor Low Reference |
44 | L-BU | 2088 | Low Reference (JL4) |
45 | -- | -- | Not Used |
46 | RD/BK | 1442 | Battery Positive Voltage |
Connector Part Information
|
Terminal Part Information
|
Pin | Wire Color | Circuit No. | Function |
|---|---|---|---|
1 | D-GN | 2087 | 5-Volt Reference |
2 | L-BU | 2088 | Low Reference |
3-4 | -- | -- | Not Used |
5 | L-GN | 1763 | Steering Wheel Position Signal A |
6 | L-BU | 1764 | Steering Wheel Position Signal B |
Connector Part Information
|
Terminal Part Information
|
Pin | Wire Color | Circuit No. | Function |
|---|---|---|---|
A | L-BU | 830 | Left Front Wheel Speed Sensor Signal |
B | YE | 873 | Left Front Wheel Speed Sensor Low Reference |
Connector Part Information
|
Terminal Part Information
|
Pin | Wire Color | Circuit No. | Function |
|---|---|---|---|
A | WH | 883 | Left Rear Wheel Speed Sensor Low Reference (F46) |
A | BN | 882 | Left Rear Wheel Speed Sensor Signal (w/o F46) |
B | BK | 882 | Left Rear Wheel Speed Sensor Signal (F46) |
B | WH | 883 | Left Rear Wheel Speed Sensor Low Reference (w/o F46) |
Connector Part Information
|
Terminal Part Information
|
Pin | Wire Color | Circuit No. | Function |
|---|---|---|---|
A | D-GN | 872 | Right Front Wheel Speed Sensor Signal |
B | TN | 833 | Right Front Wheel Speed Sensor Low Reference |
Connector Part Information
|
Terminal Part Information
|
Pin | Wire Color | Circuit No. | Function |
|---|---|---|---|
A | WH | 883 | Right Rear Wheel Speed Sensor Low Reference (F46) |
A | BN | 882 | Right Rear Wheel Speed Sensor Signal (w/o F46) |
B | BK | 882 | Right Rear Wheel Speed Sensor Signal (F46) |
B | WH | 883 | Right Rear Wheel Speed Sensor Low Reference (w/o F46) |
Connector Part Information
|
Terminal Part Information
|
Pin | Wire Color | Circuit No. | Function |
|---|---|---|---|
A | -- | -- | Not Used |
B | D-GN | 2087 | 5-Volt Reference |
C | L-BU | 910 | Yaw Rate Sensor Signal |
D | L-BU | 2088 | Low Reference |
E | BK/L-GN | 1338 | Lateral Accelerometer Signal |