GM Service Manual Online
For 1990-2009 cars only

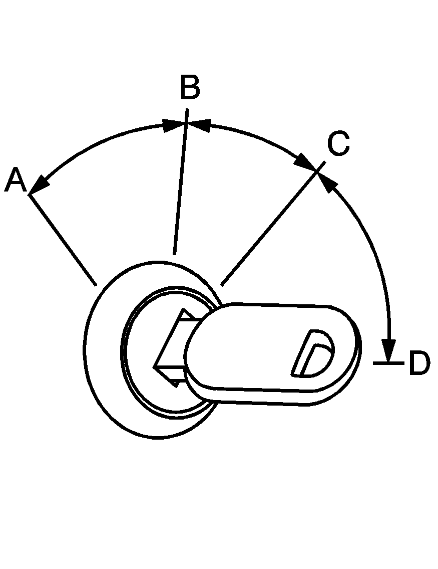
The key can be turned to one of four positions while in the ignition switch.


Object Number: 1839833  Size: A3
A (LOCK): This is the only position from which you can remove the key. This position locks your ignition and transaxle.

Notice: Using a tool to force the key from the ignition switch could cause damage or break the key. Use the correct key and turn the key only with your hand. Make sure the key is all the way in. If none of this works, then your vehicle needs service.

B (ACCESSORY): This is the position in which you can operate the electrical accessories, such as the radio.

C (RUN): This is the position to which the switch returns after the engine is started and the ignition key is released. This is the position for driving. Even while the engine is not running, RUN can be used to operate your electrical accessories and to display some instrument panel warning lights. The battery could be drained if you leave the key in the ACCESSORY or RUN position with the engine off. You may not be able to start your vehicle if the battery is allowed to drain for an extended period of time.

D (START): This position starts the engine. When the engine starts, release the ignition key. The switch will return to RUN for driving.

Key In the Ignition

Never leave your vehicle with the keys inside, as it is an easy target for joy riders or thieves. If you leave the key in the ignition and park your vehicle,a chime will sound, when you open the driver's door. Always remember to remove your key from the ignition and take it with you. This will lock your ignition and transaxle. Also, always remember to lock the doors.

The battery could be drained if you leave the key in the ignition while your vehicle is parked . You may not be able to start your vehicle after it has been parked for an extended period of time.