Removal Procedure
- Remove the steering wheel from the vehicle. Refer to
Steering Wheel Replacement
.
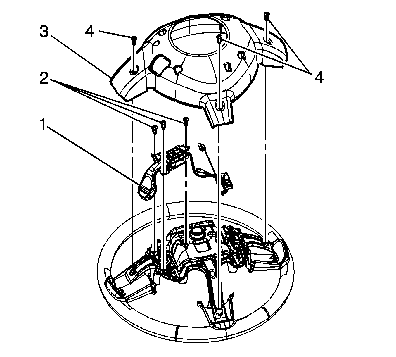
- Remove the steering wheel electrical harness grounding screw (1).
- Release the electrical harness connector retainer clip (2) from the steering wheel trim cover.
- Remove the steering wheel rear trim cover screws (4).
- Remove the cruise control switch screws (2).
- Remove the steering wheel trim cover (3).
- Remove the cruise control switch (1).
Installation Procedure
- Install the cruise control switch (1).
- Install the steering wheel trim cover (3).
Notice: Refer to Fastener Notice in the Preface section.
- Install the cruise control switch screws (2).
Tighten
Tighten the screws to 6 N·m (53 lb in).
- Install the steering wheel rear trim cover screws (4).
Tighten
Tighten the screws to 6 N·m (53 lb in).
- Install the steering wheel electrical harness grounding screw (1).
Tighten
Tighten the screw to 6 N·m (53 lb in).
- Attach the electrical harness connector retainer clip (2) to the steering wheel trim cover.
- Install the steering wheel to the vehicle. Refer to
Steering Wheel Replacement
.