GM Service Manual Online
For 1990-2009 cars only

Object Number: 1595306  Size: LF
Master Electrical Component List
Automatic Transmission Controls Schematics
OBD II Symbol Description Notice
Control Module References

Circuit Description

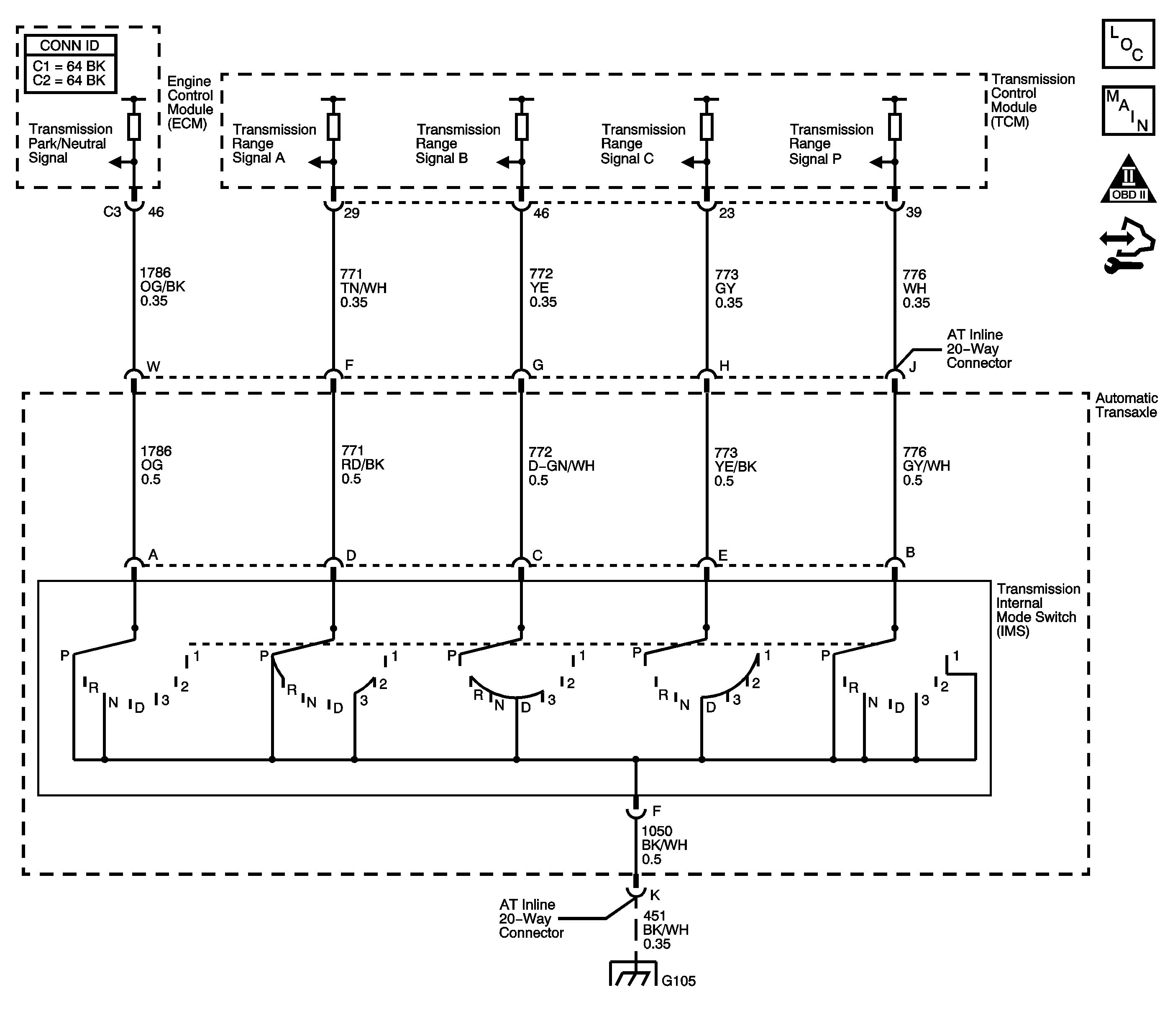
The engine control module (ECM) provides 12-volts to the Park/Neutral switch of the manual shift shaft position switch. The manual shift shaft position switch is a sliding contact assembly that attaches to the manual shift shaft inside the transmission. The switch consists of five separate circuits, four of which indicate gear selector position to the transmission control module (TCM), and one that indicates Park/Neutral position to the ECM. When the transmission is in Park or Neutral, the switch closes and pulls the ECM voltage low, 0 volts. When the transmission is not in Park or Neutral, the ECM voltage is high, 12 volts. The ECM uses the switch in order to enable starter operation.

If the Park/Neutral switch and the transmission manual shift shaft position switch do not agree for a specified length of time, DTC P0852 sets. DTC P0852 is a type C DTC.

DTC Descriptor

This Diagnostic procedure supports the following DTC:

DTC P0852 Park/Neutral Position (PNP) Switch Circuit High Voltage

Conditions for Running the DTC

    • No communication DTCs U0073, U0100, U0121 or U0140.
    • No TPS DTCs P0120 or P0220.
    • No OSS DTCs P0722 or P0723.
    • The ignition voltage is 9-18 volts.
    • The engine speed is 400 RPM or greater.

Conditions for Setting the DTC

The Park/Neutral switch is closed for 3.2 seconds while the TCM is reporting the gear selector is not in PARK or NEUTRAL.

Action Taken When the DTC Sets

    • The ECM does not illuminate the malfunction indicator lamp (MIL).
    • The ECM uses the transmission range data to enable engine cranking.
    • The ECM records the operating conditions when the Conditions for Setting the DTC are met. The ECM stores this information as Failure Records.
    • The ECM stores DTC P0852 in ECM history.

Conditions for Clearing the MIL/DTC

    • The ECM clears the DIC message when the condition no longer exists.
    • A scan tool can clear the DIC/ DTC.
    • The ECM clears the DTC from ECM history if the vehicle completes 40 warm-up cycles without a non-emission-related diagnostic fault occurring.
    • The ECM cancels the DTC default actions when the ignition switch is OFF long enough in order to power down the ECM.

DTC P0852

Step

Action

Value(s)

Yes

No

1

Did you perform the Diagnostic System Check - Vehicle?

--

Go to Step 2

Go to Diagnostic System Check - Vehicle

2

  1. Install a scan tool.
  2. Turn ON the ignition with the engine OFF.
  3. Important: 

       • Record the Failure Records before clearing the DTCs. Using the Clear Info function erases the Failure Records.
       • Using the Clear Info function erases stored DTCs in both the ECM and TCM.

  4. Record the DTC Failure Records.
  5. Clear the DTC.
  6. Did you record TCM Failure Records for DTC U0073, U0100, U0121, or U0140?

--

Go to Diagnostic Trouble Code (DTC) List/Type

Go to Step 3

3

  1. Turn ON the ignition with the engine OFF.
  2. Select Engine Data on the scan tool.
  3. Monitor the PNP Switch display on the scan tool.
  4. Shift the transmission to PARK.

Does the PNP Switch display Park/Neutral?

--

Go to Testing for Intermittent Conditions and Poor Connections

Go to Step 4

4

  1. Disconnect the automatic transmission inline 20-way connector.
  2. Connect the J 45681 jumper harness to the vehicle harness.
  3. Connect a fused jumper from the PNP switch signal circuit to ground.
  4. Monitor the PNP Switch display.

Does the PNP Switch display Park/Neutral?

--

Go to Step 6

Go to Step 5

5

Test the PNP Switch signal circuit for an open between the automatic transmission inline 20-way connector and the ECM. Refer to Testing for Continuity .

Did you find and correct the condition?

--

Go to Step 10

Go to Step 9

6

Test the PNP Switch signal circuit for an open between the automatic transmission inline 20-way connector and the transmission internal mode switch. Refer to Testing for Continuity .

Did you find the condition?

--

Go to Step 7

Go to Step 8

7

Replace the automatic transmission wiring harness.

Refer to Wiring Harness Replacement.

Did you complete the replacement?

--

Go to Step 10

--

8

Replace the transmission internal mode switch.

Refer to Manual Shift Detent Lever with Shaft Position Switch Assembly Removal.

Is the action complete?

--

Go to Step 10

--

9

Replace the ECM.

Refer to Control Module References for replacement, setup and programming.

Is the action complete?

--

Go to Step 10

--

10

Perform the following procedure to verify the repair:

  1. Select DTC.
  2. Select Clear DTC Information.
  3. Turn OFF the ignition for at least 30 seconds.
  4. Start the engine.
  5. Select Specific DTC.
  6. Enter DTC P0852.

Has the test run and passed?

--

Go to Step 11

Go to Step 2

11

With the scan tool, observe the stored information, capture info and DTC info.

Does the scan tool display any DTCs that you have not diagnosed?

--

Go to Diagnostic Trouble Code (DTC) List - Vehicle

System OK