GM Service Manual Online
For 1990-2009 cars only

Right Front In Release Too Long


Object Number: 909938  Size: MF

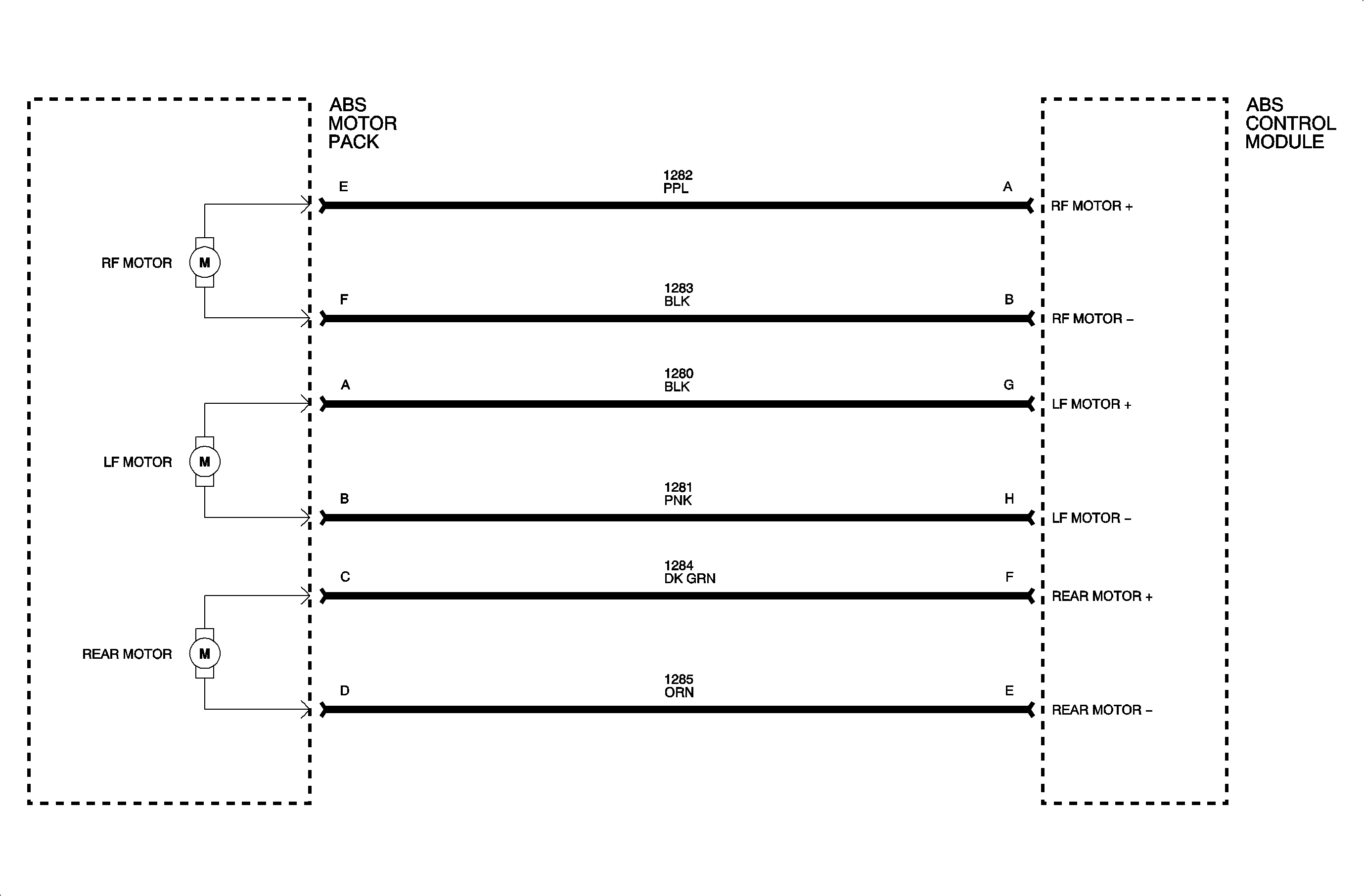
The ABS control module will command a current to any one motor for only three seconds. If the control module reaches this time limit, ABS will be disabled and the antilock telltale lamp will be turned On. The motors will re-home to ensure to ensure that full brakes are available.

Code Parameters

Code 53 sets if:

RF motor in release too long.

This code can only set during ABS braking.

It is possible to set this code in conjuction with code 26 if wheel speed goes to zero while in an ABS stop.

Diagnostic Aids

Check for ABS codes 22 or 26. If present, diagnose these codes first.

This code will set if the ABS system cannot relieve enough brake pressure to allow a wheel to regain speed during an ABS stop or if a mechanical failure has caused a wheel to seize.

Possible causes:

    • Wheel is mechanically frozen
    • Car skids sideways during an ABS stop

Use the service stall system motors and solenoids functional test to check ABS system operation.


Object Number: 911090  Size: FP