GM Service Manual Online
For 1990-2009 cars only

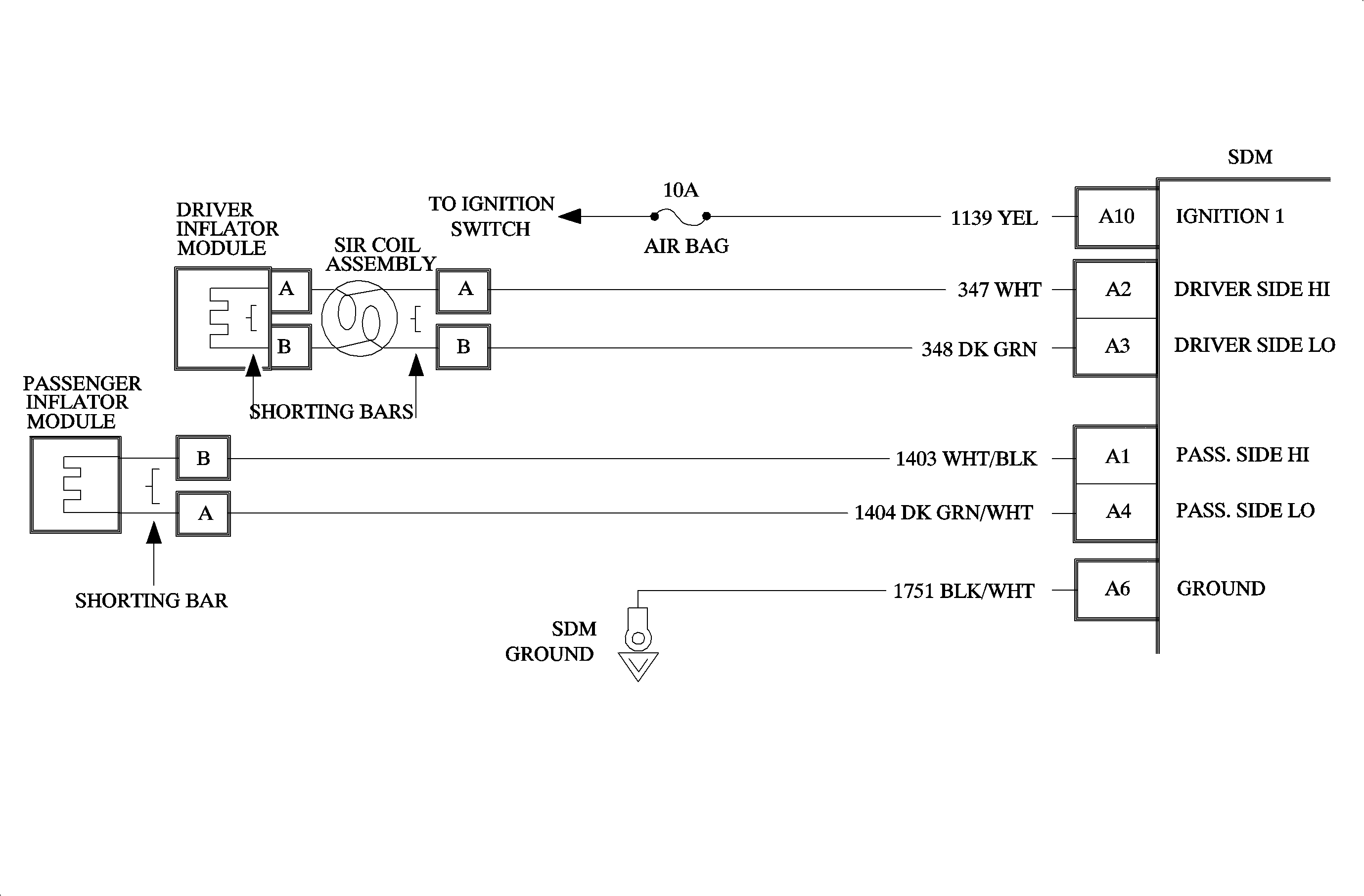
Object Number: 1207177  Size: MF

Circuit Description

When the ignition switch is first turned ON, the SDM will perform tests to diagnose critical malfunctions within itself. Upon passing these tests "Ignition 1", VLR, and deployment loop voltages are measured to ensure they are within their respective normal voltage ranges. Then SDM then proceeds with the "Current Source Diagnostics". "Driver Side LO" terminal A3 is grounded through a resistor and the driver current source connected to "Driver Side HI" terminal A2 allows a known amount of current flow. After "Current Source Diagnostics" are completed the SDM removes the low resistance ground from "Driver Side LO" and switches the driver current source at "Driver Side HI". The SDM then measures the voltage at "Drivers Side HI" and "Drivers Side LO" during "Continuous Monitoring." By monitoring the voltage difference between "Driver Side HI" and "Driver Side LO" the SDM calculates the combined resistance of the SIR coil assembly, driver inflator module harness wiring circuits 347 and 348 and connector terminal contact.

DTC Will Set When

The combined resistance of the SIR coil assembly, driver inflator module harness wiring circuits 347 and 348 and connector terminal contact is greater than 500 ohms for 500 milliseconds during "Current Source Diagnostics" or "Continuous Monitoring".

    • No "higher priority faults" are detected during "Turn-On."
    • No "higher priority faults" are detected during "Continuous Monitoring."
    • "ignition 1" voltage is above a specified value.

Action Taken

SDM turns ON the AIR BAG telltale lamp and sets, DTC B1026. DTC B1026 will take precedence over DTCs B1015, B1016, B1018, B1021, B1022, and B1024.

DTC Will Clear When

The voltage difference between "Driver Side HI" terminal A2 and "Driver Side LO" terminal A3 is less than 100 ohms for 500 milliseconds during "Continuous Monitoring".

Diagnostic Aids

An intermittent condition is likely to be caused by a poor connection at the driver inflator module terminals A and B, SIR coil assembly terminals A and B, SDM terminals A2 and A3 or an open in circuit 347 or 348

When measurements are requested in this chart use SA 91114NE DVM with correct terminal adapter from SA 9206Z. When a check for proper connection is requested refer to Intermittent and Poor Connections. When a wire connector or terminal repair is requested, use the proper repair parts and refer to Wiring Repairs .

DTC Chart Test Description

The numbers below refer to the step numbers on the diagnostic table.

  1. This test determines whether the malfunction is occurring in the driver inflator module circuitry or the SDM wiring harness circuitry.

  2. This test checks whether the malfunction is due to high resistance in circuit 347.

  3. This test checks whether the malfunction is in the driver inflator module or the SIR coil assembly.

  4. This test checks whether the malfunction is due to high resistance in circuit 348.

Step

Action

Yes

No

1

Did you perform the Diagnostic System Check - SIR?

Go to Step 2

Go to SIR Diagnostic System Check

2

  1. Turn OFF ignition.
  2. Disconnect the driver and passenger inflator module, yellow two-way connectors located at the base of the steering column and under the I/P top cover.
  3. Check for proper connection to SIR soil assembly connector at terminals A and B.
  4. If not OK, repair and go to Step 10
  5. If OK, then connect SA 9409Z-A SIR driver/passenger load tool to driver and passenger inflator module harness connectors.
  6. Turn ON ignition.

Is DTC B1026 current?

Go to Step 3

Go to Step 4

3

  1. Turn OFF ignition.
  2. Disconnect SIR driver/passenger load tool.
  3. Disconnect SDM.
  4. Check for proper connection to SDM at terminals A2 and A3.
  5. If not ok, repair and go to Step 10
  6. If OK, then measure resistance from SDM harness connector terminal A2 to driver inflator module harness connector terminal A at the base of the steering column.

Is resistance 1 ohm or less?

Go to Step 5

Go to Step 6

4

  1. Turn OFF ignition.
  2. Disconnect SIR driver/passenger load tool from driver inflator module harness connector.
  3. Remove inflator module from steering wheel. Refer to Inflatable Restraint Steering Wheel Module Replacement .
  4. Check for proper connection at driver inflator module.
  5. If not OK, repair and go to Step 10
  6. If OK, connect SIR driver/passenger load tool to inflator module connector on SIR coil assembly.
  7. Reconnect driver inflator module harness connector at the base of the steering column.
  8. Turn ON ignition.

Is DTC B1026 present?

Go to Step 7

Go to Step 8

5

Measure resistance from SDM harness connector terminal A3 to driver inflator module harness connector terminal B at base of steering column.

Is voltage 1 ohm or less?

Go to Chart A

Go to Step 9

6

Repair high resistance or open in circuit 347.

Go to step 10

--

--

7

  1. Turn OFF ignition.
  2. Replace SIR coil assembly. Refer to SIR Coil Assembly.

Go to Step 10

--

--

8

  1. Turn OFF ignition.
  2. Replace driver inflator module. Refer to Driver Inflator Module.

Go to Step 10

--

--

9

Repair high resistance or open in circuit 348.

Got to Step 10

--

--

10

  1. Reconnect all SIR system components. Ensure all components are properly mounted.
  2. Clear SIR diagnostic trouble codes.
  3. Repeat SIR Diagnostic System Check.

--

--