GM Service Manual Online
For 1990-2009 cars only

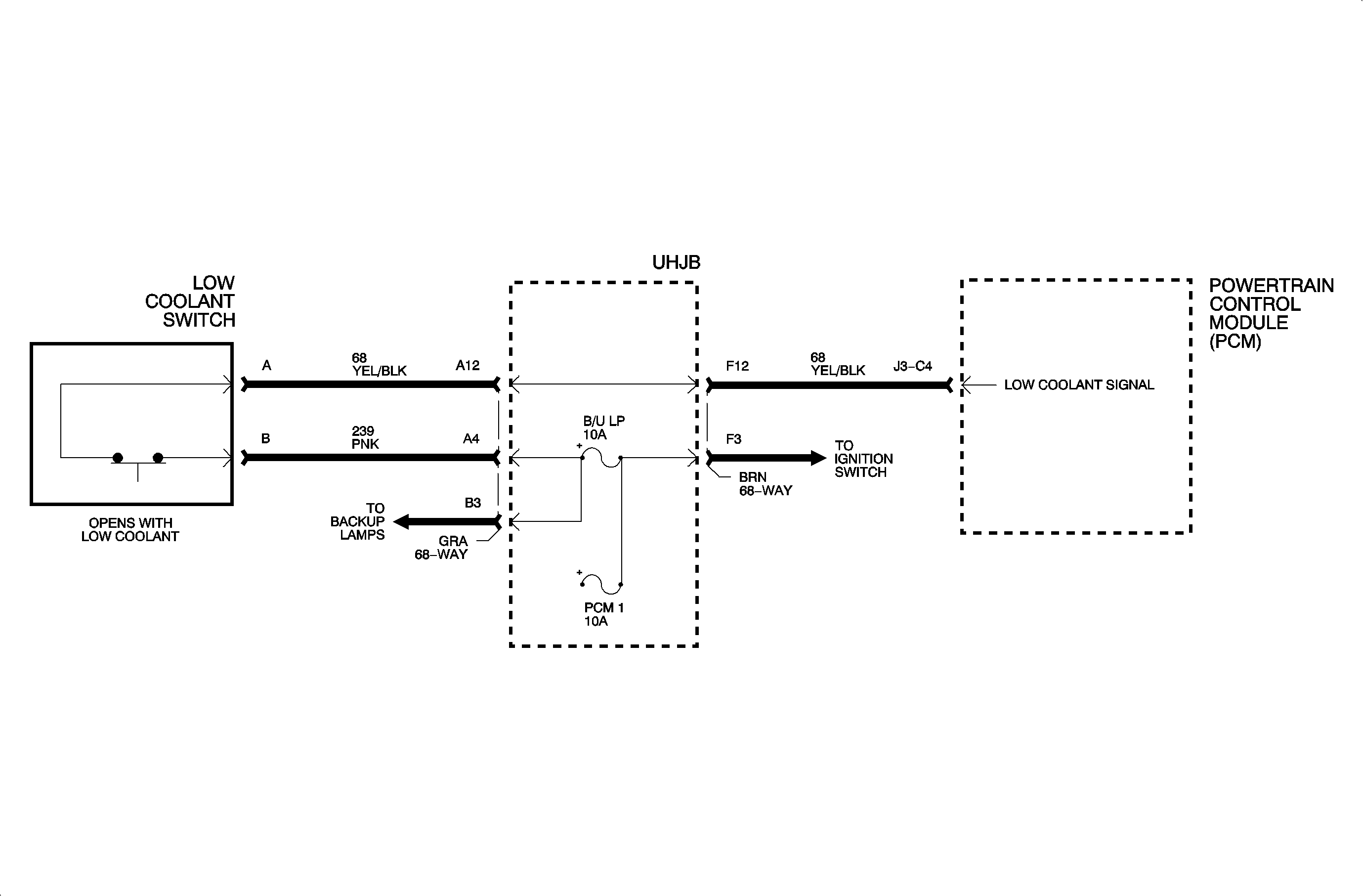
Circuit Description


Object Number: 899675  Size: MF

The PCM monitors the 12 volt signal from the low coolant switch. When the switch opens, indicating a low coolant condition, the PCM will not detect the 12 volt signal.

Conditions for Setting the DTC

Important: The low coolant circuit is continuously checked when the engine is running.

DTC P1620 will set if the coolant switch opens, low signal, for 20 seconds with the engine running.

Diagnostic Aids

    • DTC P1620 will set during cooling fan run-on. In high coolant temperature conditions, the cooling fan stays on up to 4 minutes after the ignition is turned OFF. To verify this condition, observe IGN volts in the DTC P1620 failure record. If IGN volts is less than 2 volts, the DTC was caused by cooling fan run-on. DTC P1620 should be cleared and the vehicle returned to the customer.
    • The low coolant switch is located in the coolant recovery tank and is a normally closed switch when the coolant bottle is at the proper level.
    • Pressure check the system for leaks. Refer to the Engine Cooling section of the Engine/Fuel/Air Intake/Exhaust Service Manual.
    • The switch is normally closed when the coolant bottle is full.
    • The low coolant/hot light will flash when the coolant switch is open.

Object Number: 899825  Size: FP