GM Service Manual Online
For 1990-2009 cars only

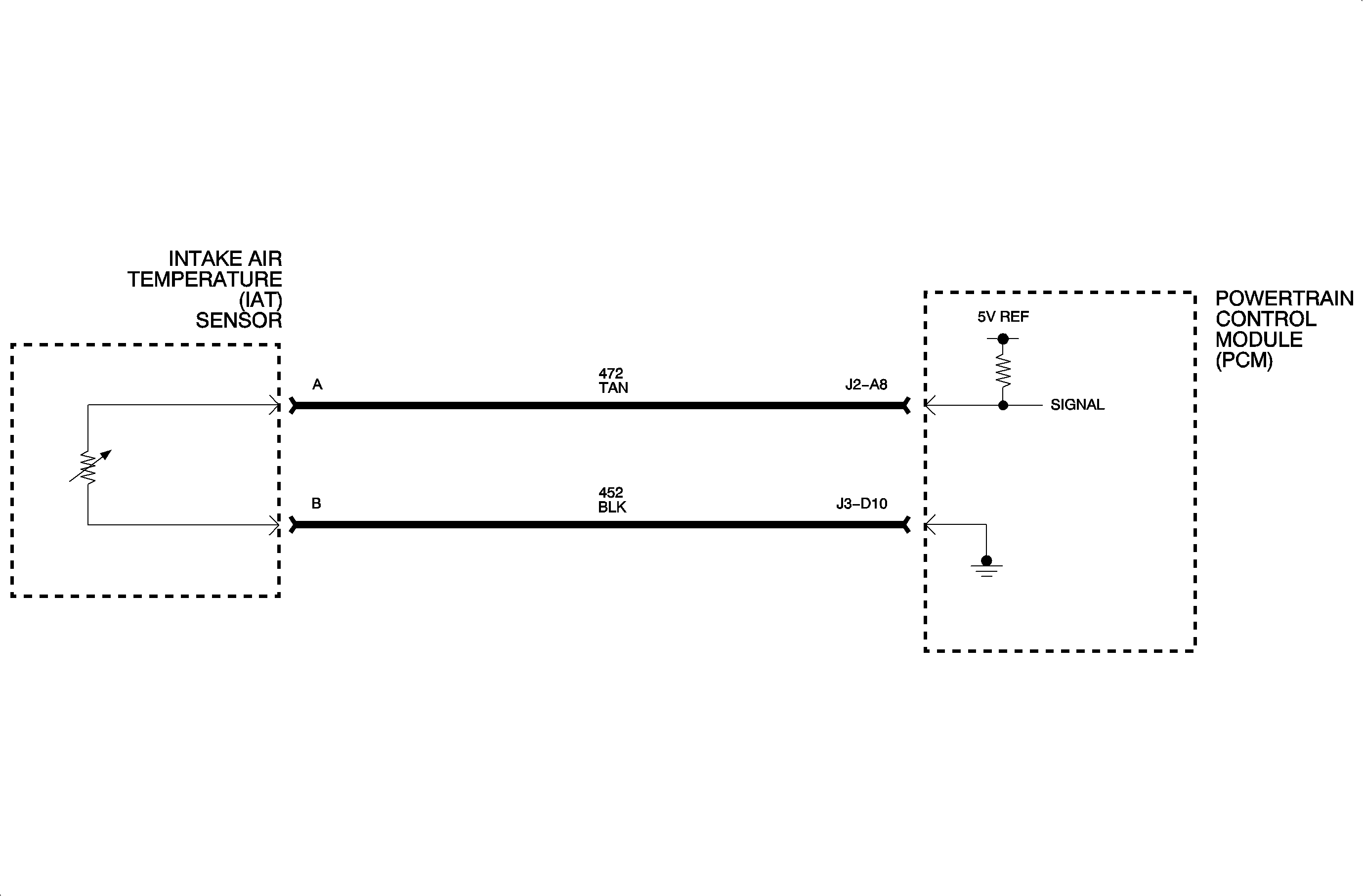
Circuit Description


Object Number: 899624  Size: MF

The intake air temperature (IAT) sensor is a thermistor located in the air intake passage of the air induction system on the engine. When the sensor is cold, it has a high resistance. The resistance decreases as the temperature of the sensor increases. The PCM supplies a 5 volt signal to the sensor which is also connected to ground. The PCM reads the voltage drop on the sensor signal line to determine air temperature.

Conditions for Setting the DTC

Important: The IAT signal is continuously checked when the ignition is ON.

DTC P0112 will set if the IAT reading is over 125°C (257°F) when:

    • The engine run time is greater than 10 seconds.
    • VSS is present.
    • Air flow is less than 16 gm/second.
    • No VSS or ECT DTCs have been set.

DTC P0112 will set if conditions are met for about 6 seconds.

Diagnostic Aids

Refer to description and operation in this manual for the Temperature vs. Resistance chart.

IAT temperature may be compared to ECT temperature with a scan tool if the engine has cooled overnight at ambient temperature. They should be within 4 degrees of each other with the ignition ON and the engine OFF.


Object Number: 899686  Size: FP