GM Service Manual Online
For 1990-2009 cars only

Circuit Description


Object Number: 899834  Size: MF

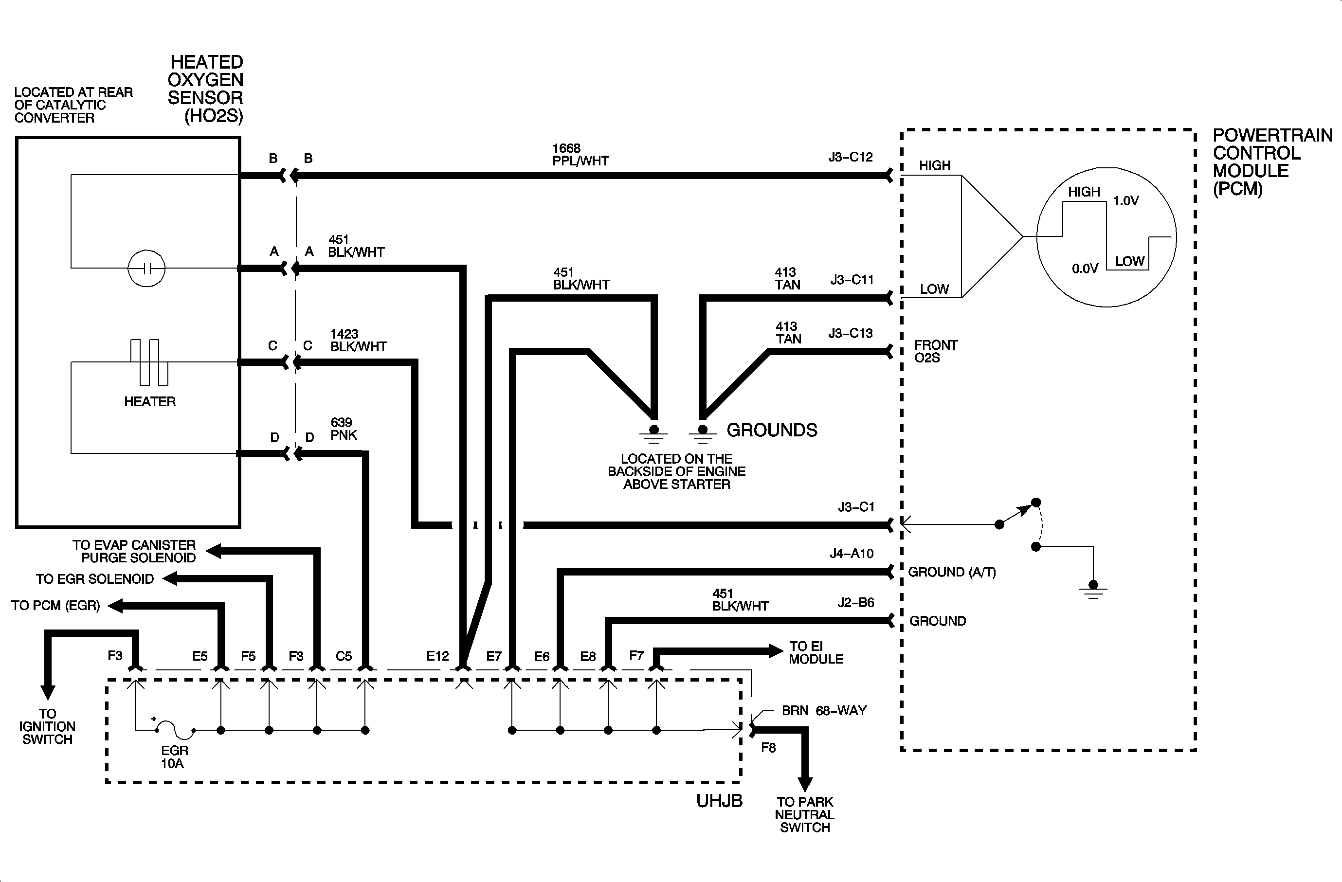
The heated oxygen sensor (HO2S) consists of a zirconia electrolyte between 2 platinum plates. When the sensor reaches approximately 318°C (600°F), it becomes an electrical source that responds to the oxygen content in the exhaust. The PCM produces a bias voltage of approximately 450 millivolts on the oxygen sensor circuit. When the sensor is cold, its internal resistance is extremely high, therefore the PCM recognizes the bias as an open circuit. As the sensor warms up, the internal resistance decreases. When the sensor reaches approximately 318°C (600°F), it starts producing a voltage based on the oxygen content in the exhaust stream.

Conditions for Setting the DTC

Important: The HO2S signal is continuously checked once the above conditions have been met for 0.5 seconds.

The DTC will set if the HO2S voltage is greater than 1.065 volts for 100 seconds

OR

HO2S voltage is greater than 587 mV in decel fuel cut-off (DFCO) mode for 30 seconds when:

    • The system is in closed loop.
    • No other engine sensor or misfire DTCs have been set.
    • The commanded A/F ratio is approximately 14.7:1.

Diagnostic Aids

Important: Do not apply grease or any material in the HO2S connector or alter the wiring in any way. The wires carry reference air to the sensor used to determine the difference in oxygen from the exhaust gas to the atmosphere.

If a front O2S DTC and a rear HO2S DTC are set, diagnose the front O2S circuit first. A diagnosed front O2S DTC may lead to a mechanical or fuel system failure which set the rear HO2S DTC.


Object Number: 899966  Size: FP