GM Service Manual Online
For 1990-2009 cars only

Object Number: 863572  Size: MF

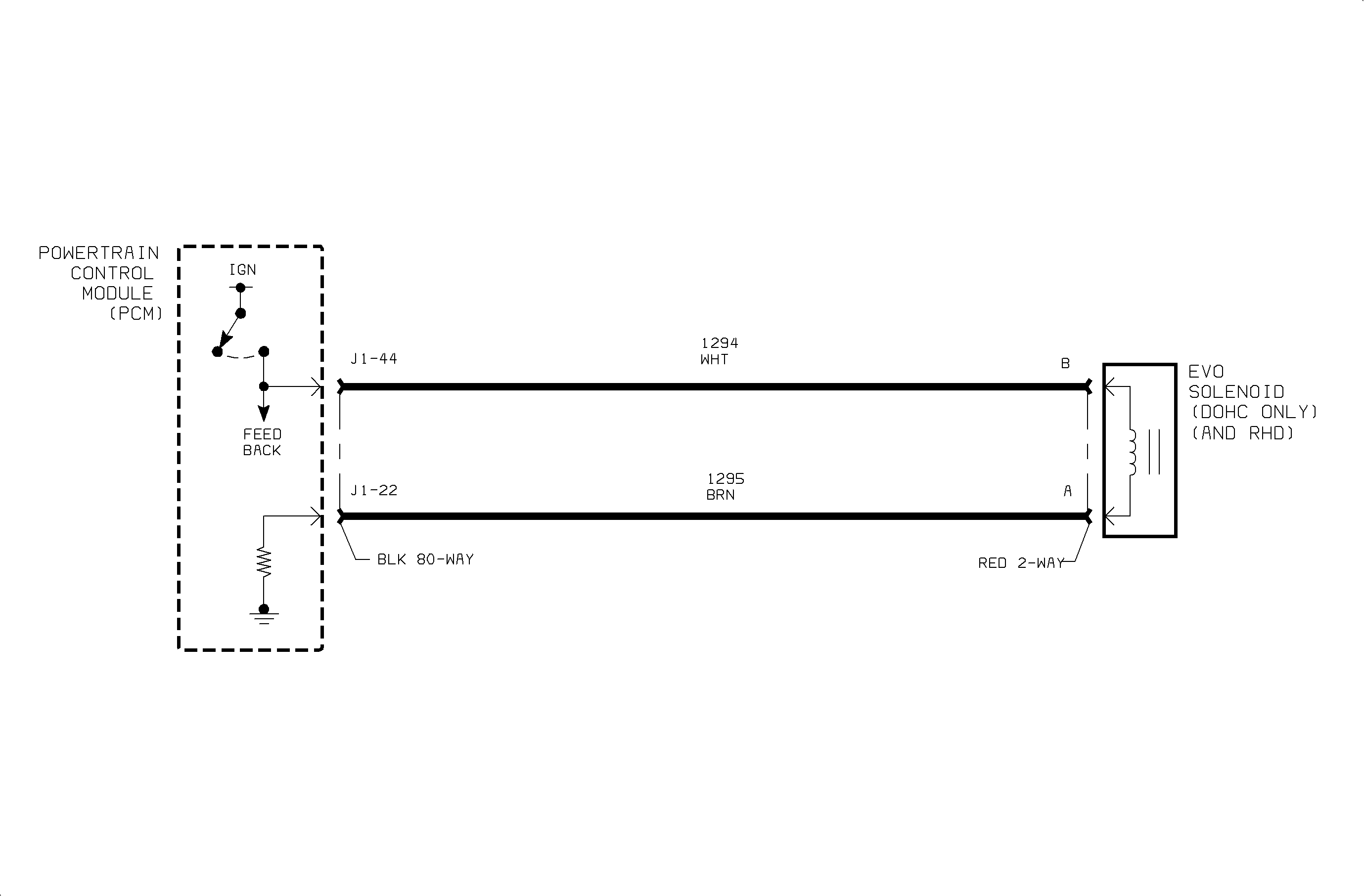
The electronic variable orifice (EVO) on DOHC engines varies the power steering pressure flow from the power steering pump. The PCM controls the steering assist solenoid by pulse width modulating (PWM) ignition voltage to the solenoid. The low side of the steering assist solenoid is tied directly to a low resistance resistor, which is tied directly to ground in the PCM. The PCM monitors the steering assist solenoid circuit for low and high voltage faults at all times (Off, On and PWM). DTC P0637 sets when the steering assist solenoid is commanded Off or commanded to PWM (Off-time only) and the feedback voltage at the PCM is high.

DTC Parameters

DTC P0637 will set if the steering assist solenoid voltage is greater than 3.5 volts when steering assist solenoid is commanded Off.

DTC P0637 diagnostic runs continuously with ignition On and steering assist solenoid commanded Off.

DTC P0637 is a type D DTC.

Diagnostic Aids

To locate an intermittent problem, use Scan tool to command STEERING ASSIST SOLENOID Off (Full Assist), while monitoring the STEERING SOL. - OPEN or STEERING SOL. - HIGH VOLT test. When a fault (open or short to voltage) exists, the Scan tool will display TEST FAIL for both tests.

The test will fail only when the device is being commanded Off and the voltage at the PCM is high. The test updates every 100 ms whenever the ignition is turned On and the device is being commanded Off via the Scan tool or PCM.

Steering assist solenoid resistance: 8-12 ohms.


Object Number: 874740  Size: FP