GM Service Manual Online
For 1990-2009 cars only

DTC P0747 - PC Solenoid Control Circuit High Voltage


Object Number: 870972  Size: MF

Circuit Description

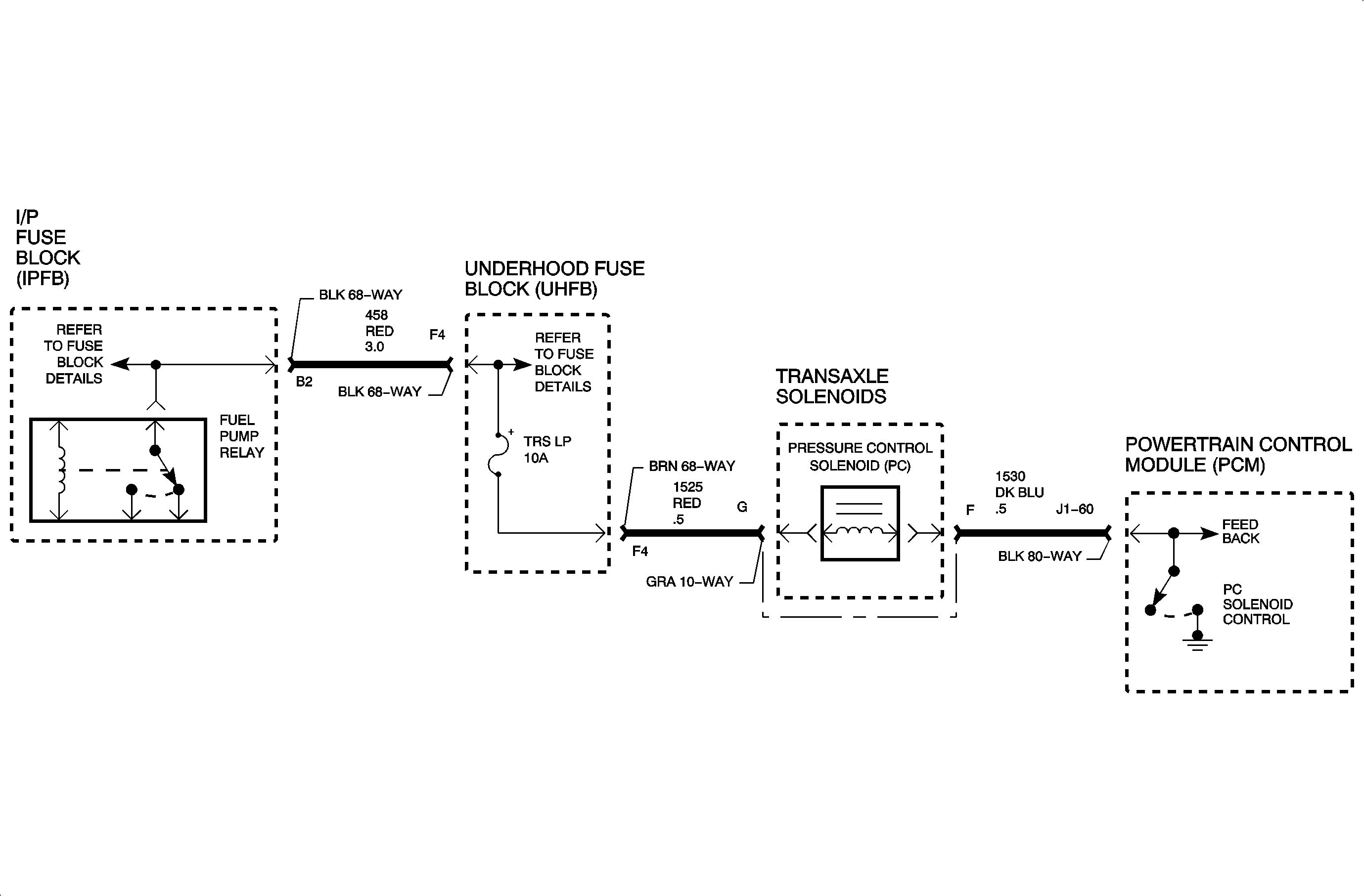
The pressure control (PC) solenoid is used to control main line pressure to the transaxle hydraulic system. The powertrain control module (PCM) pulse width modulates (PWM) the PC solenoid whenever the engine is running. The PCM controls the PC solenoid by pulse width modulating an internal driver that pulls the solenoid circuit to ground. When the PC solenoid is commanded Off, main line pressure is highest. During normal shift operation, the PCM will turn ON or OFF the 2, 3 or 4 shift solenoids and PWM the PC solenoid to prevent clutch slip and harsh shifts. The PC solenoid circuit is monitored for low and high voltage faults. DTC P0747 sets when the PC solenoid is commanded ON, PWM On-time, and the feedback voltage at the PCM is high.

DTC Parameters

DTC P0747 will set if PC solenoid feedback voltage is greater than 1.25 volts with PC solenoid commanded ON when:

    • The condition exists for longer than 100 milliseconds (2001)*.
    • The condition exists for longer than 100 milliseconds, solenoid is turned OFF for 1 minute, then condition exists again for longer than 100 milliseconds (2000).
    • The fuel pump relay is commanded ON.

DTC P0747 diagnostic runs continuously with fuel pump relay and PC solenoid commanded ON.

DTC P0747 is a type D DTC.

*Applicable to vehicles built after June 2000.

Diagnostic Aids

To locate an intermittent problem, start engine with transaxle in Park and use scan tool to monitor the PC SOLENOID - HIGH VOLT test. When a fault, short to voltage or shorted solenoid exists, the scan tool will display TEST FAIL.

The test will fail only when the device is being commanded ON and the voltage at the PCM is high. The test updates every 100 milliseconds whenever the ignition is turned ON and the device is being commanded ON via the scan tool or PCM.

If a short across the solenoid or a short to voltage on circuit 1530 exists, the PCM will open the driver circuit for protection and the feedback voltage will be high.

PC solenoid resistance: 3.8-7.2 ohms

Nominal value: 4.5 ohms at 68°F


Object Number: 875485  Size: FP