GM Service Manual Online
For 1990-2009 cars only

Circuit Description


Object Number: 1209029  Size: MF

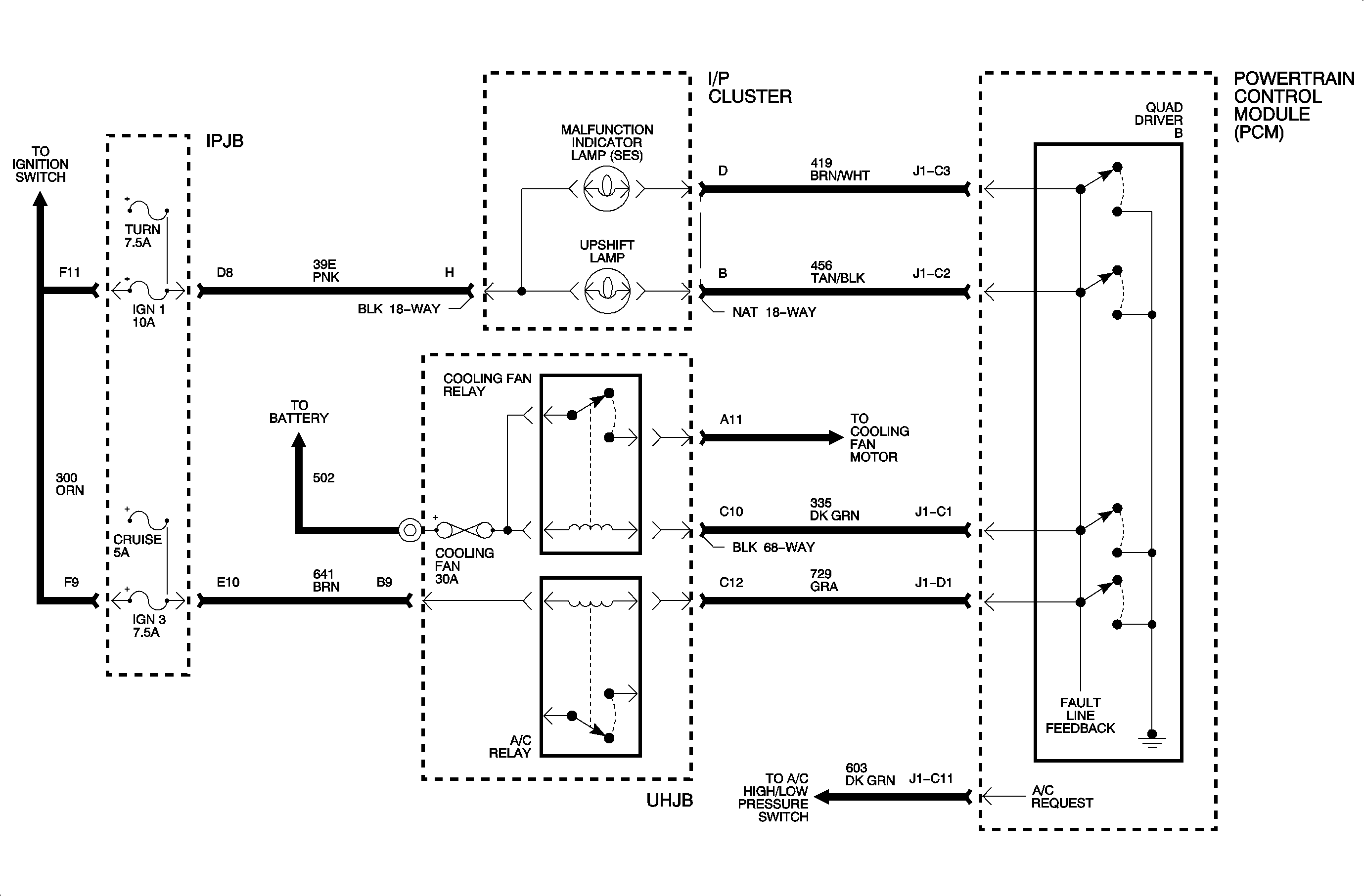
A quad driver module (QDM) is an electronic switch which completes a ground circuit when switching ON. The QDM independently controls 4 separate outputs. A load is connected between battery voltage and the QDM allowing the QDM driver to control the output. Each QDM has fault detection logic which compares QDM driver input and output voltages. The logic expects to measure less than 3 volts when the QDM driver is ON and greater than 7 volts when OFF. The QDM has only one fault line that will detect a fault on any of the 4 outputs. The scan tool can be used to cycle the outputs ON or OFF. The scan tool can also perform an automated test which can isolate the faulty circuit.

Conditions for Setting the DTC

DTC P01650 and/or P1651 will set if:

    • There is an open, short to ground or short to voltage on any of the QDM output circuits
    • MIL (SERVICE ENGINE SOON) telltale circuit
    • Upshift lamp circuit
    • Cooling fan relay circuit
    • A/C relay circuit
    • Fault detected for 5 seconds for DTC P1651. Fault detected for 20 seconds for DTC P1650.

Important: The QDM circuit is continuously checked when the engine is running.

Diagnostic Aids

    • If one output is bad, the PCM will shut down only that QDM output and not the entire quad driver unless the quad driver reaches its thermal limit, short to voltage. At this time it will turn all 4 quad driver outputs OFF. When the quad driver cools down it will turn back ON and this process will start over.
    • A shorted or open circuit or bulb an cause a DTC P1640 or P1641 to set.

Check the tightness of the female terminal with a spare male terminal.

Use the Saturn service stall system, if available, to diagnose the quad driver circuits or use a scan tool and perform an off-board QDM test.

For example, if the SERVICE telltale lamp is OFF, the PCM expects to refer to 12 volts on the circuit. If the circuit is open, 0 volts will be measured on the circuit and the fault will be displayed. However, if the lamp is turned ON the PCM expects to measure 0 volts on the circuit and will not detect a fault. This causes an intermittent problem because the lamp is not continuously ON.


Object Number: 901561  Size: FP

Object Number: 901579  Size: FP

Object Number: 901593  Size: FP

Object Number: 901601  Size: FP

Object Number: 901606  Size: FP