GM Service Manual Online
For 1990-2009 cars only

Transmission ID and VIN Derivative Location Corvette T56 and 4L60E


Object Number: 65506  Size: SH

All engines and transmissions, as well as removable roof panels are stamped or laser etched with a partial Vehicle Identification Number (VIN), which was derived from the complete VIN. A VIN derivative contains the following nine positions:

    • Position 1 is the GM division identifier.
        1 = Chevrolet
    • Position 2 is the model year code.
         V = 1997
    • Position 3 is the assembly plant code.
        5 = Bowling Green, KY
    • Positions 4-9 contain the assembly plant sequential number for the vehicle.

A VIN derivative can be used to determine if a vehicle contains the original engine, transmission or removable roof panel, by matching the VIN derivative positions to their accompanying positions in the complete VIN:

    • VIN derivative position 1 = VIN position 3
    • VIN derivative position 2 = VIN position 10
    • VIN derivative position 3 = VIN position 11
    • VIN derivative positions 4-9 = VIN positions 12-17

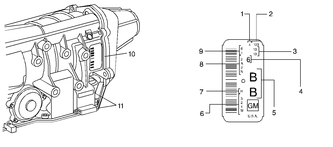
Borg Warner T-56 Manual Transmission


Object Number: 65529  Size: SH

The 6-speed manual transmission, the Borg Warner T-56 (RPO MM6), is stamped with a VIN derivative on the LH side of the transmission case.

Hydra-Matic 4L60E Automatic Transmission

The 4-speed overdrive automatic transmission, the Hydra-Matic 4L60-E (RPO M30), is stamped or laser etched with a transmission identification number and a VIN derivative.


Object Number: 65508  Size: SF

The transmission identification number provides the transmission model and when it was built. The transmission ID number is located on the bottom of the case just rear of the oil pan.

VIN Location


Object Number: 65542  Size: SF
(1)VIN Derivative Optional Location LH
(2)VIN Derivative Primary Location
(3)VIN Derivative Optional Location RH
(4)VIN Derivative Optional Location RH

The VIN derivative will be placed in one of four locations illustrated.

Transmission ID and VIN Derivative Location 4L60E


Object Number: 130909  Size: LF
(1)(8 = 1998)
(2)Hydra-Matic 4L60-E
(4)Julian Date (or Day of the Year)
(5)Shift Built (A, B, J = First Shift; C, H, W = Second Shift)
(6)Model
(7)Transmission ID Location
(8)Hydra-Matic 4L60-E
(9)Julian Date (or Day of the Year)
(10)Serial No.
(11)Shift Built (A, B, J = First Shift; C, H, W = Second Shift)
(12)Model
(13)(8 = 1998)
(14)Transmission ID Location

Transmission ID and VIN Derivative Location 4T80E


Object Number: 25429  Size: SF
(1)Calendar Year
(2)Julian Date of the Year
(3)Shift and Line Number
(4)Calendar Year
(5)Model
(6)Serial Number in Base Code 31
(7)Plant
(8)Broadcast Date
(9)Transaxle
(10)Transaxle I.D. Tag Location
(11)Transaxle Partial Vin Location

Transmission ID and VIN Derivative Location 4L80E

Transmission ID and VIN Derivative Location 4T60E/4T65E-HD

Transmission ID and VIN Derivative Location 4T60-E/4T65-E


Object Number: 219825  Size: LH
(1)Goodwrench® Tag Location
(2)Year
(3)Not Used
(4)Remanufacturing Site Code
(5)Serial Number
(6)Julian Date
(7)Year Remanufactured
(8)Model
(9)Transmission Identification Plate Location
(10)Model Year
(11)Line Build
(12)GM Production Code
(13)Julian Date
(14)Shift
(15)Model
(16)Serial Number in Base Code 31
(17)W = Warren Assembly Plant
(18)4T65-E
(19)Model
(20)Vehicle Identification Number (VIN) Derivative Stamping Location

All automatic transmissions have a metal identification (ID) nameplate (9) attached to the case exterior.

Transmission VIN Location 4T65-E, M15/MN3/MN7


Object Number: 741436  Size: SH

The primary (1) and secondary (2) Manual Tooling VIN Derivative Locations are on the casting of the transmission housing.

Transaxle VIN Derivative Stamping


Object Number: 596431  Size: SH

The location for the Semi-Automatic VIN derivative (1) is on the transmission housing.

Transmission ID and VIN Derivative Location 4T40E


Object Number: 183072  Size: SH

All automatic transmissions have a metal identification (ID) nameplate (1) attached to the case exterior.


Object Number: 183199  Size: MH
(1)Transaxle
(1)Transaxle
(2)Calendar Year
(2)Calendar Year
(3)Julian Date or Day of the Year
(3)Julian Date or Day of the Year
(4)Shift (A=First Shift, B=Second Shift, C=Third Shift)
(5)Model
(6)Serial Number in Base Code 31
(7)Plant
(8)Hydramatic 4T40 E
(9)Serial Number
(10)Model
(10)Model
(11)Model Year
(11)Model Year
(12)Control Number
(13)Line Built (1=Line 1, 2=Line 2, 3=Line 3, 4=Line 4)

Transmission ID and VIN Derivative Location 3T40


Object Number: 25703  Size: SF
(1)Windsor, Canada
(2)Calendar Year (6 = 1996)
(3)Julian Date
(4)Model Year (6 = 1996)
(5)No Meaning
(6)Model
(7)Shift Built (A = First Shift; B = Second Shift; C = Third Shift)
(8)Calendar Year (6 = 1996)
(9)Model Year (96 = 1996)
(10)Model
(11)Serial Number
(12)Julian Date
(13)Transmission ID Location
(14)VIN Location