GM Service Manual Online
For 1990-2009 cars only

Seat Belt Latch Falls to the Floor or is Difficult to Retrieve

Subject:Seat Belt Latch Falls to the Floor or is Difficult to Retrieve -- Install a New Replacement Seat Belt Stow Button Kit

Models:1996-2002 Saturn S-Series Sedans (Rear Belt) 1997-2002 Saturn S-Series Coupes (Front and Rear Belts) 1999-2002 Saturn S-Series Sedans and Wagons (Front Belts) 1999-2002 Saturn S-Series Wagons (Rear Belts)



Condition:

Some customers may comment that the seat belt latch falls to the floor or is difficult to retrieve when putting on the seat belt.

Cause:

This condition may be due to a missing seat belt stow button.

Correction:

Refer to the procedures in this bulletin to install the seat belt stow button kit replacement parts.

Procedures:

Front Seat Belt Stow Button Replacement


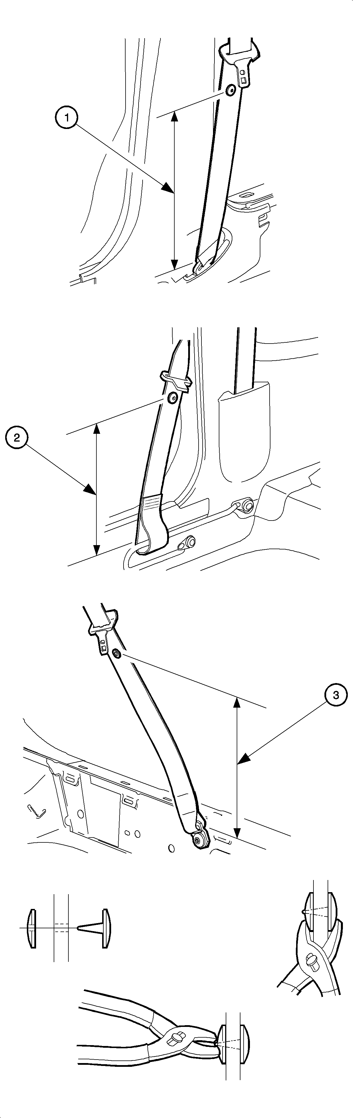
    Object Number: 880141  Size: FH

    Important: If the original seat belt stow button hole is visible, reuse this hole for the replacement button and proceed to step 3.

  1. Measure the specified distance up from the base of the seat belt webbing, located where the webbing goes through the anchor point at the floor attachment point (slide the bar on coupe models). Refer to the illustration on this page and the callouts below.
  2. 1.1. For 1999-2002 Saturn S-Series Sedans and Wagons, measure 470 mm (18.5 in).
    1.2. For 1997-2002 Saturn S-Series Coupes except left side 3 Door (RAD) Coupes, measure 470 mm (18.5 in).
    1.3. For 1999-2002 Saturn S-Series 3 Door (RAD) Coupes (left side), measure 533 mm (21.0 in)
  3. Mark the location from step 1 in the center of the seat belt webbing width with a pencil. Make the mark small and as close to the center of the seat belt webbing as possible so the button will cover up the mark.
  4. Position the latch plate above the mark or original hole location.
  5. Important: Make sure the smooth side of the seat belt stow button is on the side of the webbing that faces the vehicle interior when the belt is stowed and not twisted.

  6. Install the female half of the button to the male half, and snap the 2 halves together using a air of pliers.
  7. Important: Do not cover the center point of the button with the pliers while pinching the halves together.

  8. Using small pliers, break off the stem point of the button. Verify a clean smooth break of the stem.

Rear Seat Belt Stow Button Replacement


    Object Number: 880142  Size: FH

    Important: If the original seat belt stow button hole is visible, reuse this hole for the replacement button and proceed to step 3.

    Important: Make sure the seat belt is in the stowed position with the webbing completely retracted before performing the measurement in step 1.

  1. Measure the specified distance down the seat belt webbing from the point where the rear seat belt comes out of the rear trim molding. Refer to the illustration on this page and the callouts below.
  2. 1.1. For 1996-02002 Saturn S-Series Sedans, measure 500 mm (19.7 in).
    1.2. For 1997-2002 Saturn S-Series Coupes, measure 240 mm (9.4 in).
    1.3. For 1999-2002 Saturn S-Series Wagons, measure 475 mm (18.7 in).
  3. Mark the location from step 1 in the center of the seat belt webbing width with a pencil. Make the mark small and as close to the center of the seat belt webbing as possible so the button will cover up the mark.
  4. Position the latch plate above the mark or original hole location.
  5. Important: Make sure the smooth side of the seat belt stow button is on the side of the belt that contacts the occupant when the belt is properly worn.

  6. Push the male half of the seat belt stow button through the seat belt webbing starting on the side of the webbing that faces the vehicle interior when the belt is stowed and not twisted.
  7. Install the female half of the button to the male half and snap the 2 halves together using a pair of pliers.
  8. Important: Do not cover the center point of the button with pliers while pinching the halves together.

  9. Using small pliers, break off the stem point of the button. Verify a clean, smooth break of the stem.

Parts Requirements:

Part Number

Color

Description

21054151

MD BISC

Button Kit-RR/Seat Belt Stow (1996 Models)

21306071

EBONY

Button Kit-FRT and RR/Seat Belt Stow (1997 to 2002 Models)

21306072

MD WM. GRAY

Button Kit-FRTand RR/Seat Belt Stow (1996 to 2002 Models)

21306073

MD BISC II

Button Kit-FRT and RR/Seat Belt Stow (1997 to 2002 Models)

Claim Information: To receive credit for this repair during the warranty coverage period, submit a claim through the Saturn Dealer System for C9098 (Button, Seat Belt Stow -- Replace).