GM Service Manual Online
For 1990-2009 cars only

DTC P1640 and/or P1641 QDM Module A

Circuit Description


Object Number: 900448  Size: MF

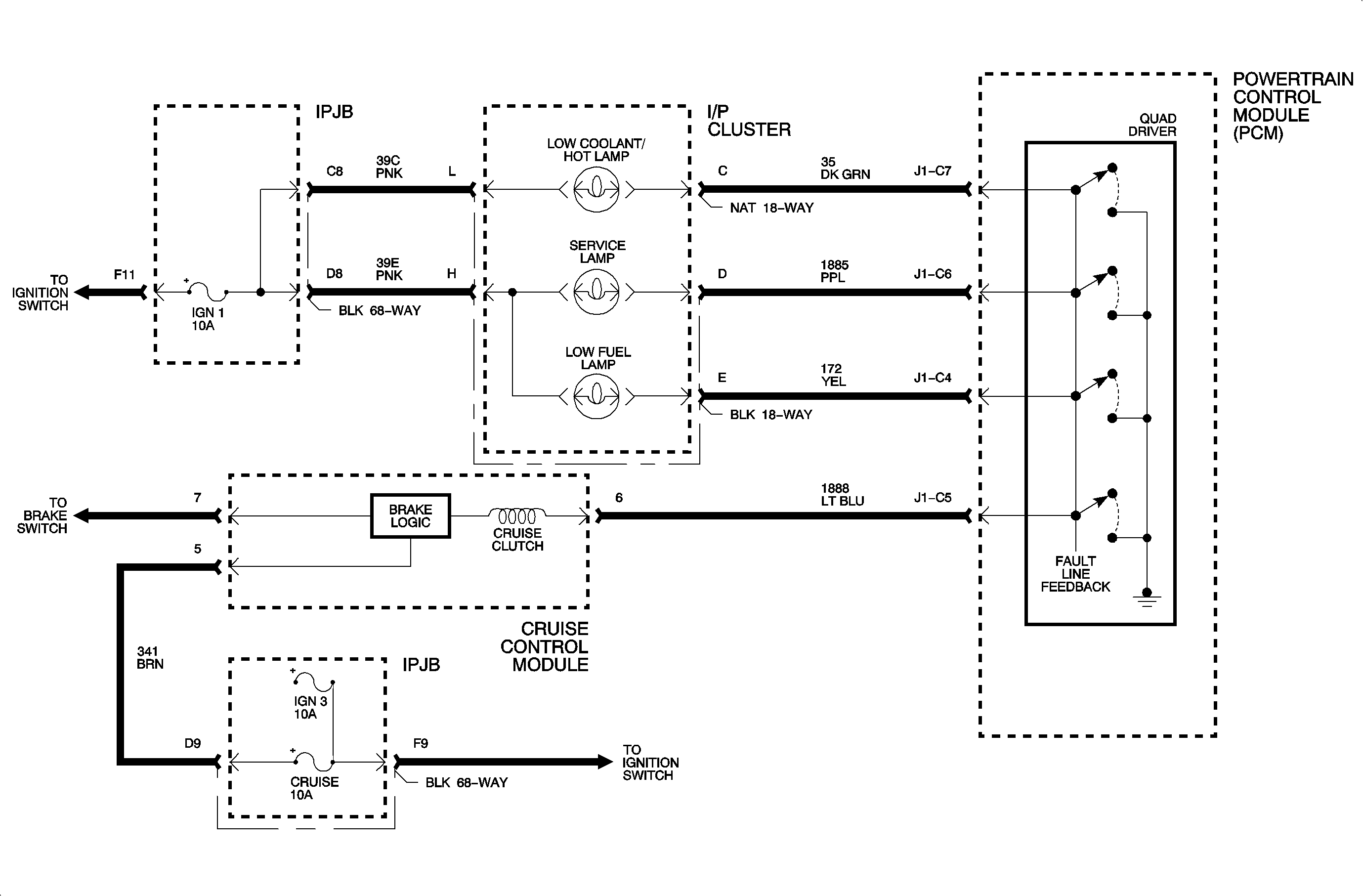
A quad driver module (QDM) is an electronic switch which completes a ground circuit when switched ON. The QDM independently controls 4 separate outputs. A load is connected between battery voltage and the QDM, allowing the QDM driver to control the output. Each QDM has fault detection logic which compares QDM driver input and output voltages. The logic expects to measure less than 3 volts when the QDM driver is ON and greater than 7 volts when OFF. The QDM has only 1 fault line that will detect a fault on any of the 4 outputs. The scan tool can be used to cycle the outputs ON or OFF. The scan tool can also perform an automated test which can isolate the faulty circuit.

Conditions for Setting the DTC

Important: The QDM circuit is continuously checked when the engine is running.

DTC P1640 and/or P1641 will set if:

    • There is an open, short to ground, or short to voltage on any of the QDM output circuits.
    • SERVICE telltale lamp circuit
    • Low coolant/hot telltale lamp circuit
    • Cruise clutch circuit
    • A fault is detected for 5 seconds for DTC P1641.
    • A fault is detected for 20 seconds for DTC P1640.

Diagnostic Aids

    • If 1 output is faulty, the PCM will shut down only that QDM output and not the entire quad driver unless the quad driver reaches its thermal limit, short to voltage. At this time it will turn all 4 quad driver outputs OFF. When the quad driver cools down it will turn back ON and this process will start over.
    • A shorted or open circuit or bulb can cause a DTC P1640 and/or P1641 to set.

Use the scan tool to diagnose the quad driver circuits and perform an off-board QDM test.

When viewing QDM fault, using a scan tool dynamic display or MIL telltale, you may notice the fault appears to be intermittent. This may be due to an intermittent fault, but more likely it is due to the way the fault detection works.

For example, if the SERVICE telltale lamp is OFF, the PCM expects to refer to 12 volts on the circuit. If the circuit is open, 0 volts will be measured on the circuit and the fault will be displayed. However, if the lamp is turned ON, the PCM expects to measure 0 volts on the circuit and will not detect a fault. This causes an intermittent problem because the lamp is not continuously ON.


Object Number: 901845  Size: FP

DTC P1640 and/or P1641 QDM Module A - Service Lamp

Circuit Description


Object Number: 900448  Size: MF

A quad driver module (QDM) is an electronic switch which completes a ground circuit when switched ON. The QDM independently controls 4 separate outputs. A load is connected between battery voltage and the QDM allowing the QDM driver to control the output. Each QDM has fault detection logic which compares QDM driver input and output voltages. The logic expects to measure less than 3 volts when the QDM driver is ON and greater than 7 volts when OFF. The QDM has only 1 fault line that will detect a fault on any of the 4 outputs. The scan tool can be used to cycle the outputs ON or OFF. The scan tool can also perform an automated test which can isolate the faulty circuit.

Conditions for Setting the DTC

Important: The QDM circuit is continuously checked when the engine is running.

DTC P1640 and/or P1641 will set if:

    • There is an open, short to ground, or short to voltage in the QDM output SERVICE telltale lamp circuit.
    • A fault is detected for 5 seconds for DTC P1641.
    • A fault is detected for 20 seconds for DTC P1640.

Diagnostic Aids

    • If 1 output is faulty, the PCM will shut down only that QDM output and not the entire quad driver unless the quad driver reaches its thermal limit, short to voltage. At this time it will turn all 4 quad drivers outputs OFF. When the quad driver cools down, it will turn back ON and this process will start over.
    • A shorted or open circuit or bulb can cause a code to set.
    • Check the 10 amp IGN 1 fuse in the IPJB.

Use the Saturn service stall system, if available, to diagnose the quad driver circuits or use a scan tool and perform an off-board QDM test.

When viewing a QDM fault, using a scan tool dynamic display or MIL telltale, you may notice the fault appears to be intermittent. This may be due to an intermittent fault, but more likely it is due to the way the fault detection works.

For example, if the SERVICE telltale lamp is OFF, the PCM expects to refer to 12 volts on the circuit line. If the circuit is open, 0 volts will be measured on the circuit and the fault will be displayed. However, if the lamp is turned ON, the PCM expects to measure 0 volts on the circuit, and will not detect a fault. This causes an intermittent problem because the lamp is not continuously ON.


Object Number: 901853  Size: FP

DTC P1640 and/or P1641 QDM Module A - Low Coolant/Hot Lamp

Circuit Description


Object Number: 900448  Size: MF

A quad driver module (QDM) is an electronic switch which completes a ground circuit when switched ON. The QDM independently controls 4 separate outputs. A load is connected between battery voltage and the QDM, allowing the QDM driver to control the output. Each QDM has fault detection logic which compares QDM driver input and output voltages. The logic expects to measure less than 3 volts when the QDM driver is ON and greater than 7 volts when OFF. The QDM has only 1 fault line that will detect a fault on any of the 4 outputs. The scan tool can be used to cycle the outputs ON or OFF. The scan tool can also perform an automated test which can isolate the faulty circuit.

Conditions for Setting the DTC

Important: The QDM circuit is continuously checked when the engine is running.

DTC P1640 and/or P1641 will set if:

    • There is an open, short to ground, or short to voltage on the QDM output low coolant/hot telltale lamp circuit.
    • A fault is detected for 5 seconds for DTC P1641.
    • A fault is detected for 20 seconds for DTC P1640.

Diagnostic Aids

    • If 1 output is faulty, the PCM will shut down only that QDM output and not the entire quad driver unless the quad driver reaches its thermal limit, short to voltage. At this time it will turn all 4 quad driver outputs OFF. When the quad driver cools down it will turn back ON and this process will start over.
    • A shorted or open circuit or bulb can cause a DTC to set.
    • Check the 10 amp IGN 1 in the IPJB.

Use the Saturn service stall system, if available, to diagnose the quad driver circuits or use a scan tool and perform an off-board QDM test.

When viewing QDM fault, using a scan tool dynamic display or MIL telltale, you may notice the fault appears to be intermittent. This may be due to an intermittent fault, but more likely it is due to the way the fault detection works.

For example, if the SERVICE telltale lamp is OFF, the PCM expects to refer to 12 volts on the circuit. If the circuit is open, 0 volts will be measured on the circuit and the fault will be displayed. However, if the lamp is turned ON, the PCM expects to measure 0 volts on the circuit and will not detect a fault. This causes an intermittent problem because the lamp is not continuously ON.


Object Number: 902009  Size: FP

DTC P1640 and/or P1641 QDM Module A - Cruise Clutch

Circuit Description


Object Number: 900448  Size: MF

A quad driver module (QDM) is an electronic switch which completes a ground circuit when switched ON. The QDM independently controls 4 separate outputs. A load is connected between battery voltage and the QDM, allowing the QDM driver to control the output. Each QDM has fault detection logic which compares QDM driver input and output voltages. The logic expects to measure less than 3 volts when the QDM driver is ON and greater than 7 volts when OFF. The QDM has only 1 fault line that will detect a fault on any of the 4 outputs. The scan tool can be used to cycle the outputs ON or OFF. The scan tool can also perform an automated test which can isolate the faulty circuit.

Conditions for Setting the DTC

Important: The QDM circuit is continuously checked when the engine is running.

DTC P1640 and/or P1641 will set if:

    • There is an open, short to ground, or short to voltage on the QDM output cruise clutch circuit.
    • A fault is detected for 5 seconds for DTC P1641.
    • A fault is detected for 20 seconds for DTC P1640.

Diagnostic Aids

    • If 1 output is faulty, the PCM will shut down only that QDM output and not the entire quad driver unless the quad driver reaches its thermal limit, short to voltage. At this time it will turn all 4 quad driver outputs OFF. When the quad driver cools down it will turn back ON and this process will start over.
    • Check the 5 amp cruise fuse in the IPJB.

Use the Saturn service stall system, if available, to diagnose the quad driver circuits.

When viewing QDM fault, using a scan tool dynamic display or MIL telltale, you may notice the fault appears to be intermittent. This may be due to it being an intermittent fault, but more likely it is due to the way the fault detection logic works.

For example, if the SERVICE telltale lamp is OFF, the PCM expects to refer to 12 volts on the circuit. If the circuit is open, 0 volts will be measured on the circuit and the fault will be displayed. However, if the lamp is turned ON due to low coolant conditions, the PCM expects to measure 0 volts on the circuit and will not detect a fault.


Object Number: 902042  Size: FP

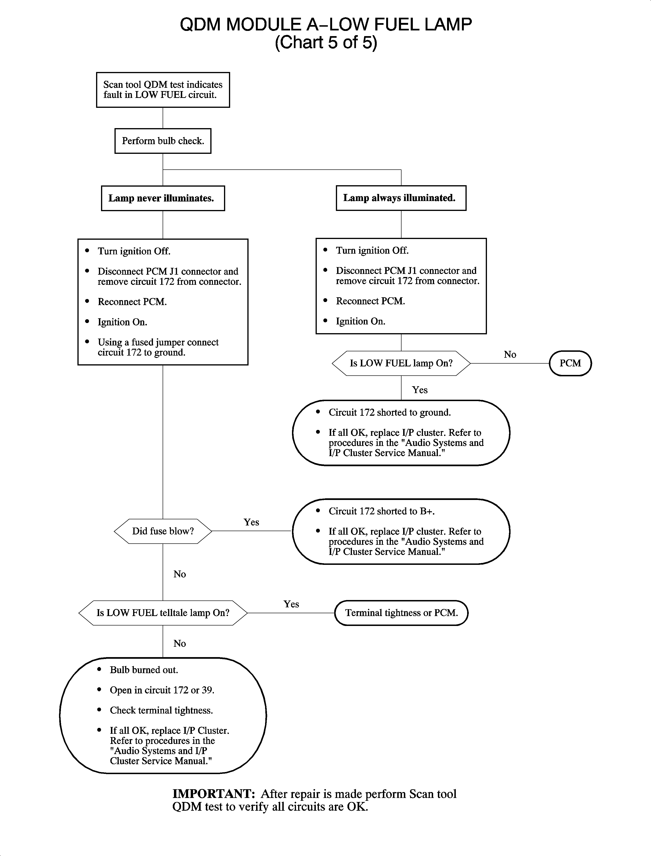
DTC P1640 and/or P1641 QDM Module A - Low Fuel Lamp

Circuit Description


Object Number: 900448  Size: MF

A quad driver module (QDM) is an electronic switch which completes a ground circuit when switched ON. The QDM independently controls 4 separate outputs. A load is connected between battery voltage and the QDM, allowing the QDM driver to control the output. Each QDM has fault detection logic which compares QDM driver input and output voltages. The logic expects to measure less than 3 volts when the QDM driver is ON and greater than 7 volts when OFF. The QDM has only 1 fault line that will detect a fault on any of the 4 outputs. The scan tool can be used to cycle the outputs ON or OFF. The scan tool can also perform an automated test which can isolate the faulty circuit.

Conditions for Setting the DTC

Important: The QDM circuit is continuously checked when the engine is running.

DTC P1640 and/or P1641 will set if:

    • There is an open, short to ground, or short to voltage in the QDM output LOW FUEL telltale lamp circuit.
    • A fault is detected for 5 seconds for DTC P1641.
    • A fault is detected for 20 seconds for DTC P1640.

Diagnostic Aids

    • If 1 output is faulty, the PCM will shut down only that QDM output and not the entire quad driver unless the quad driver reaches its thermal limit, short to voltage. At this time it will turn all 4 quad driver outputs OFF. When the quad driver cools down it will turn back ON and this process will start over.
    • A shorted or open circuit or bulb can cause a code to set.
    • Check the 10 amp IGN 1 fuse in the IPJB.

Use the Saturn service stall system, if available, to diagnose the quad driver circuits or use a scan tool and perform an off-board QDM test.

When viewing QDM fault, using a scan tool dynamic display or MIL telltale, you may notice the fault appears to be intermittent. This may be due to an intermittent fault, but more likely it is due to the way the fault detection works.

For example, if the LOW FUEL telltale lamp is OFF, the PCM expects to refer to 12 volts on the circuit line. If the circuit is open, 0 volts will be measured on the circuit and the fault will be displayed. However, if the lamp is turned ON, the PCM expects to measure 0 volts on the circuit and will not detect a fault. This causes an intermittent problem because the lamp is not continuously ON.


Object Number: 901607  Size: FP