GM Service Manual Online
For 1990-2009 cars only

Cylinder Head Assemble SOHC

Tools Required

    • SA9102E-A Valve Seal Remover/Replacer
    • SA9124E Valve Spring Compressor/Remover

    Object Number: 870074  Size: SH
  1. Clean all parts.
  2. Oil the valve stems and install the valves stem seals, the valves, the springs, retainers, and the camshaft:
  3. Important: After each valve is installed, oil the valve stem and guide before installing the seal. If a valve stem seal is removed, it must be discarded.

  4. Use the SA9102E-A to install the valve stem seals.
  5. Install the valves and the springs.

  6. Object Number: 875096  Size: SH

    Notice: Do not depress the spring cap too far as it will cause valve stem seal and valve stem damage.

  7. Use the SA9124E to install the valve spring caps and the retainers.
  8. If removed, clean the thrust plate bolts and the camshaft bolt hole threads of any residual sealer, oil, or foreign material. Remove the foreign material with solvent.
  9. Notice: The dowel pin end of the camshaft must be located at the 12 o'clock position during installation to prevent valve and piston damage.

  10. Oil the camshaft and install it into the cylinder head with the dowel pin at the 12 o'clock position.
  11. Install the thrust plate and 2 new TORX™ screws.
  12. Tighten
    Tighten the camshaft thrust bearing-to-head (L24) to 25 N·m (19 lbs ft)


    Object Number: 870079  Size: SH
  13. Coat the rear camshaft cylinder head and 2 oil gallery plugs with Saturn P/N 21485277 LOCTITE® 242 or equivalent, and install it using a standard bushing driver, if removed. Refer to the General Description page of this section for plug locations.

  14. Object Number: 875117  Size: SH
  15. Oil the hydraulic lifters with clean engine oil and install them in the cylinder head. Rotate the lifters until the flat sides are parallel to the intake and exhaust manifold flanges.
  16. Important: Ensure the guide plates are properly seated, retaining spring slot upward on the cylinder head and all lifters fit squarely in the guide plate.

  17. Install the lifter guide plates.

  18. Object Number: 875745  Size: SH
  19. Oil the rocker arm shaft and install the rocker arms on both shafts.
  20. Snap 1 end of each lifter guide plate retaining spring onto the rocker arm shaft between the No 1-2 and the No 3-4 cylinder rocker arms.

  21. Object Number: 875810  Size: SH

    Notice: Rocker arm tangs (slots) must be properly seated prior to tightening the rocker arm shaft bolts or valve and piston damage will occur.

  22. Install the rocker arm and shaft assembly on the cylinder head. Ensure the rocker arm tangs, slots, are squarely seated on the hydraulic lifter plunger. The retaining spring must be positioned in the guide plate slot.

  23. Object Number: 870083  Size: SH
  24. Tighten down the 5 rocker arm shaft bolts uniformly.
  25. Notice: The rocker arm assembly must be properly assembled to prevent engine damage.

  26. Install the second rocker arm assembly. Snap the lifter guide plate retaining spring onto the shaft. Ensure the rocker tangs, slots, are squarely seated on the hydraulic lifter plunger as the assembly is installed.
  27. Important: A flat piece of cardboard (2 in x 14 in) or extension bar can be placed on top of the rocker arm assemblies, both shafts with all rocker arms during installation for alignment of rocker arms on valves and hydraulic lifters.

  28. Check all lifters, guide plates, guide plate retaining springs and rocker arm tangs, slots, for proper installation.
  29. Tighten
    Tighten the rocker arm shaft-to-head to 25 N·m (19 lb ft).


    Object Number: 870090  Size: SH

    Important: Ensure all gasket surfaces are clean when installing manifolds and cylinder head assembly to prevent oil leakage.

  30. Install the intake manifold using a new intake manifold gasket.
  31. Tighten the bolts in the following sequence:

  32. Object Number: 879435  Size: SH

    Tighten
    Tighten the intake manifold-to-head (L24) to 30 N·m (22 lb ft).

    Important:  Install the gasket with the smooth side toward the exhaust manifold. In sequence, torque the exhaust manifold attachment nuts. The center fasteners may lose torque when the outer fasteners are tightened. Therefore, torque all fasteners a second time.

  33. Install the exhaust manifold using a new exhaust manifold gasket.

  34. Object Number: 879436  Size: SH

    Tighten
    Tighten the exhaust manifold-to-head (L24) to 22 N·m (16 lb ft).

  35. Install the rear engine support, lift, bracket, if removed.

Cylinder Head Assemble DOHC

Tools Required

SA9102E-A Valve Seal Remover


    Object Number: 870652  Size: SH
  1. Clean all parts. Coat the 3 oil gallery plugs with Saturn P/N 21485277 Loctite 242® Threadlocker, or equivalent, and install them using a standard driver, if removed.
  2. Notice: Do not depress the spring cap too far as it will cause valve stem seal and valve stem damage.

    Important: After each valve is installed, oil the valve guide with clean engine oil and stem before installing the valve stem seal. If a valve stem seal is removed, it must be discarded.

  3. Install new valve stem seals using the SA9102E-A . Do not oil the seal's inner diameter where it contacts the guide.
  4. Oil the valve stems and install the valves, springs, caps, and retainers.

  5. Object Number: 870646  Size: SH
  6. Fill the hydraulic lash adjusters with clean engine oil using an oil squirt can, lubricate the lash adjuster body and install them in their proper locations.
  7. Notice: The dowel pin in each camshaft must be located at the 12 o'clock position during installation to prevent valve and piston damage.

  8. Assemble rocker arms over lash adjusters and valve stems.

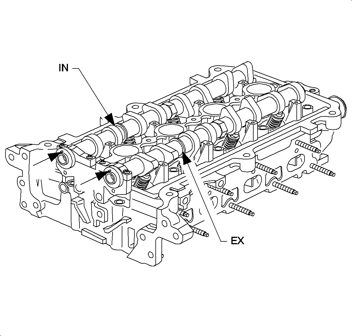
  9. Object Number: 871246  Size: SH

    Important: Camshafts are identified IN, intake manifold side of engine and EX, exhaust side of engine. If the camshafts are installed at the wrong location, the following will occur:

       • The oil baffles in the cam cover will interfere with the camshaft and the cam cover will not assemble properly. Noise will be evident upon engine operation.
       • DTC P0172 (System Rich) is likely to set.
       • Poor engine performance at throttle tip-in will be evident.

  10. Oil the camshaft (lobes and journals) and install each in the cylinder head with the dowel pin at the 12 o'clock position.

  11. Object Number: 871259  Size: SH

    Notice: Fully tightening down one bearing cap at a time will break the camshaft and damage the cylinder head cam bearings surfaces or damage the cap bolt threads.

    Important: The forward bearing caps are used to control thrust. The camshafts must be positioned fully forward prior to their installation.

  12. Install all the bearing caps on each camshaft with the arrows pointed toward the camshaft sprockets. The camshaft bearing caps are numbered and have an I -- for intake side and an E -- for exhaust manifold side stamped on them. Tighten the caps down uniformly.
  13. Tighten
    Tighten the camshaft bearing cap-to-head (LL0) to 14 N·m (10 lb ft).


    Object Number: 870608  Size: SH

    Notice: Make sure all gasket surfaces are clean when installing manifolds and the cylinder head assembly. Inspect the intake manifold gasket for nicks, cuts, or swelling. Replace the intake manifold gasket if any of these conditions are found.

  14. Install the intake manifold.
  15. Tighten the nuts in the following sequence:

  16. Object Number: 879452  Size: SH

    Object Number: 872995  Size: SH
  17. Install the exhaust manifold using a new exhaust manifold gasket.
  18. Tighten
    Tighten the exhaust manifold-to-head (LL0) to 18 N·m (13 lb ft).

    Important: In sequence, torque the exhaust manifold attachment nuts. The center fasteners may lose torque when the outer fasteners are tightened. Therefore, re-torque all fasteners a second time.

  19. Torque the exhaust manifold attachment nuts in the following sequence:

  20. Object Number: 879453  Size: SH