GM Service Manual Online
For 1990-2009 cars only

Object Number: 872195  Size: MH

The PCM controls a 2-coil stepper motor which controls the bypass air intake into the throttle body to decrease or increase engine idle speed. The motor allows air to bypass the throttle plate and enter the intake manifold. The determination of how much air is allowed to enter the engine is based on current engine speed, A/C compressor operation (ON/OFF) , coolant temperature, throttle position or if the transaxle controller requests greater engine torque during power-off downshifts, automatic transaxle vehicles only.

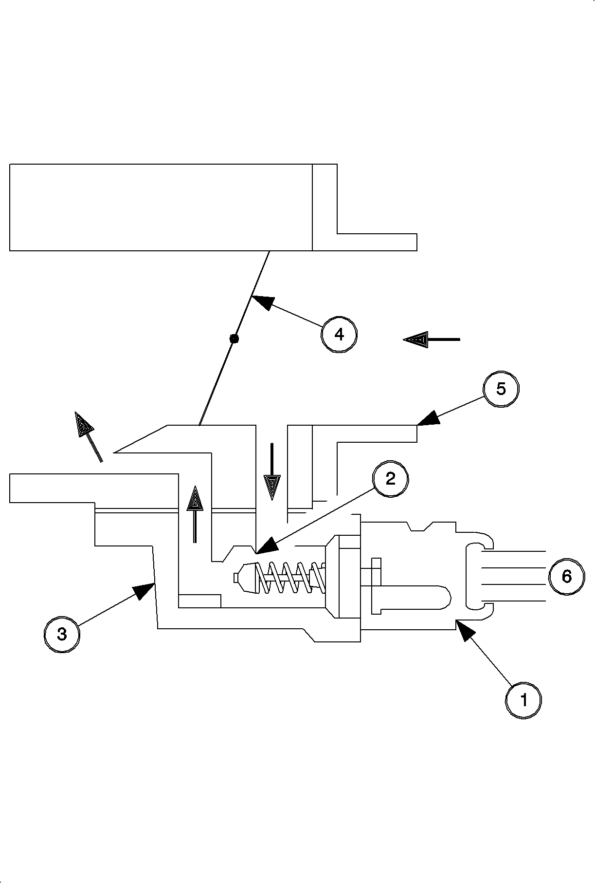
Idle Air Control System

The purpose of the idle air control system is to control engine idle speed while compensating for changes in engine load.

The idle air control (IAC) valve, mounted in the throttle body, controls bypass air around the throttle plate. By moving a conical valve, called a pintle, in towards the seat, airflow will decrease. If the pintle is moved outwards from the seat, a controlled amount of air is allowed to bypass the throttle plate. If the PCM determines that RPM is too low, more air is allowed to bypass the throttle to increase RPM. If RPM is too high, less air is allowed to bypass the throttle plate, decreasing RPM.

During idle, the proper position of the IAC valve is calculated by the PCM, based on battery voltage, coolant temperature, engine load and engine RPM. If the RPM drops below specification and the throttle valve is closed, the PCM moves the IAC valve to control speed.

Once the PCM has sought a desired idle, it can retard or advance spark timing to smooth the idle out or increment/decrement slight changes. This operation keeps the IAC valve from continuously moving in and out.

For more information on the idle air control system, refer to Fuel Controls Description .

An unstable TP sensor at idle, varying more than 4 counts, TP counts read on the scan tool, will disrupt Closed Loop engine idle control.

Idle Air Control Valve

The PCM controls engine idle speed by controlling current to two stepper coils contained within the idle air control valve assembly.

By controlling current to both of the coils, the PCM can control engine idle speed by allowing air to bypass the throttle plate.