GM Service Manual Online
For 1990-2009 cars only

Object Number: 866407  Size: MF

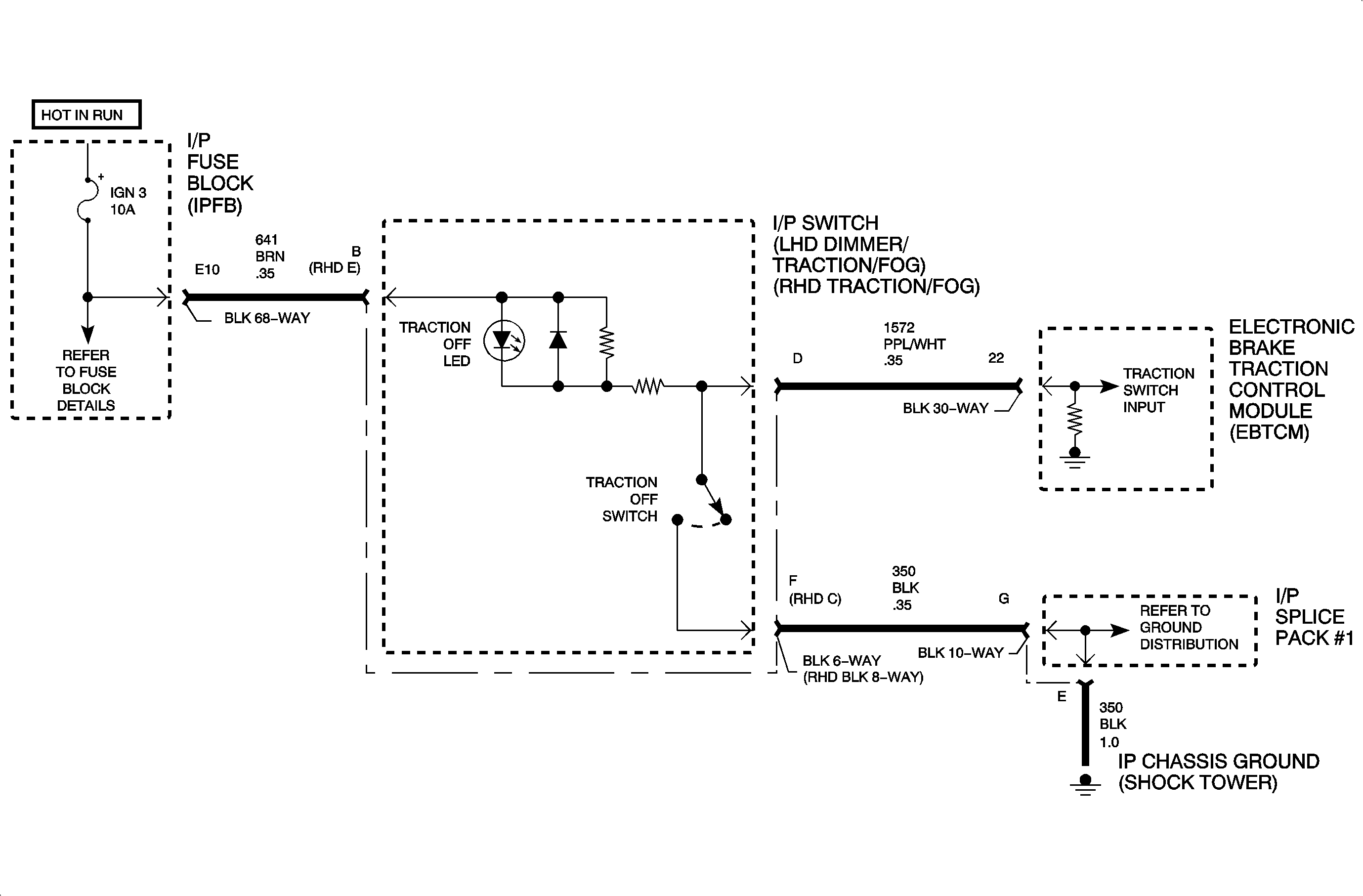
The TCS is enabled every time the ignition is switched On. The TRAC switch LED will be On to advise the driver that TCS is available. The TRAC LED will be Off if the driver disabled TCS by depressing the TRAC switch or if the ABS control module disables TCS because an applicable DTC is set.


Object Number: 874669  Size: FP

Object Number: 874670  Size: FP

Object Number: 874671  Size: FP