GM Service Manual Online
For 1990-2009 cars only

    Object Number: 890129  Size: SH
  1. Assemble the input shaft with the 5th gear bearing, 5th gear, 5th reverse synchronizer assembly, reverse cone, and washer. Use the
  2. Tighten
    Tighten the input shaft clamp nut to 150 N·m (111 lb ft)

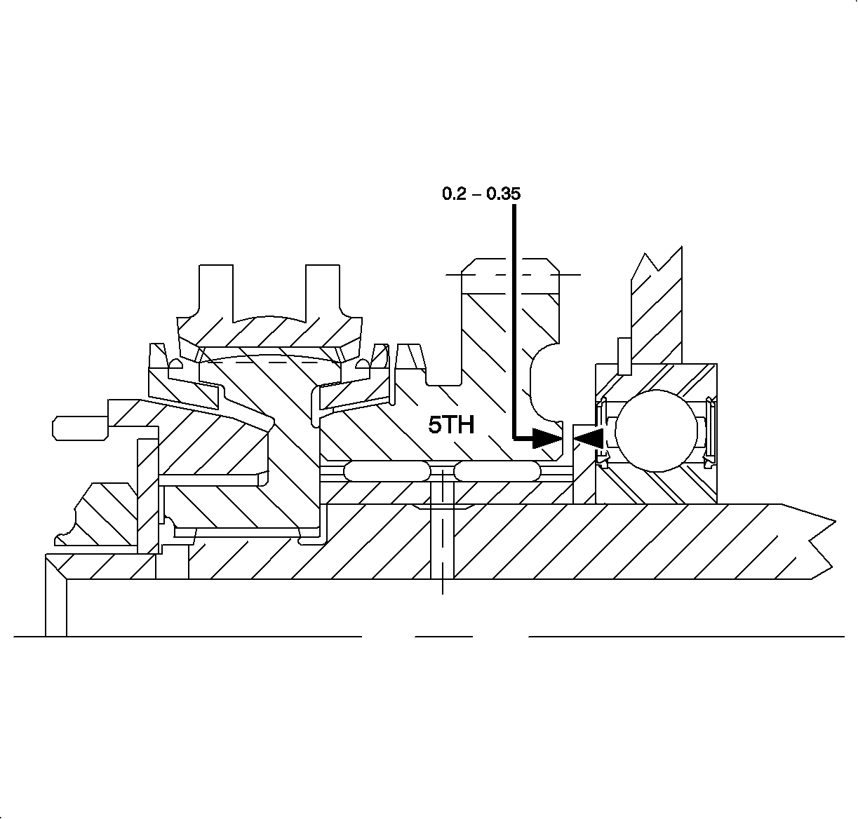
  3. Measure the clearance between 5th drive gear and 5th gear thrust washer.
  4. Clearance
    Standard: 0.20-0.35 mm (0.008-0.014 in)


    Object Number: 890063  Size: SH
  5. Measure the clearance between the 4th drive gear and the 4th gear thrust washer.
  6. Clearance
    Standard: 0.20-0.35 mm (0.008-0.014 in)

  7. Measure the clearance between 3rd drive gear and input shaft.
  8. Clearance
    Standard: 0.20-0.35 mm (0.008-0.014 in)