GM Service Manual Online
For 1990-2009 cars only

Mode Control Cable Replacement LHD Only

Removal Procedure


    Object Number: 866425  Size: SH
  1. Loosen the upper trim panel:
  2.         Notice: Be careful not to damage the VIN plate when removing or replacing the upper trim panel.

    1.1. Remove the screws located under the upper trim panel on the passenger's side of the vehicle.
    1.2. Disengage the clips at the locations by grasping the edges of the upper trim panel and lifting up.

    Object Number: 866671  Size: SH
  3. Loosen the steering column filler panel screws.
  4. Notice: Do not remove weatherstrips. Adhesion will be lost if removed.


    Object Number: 866699  Size: SH
  5. Remove the left endcap assembly.
  6. 3.1. Remove the screws.
    3.2. Carefully disengage the clips at the instrument panel (I/P) retainer assembly locations. Use of a blunt tool will aid in disengaging the clips.
    3.3. Maneuver the assemblies past the inner I/P retainer assembly and the weatherstrips.

    Object Number: 866450  Size: SH
  7. Gently pry the edges of the ignition lock bezel with a blunt tool and separate it from the lower shroud.

  8. Object Number: 866520  Size: SH
  9. Remove the steering column upper and lower shrouds and fasteners.
  10. Lower the steering column by pushing down on the steering column adjusting handle.

  11. Object Number: 866615  Size: SH
  12. Remove the I/P bezel:
  13. 7.1. Disengage the clips from the retainer assembly by grasping the edges of the bezel near the clip location and pull outward.
    7.2. Depress the wiring harness connector tabs and remove the harnesses from the dimmer/traction control switch assembly.

    Object Number: 863550  Size: SH
  14. Remove the radio:
  15. 8.1. Remove the radio screws.
    8.2. Pull the radio out slightly to access the rear of radio.
    8.3. Disconnect the electrical connector, antenna, and ground strap connector.

    Object Number: 866646  Size: SH
  16. Remove the HVAC controller:
  17. Remove the screws.
  18. Disconnect the HVAC blower switch connector.
  19. Disconnect the HVAC control head connector.

  20. Object Number: 873115  Size: SH
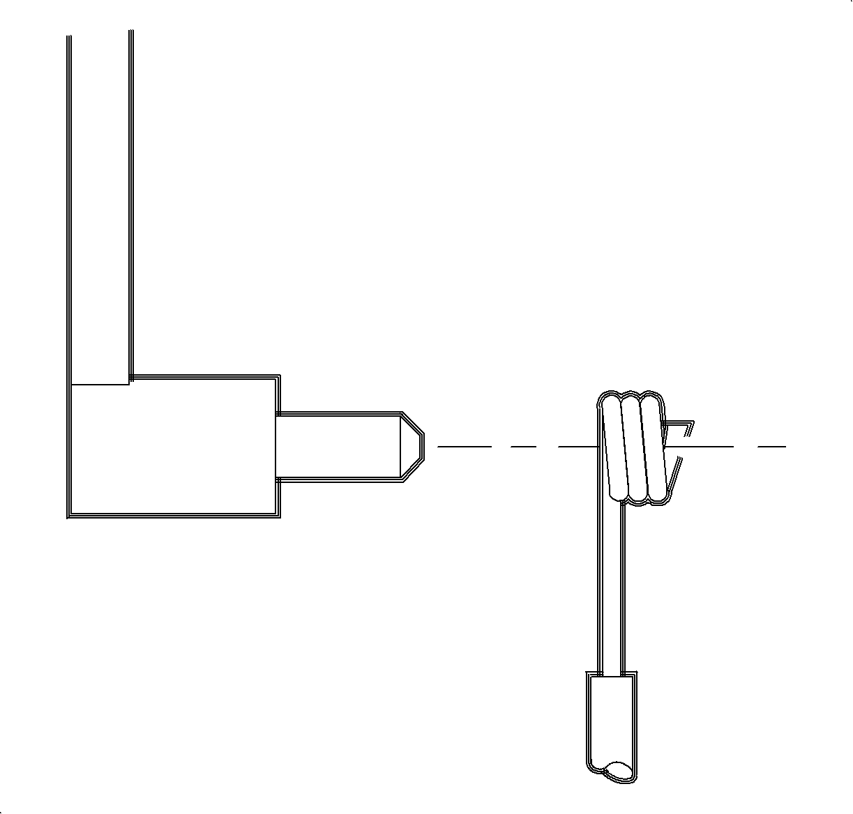
  21. Remove the mode cable by squeezing the lock tabs together while pulling the cable, coiled end, straight up beyond the retaining tabs.

  22. Object Number: 861492  Size: SH
  23. Reach under the dash and release the mode cable hold down clip by carefully pushing up on the plastic tab while pushing down on top of the cable.
  24. Rotate the mode valve lever rearward.
  25. Rotate the cable upward to clear the retention leg and slide the cable off the pin.
  26. Remove the mode cable. Service linkage shown in illustration.

Installation Procedure


    Object Number: 861496  Size: SH
  1. Install the mode cable over the mode valve pin and behind the retention leg.
  2. Snap the mode cable hold down clip over the mode cable holder.
  3. Cable Identification:

    • Temperature Cable - White
    • Mode Cable - Black

    Object Number: 873115  Size: SH

    Important: Ensure that the wiring harnesses do not interfere with control lever movement.

  4. Install the HVAC controller:
  5. Install the mode valve cable onto the mode valve pin.
  6. Snap the slot on the cable into the HVAC controller base.

  7. Object Number: 866646  Size: SH
  8. Install the blower switch connector.
  9. Install the HVAC controller connector.
  10. Install the screws.
  11. Tighten
    Tighten the HVAC controller-to-I/P retainer to 2.5 N·m (22 lb in).


    Object Number: 863550  Size: SH
  12. Install the radio:
  13. 9.1. Connect the wiring harnesses.
    9.2. Connect the ground strap.
    9.3. Connect the antenna lead.
    9.4. Install the screws.

    Tighten
    Tighten the radio-to-I/P retainer to 2.5 N·m (22 lb in).


    Object Number: 866615  Size: SH
  14. Install the I/P cluster bezel:
  15. 10.1. Connect the dimmer/traction control switch wiring harnesses.
    10.2. Position the I/P cluster bezel by lining up the clip location.
    10.3. Snap the I/P cluster bezel in place by pushing at the clip locations.

    Object Number: 866520  Size: SH
  16. Position the upper shroud.
  17. Position the lower shroud and install the screws.
  18. Tighten
    Tighten the steering column shroud fasteners to 1.5 N·m (13 lb in).

  19. Install the ignition bezel.
  20. 13.1. Align the peg of the ignition bezel with the cut-out in the lower shroud.
    13.2. Snap it into place.

    Object Number: 866699  Size: SH

    Important: Ensure that the endcap bottom portion is inside of the filler panel assembly.

  21. Install the left endcap assembly:
  22. 14.1. Maneuver the assembly past the inner I/P retainer assembly and the weatherstrips.
    14.2. Snap the clips into the I/P retainer assembly locations.
    14.3. Install the screws.

    Tighten
    Tighten the I/P endcap retaining screws to 2.2 N·m (20 lb in).

  23. Install the steering column filler panel screws.
  24. Tighten
    Tighten the steering column filler panel fasteners to 2.2 N·m (20 lb in).

    Notice: Be careful not to damage the VIN plate when removing or replacing the upper trim panel.


    Object Number: 866425  Size: SH

    Important: Ensure that the upper I/P trim panel seal is correctly seated on the forward edge before installing the upper trim panel.

  25. Install the I/P upper trim panel:
  26. 16.1. Ensure that the hook-and-loop fasteners on the upper trim panel are correctly inserted.
    16.2. Position the upper trim panel on the retainer assembly.
    16.3. Align the tabs on the sides of the upper trim panel with the openings in the windshield garnish molding.
    16.4. Align the clips and the clip location.
    16.5. Firmly snap in the clips at the clip locations.
    16.6. Install the screws on the underside of the upper trim panel on the passenger's side of the vehicle.

    Tighten
    Tighten the I/P upper trim panel fastener to 6 N·m (53 lb in).

Mode Control Cable Replacement RHD Domestic Only

Removal Procedure


    Object Number: 866773  Size: SH
  1. Loosen the upper trim panel:
  2. 1.1. Remove the screws located under the upper trim panel on the passenger's side of the vehicle.

            Notice: Be careful not to damage the VIN plate when removing or replacing the upper trim panel.

    1.2. Disengage the clips at the locations by grasping the edges of the upper trim panel and lifting up.

    Object Number: 866777  Size: SH
  3. Loosen the steering column filler panel screws.
  4. Notice: Do not remove weatherstrips. Adhesion will be lost if removed.


    Object Number: 866785  Size: SH
  5. Remove the right endcap assembly.
  6. 3.1. Remove the screws.
    3.2. Carefully disengage the clips at the instrument panel (I/P) retainer assembly locations. Use of a blunt tool will aid in disengaging the clips.
    3.3. Maneuver the assemblies past the inner I/P retainer assembly and the weatherstrips.

    Object Number: 866450  Size: SH
  7. Gently pry the edges of the ignition bezel with a blunt tool and separate it from the lower shroud.

  8. Object Number: 866520  Size: SH
  9. Remove the upper and lower steering column shrouds and fasteners.
  10. Lower the steering column by pushing down on the steering column adjusting handle.

  11. Object Number: 866780  Size: SH
  12. Remove the I/P bezel:
  13. 7.1. Disengage the clips from the retainer assembly by grasping the edges of bezel near the clip location and pull outward.
    7.2. Depress the wiring harness connector tabs and remove the harnesses from the dimmer/traction control switch assembly.
  14. Remove the I/P compartment.
  15. 8.1. Open the I/P compartment door.
    8.2. Turn the I/P compartment door stop assemblies right and left to release the door and compartment assembly from the I/P retainer assembly.

            Important: The lower I/P door pins are on the right and left outside edges at base of the compartment.

    8.3. Push the lower I/P door pins from the outside of the door to the inside I/P compartment.
  16. Remove the radio:
  17. 9.1. Remove the radio screws.
    9.2. Pull the radio out slightly to access rear of the radio.
    9.3. Disconnect the electrical connector, antenna, and ground strap connector.

    Object Number: 866646  Size: SH
  18. Remove the HVAC controller:
  19. 10.1. Remove the screws.
    10.2. Disconnect the HVAC blower switch connector.
    10.3. Disconnect the HVAC control head connector.

    Cable Identification:

       • Temperature cable - White
       • Mode cable- Black

    Object Number: 873115  Size: SH
    10.4. Remove the mode cable by squeezing the lock tabs together while pulling the cable, coiled end, straight up beyond the retaining tabs.

    Object Number: 861690  Size: SH
  20. Rotate the mode cam fully counterclockwise.

  21. Object Number: 860472  Size: MF
  22. Remove the mode cable housing from the retainer clip by pressing upward on the upper tab of the clip while gently pulling outward on the mode cable housing.

  23. Object Number: 861644  Size: MF
  24. Remove the mode cable eyelet from the mode cam pin by pressing the mode cable eyelet towards the module case while rotating the mode cable outward.
  25. Remove the mode cable.

Installation and Adjustment Procedure


    Object Number: 861690  Size: SH
  1. Rotate the mode cam fully counterclockwise.

  2. Object Number: 860599  Size: SH

    Important: Install the mode cable with the wire eyelet wrap as shown.


    Object Number: 860615  Size: MF

    Important: Do not install the mode cable housing into the retainer clip at this time.

    Cable Identification:

    • Temperature cable - White
    • Mode cable - Black
  3. Install the mode cable eyelet between the mode cam pin and the module case and rotate it onto the mode cam pin.

  4. Object Number: 873115  Size: SH
  5. Install the mode cable over the HVAC control pin.
  6. Install the mode cable housing into the channel and push down to lock it into place.

  7. Object Number: 861969  Size: SH
  8. Place the HVAC control mode knob completely to the right - defroster position.

  9. Object Number: 860620  Size: MF
  10. Verify that the mode cam is still in the full counterclockwise position.
  11. Press the mode cable housing firmly into the retainer clip to lock.
  12. Move the HVAC control mode knob through modes to verify proper installation.

  13. Object Number: 866646  Size: SH

    Important: Ensure that the wiring harnesses do not interfere with control lever movement.

  14. Install the HVAC controller:
  15. 9.1. Install the blower switch connector.
    9.2. Install the HVAC controller connector.
    9.3. Install the screws.

    Tighten
    Tighten the HVAC controller-to-I/P retainer to 2.5 N·m (22 lb in).


    Object Number: 863550  Size: SH
  16. Install the radio:
  17. 10.1. Connect the wiring harnesses.
    10.2. Connect the ground strap.
    10.3. Connect the antenna lead.
    10.4. Install the screws.

    Tighten
    Tighten the radio-to-I/P retainer to 2.5 N·m (22 lb in).


    Object Number: 866799  Size: SH
  18. Install the I/P compartment.
  19. 11.1. Position the I/P compartment door assembly to the retainer assembly.
    11.2. Install the I/P compartment door pins into the instrument panel retainer assembly.
    11.3. Lift the I/P compartment enough to install the I/P compartment door stop assemblies.
    11.4. Close the I/P compartment door.

    Object Number: 866780  Size: SH
  20. Install the I/P cluster bezel:
  21. 12.1. Connect the dimmer/traction control switch wiring harnesses.
    12.2. Position the I/P cluster bezel by lining up the clip location.
    12.3. Snap the I/P cluster bezel in place by pushing at the clip locations.

    Object Number: 866520  Size: SH
  22. Position the upper shroud.
  23. Position the lower shroud and install the screws.
  24. Tighten
    Tighten the steering column shroud fasteners to 1.5 N·m (13 lb in).


    Object Number: 866450  Size: SH
  25. Install the ignition bezel.
  26. 15.1. Align the peg of the ignition bezel with the cut-out in the lower shroud.
    15.2. Snap it into place.

    Object Number: 866785  Size: SH

    Important: Ensure that the endcap bottom portion is inside of the filler panel assembly.

  27. Install the right endcap assembly:
  28. 16.1. Maneuver the assembly past the inner I/P retainer assembly and the weatherstrips.
    16.2. Snap the clips into the I/P retainer assembly locations.
    16.3. Install the screws.

    Tighten
    Tighten the I/P endcap retaining screws to 2.5 N·m (22 lb in).


    Object Number: 866777  Size: SH
  29. Install the steering column filler panel screws.
  30. Tighten
    Tighten the steering column filler panel fasteners to 2.5 N·m (22 lb in).

    Notice: Be careful not to damage the VIN plate when removing or replacing the upper trim panel.


    Object Number: 866773  Size: SH

    Important: Ensure upper trim panel seal is correctly seated on forward edge before installing upper trim panel.

  31. Install I/P upper trim panel:
  32. 18.1. Ensure that the hook-and-loop fasteners on the upper trim panel are correctly inserted.
    18.2. Position the upper trim panel on the retainer assembly.
    18.3. Align the tabs on the sides of the upper trim panel with the openings in the windshield garnish molding.
    18.4. Align the clips and the clip location.
    18.5. Firmly snap in the clips at the clip locations.
    18.6. Install the screws on the underside of the upper trim panel on the passenger's side of the vehicle.