GM Service Manual Online
For 1990-2009 cars only
Table 1: Backup Lamp - Coupe (2000)
Table 2: Backup Lamp - Coupe (2001 - 2002)
Table 3: Backup Switch
Table 4: Cargo Lamp - Sedan/Coupe
Table 5: Cargo Lamp - Wagon
Table 6: Cargo Lamp Switch - Wagon
Table 7: Center High Mount Stop Lamp (CHMSL) - Coupe
Table 8: Center High Mount Stop Lamp (CHMSL) - Sedan, Wagon
Table 9: Dome Lamp
Table 10: Door Jamb Switch - Front
Table 11: Door Jamb Switch - Rear
Table 12: Door Lock Motor - Coupe
Table 13: Door Lock Motor - Sedan/Wagon
Table 14: Door Lock Switch
Table 15: Door Lock Switch
Table 16: Fog Lamp
Table 17: Hazard Switch
Table 18: Headlamp High Beam
Table 19: Headlamp Low Beam
Table 20: Headlamp Switch
Table 21: I/P Switch (Dimmer) (RHD)
Table 22: I/P Switch (Dimmer/Traction/Fog) (LHD)
Table 23: I/P Switch (Dimmer/Traction/Fog) (LHD)
Table 24: I/P Switch (Traction/Fog) (RHD)
Table 25: License Lamps - Coupe
Table 26: License Lamps - Sedan
Table 27: License Lamps - Wagon
Table 28: Map Lights
Table 29: Marker Lamp
Table 30: Park Brake Switch
Table 31: Park/Turn Lamp
Table 32: Rear Compartment Lid Lock (Cargo Lamp Switch)
Table 33: Rear Compartment Lid Lock (Cargo Lamp Switch)
Table 34: Stop/Tail/Backup/Turn/Marker Lamp Inline

Backup Lamp - Coupe (2000)


Object Number: 884194  Size: CH

Connector Part Information

    • 12160386
    • GRY

Pin

Wire Color

Circuit No.

Function

A

LT GRN

24

Power

B

BLK

550

Ground

Backup Lamp - Coupe (2001 - 2002)


Object Number: 884204  Size: CH

Connector Part Information

    • 12110053
    • GRY

Pin

Wire Color

Circuit No.

Function

A

LT GRN

24

Decklid Inline - Power

B

BLK

550

Ground - Left Rear Ground Splice Pack

Backup Switch


Object Number: 884214  Size: CH

Connector Part Information

    • 12103584
    • BRN

Pin

Wire Color

Circuit No.

Function

A

LT GRN

24

UHFB to Lamps

B

PNK

239

UHFB - IGN1 Fuse

Cargo Lamp - Sedan/Coupe


Object Number: 884257  Size: CH

Connector Part Information

    • 12186847
    • Natural

Pin

Wire Color

Circuit No.

Function

A

GRY/BLK

737

Decklid Inline - Cargo Lamp Switch

B

ORN

340

IPFB - Power

Cargo Lamp - Wagon


Object Number: 884274  Size: CH

Connector Part Information

    • 12047781
    • BLK

Pin

Wire Color

Circuit No.

Function

A

WHT

156

Cargo Lamp Switch

B

BLK

550

Cargo Lamp Ground

C

ORN

340

Cargo Lamp Bulb

Cargo Lamp Switch - Wagon


Object Number: 884276  Size: CH

Connector Part Information

    • 12052832
    • BLK

Pin

Wire Color

Circuit No.

Function

A

WHT

156

Cargo Lamp Control

B

BLK

550

Ground

C

ORN

340

IPFB

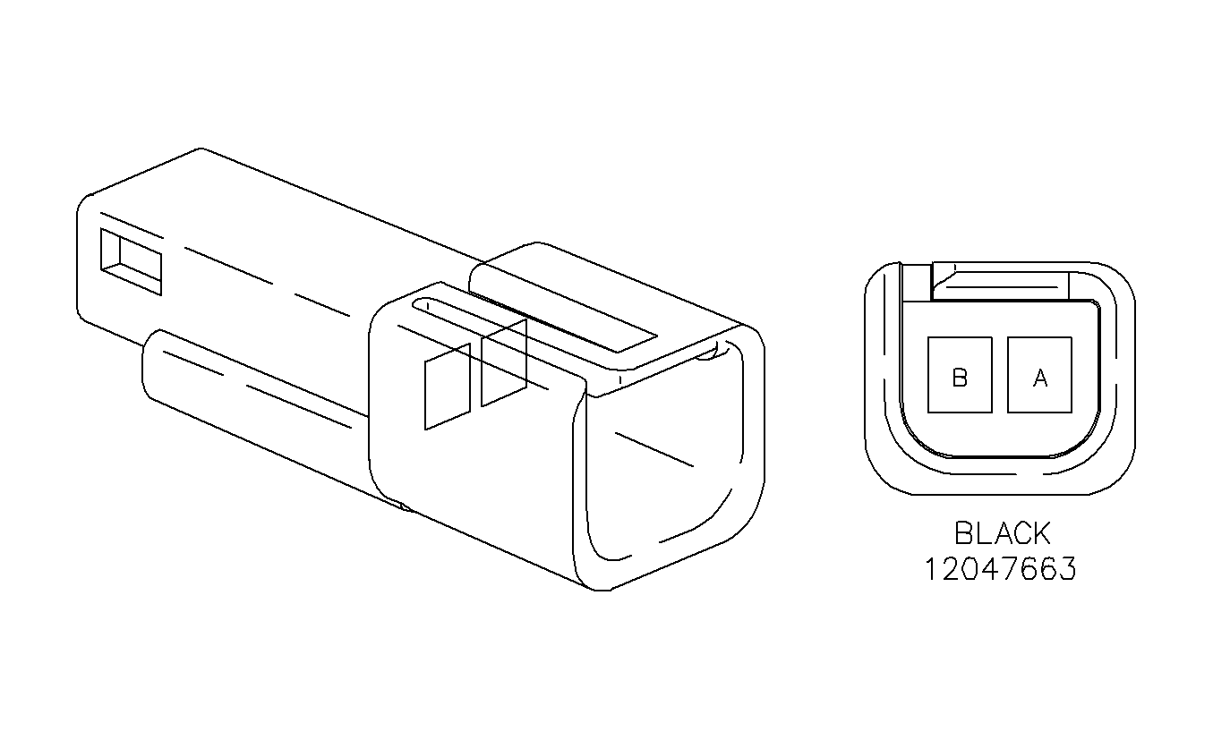
Center High Mount Stop Lamp (CHMSL) - Coupe


Object Number: 884291  Size: CH

Connector Part Information

    • 12047663
    • BLK

Pin

Wire Color

Circuit No.

Function

A

LT BLU

20

CHMSL - High

B

BLK

550

CHMSL - Ground

Center High Mount Stop Lamp (CHMSL) - Sedan, Wagon


Object Number: 884294  Size: CH

Connector Part Information

    • 12092158
    • GRY

Pin

Wire Color

Circuit No.

Function

A

LT BLU

20

CHMSL - High

B

BLK

550

CHMSL - Ground

Dome Lamp


Object Number: 884274  Size: CH

Connector Part Information

    • 12047781
    • BLK

Pin

Wire Color

Circuit No.

Function

A

WHT

156

Dome Switch

B

BLK

550

Dome Ground

C

ORN

340

B+ to Dome Bulb

Door Jamb Switch - Front


Object Number: 884274  Size: CH

Connector Part Information

    • Passenger
    • 12047781
    • BLK

Pin

Wire Color

Circuit No.

Function

A

BLK/WHT

746

Chime Module

B

--

--

Not Used

C

BLK

550

Ground


Object Number: 884274  Size: CH

Connector Part Information

    • Driver
    • 12047781
    • BLK

Pin

Wire Color

Circuit No.

Function

A

GRY/BLK

745

Chime Module

B

--

--

Not Used

C

BLK

550

Ground

Door Jamb Switch - Rear


Object Number: 884414  Size: CH

Connector Part Information

    • Passenger
    • 12047662
    • BLK

Pin

Wire Color

Circuit No.

Function

A

LT GRN/BLK

748

Chime Module

B

BLK

550

Ground


Object Number: 884414  Size: CH

Connector Part Information

    • Driver
    • 12047662
    • BLK

Pin

Wire Color

Circuit No.

Function

A

LT BLU/BLK

747

Chime Module

B

BLK

550

Ground

Door Lock Motor - Coupe


Object Number: 884416  Size: CH

Connector Part Information

    • Passenger
    • 15300027
    • BLK

Pin

Wire Color

Circuit No.

Function

A

TAN

294

Unlock

A

TAN

694

Unlock

B

GRY

295

Lock

Door Lock Motor - Sedan/Wagon


Object Number: 884421  Size: CH

Connector Part Information

    • Front Driver
    • 12077900
    • BLK

Pin

Wire Color

Circuit No.

Function

A

GRY

295

IPFB Lock Relay

B

TAN

694

IPFB to BCM - Unlock


Object Number: 884421  Size: CH

Connector Part Information

    • Front Passenger
    • 12077900
    • BLK

Pin

Wire Color

Circuit No.

Function

A

GRY

295

IPFB Lock Relay

B

TAN

294

IPFB Unlock Relay


Object Number: 884421  Size: CH

Connector Part Information

    • Left Rear/Right Rear
    • 12077900
    • BLK

Pin

Wire Color

Circuit No.

Function

A

TAN

294

IPFB Unlock Relay

B

GRY

295

IPFB Lock Relay

Door Lock Switch


Object Number: 884452  Size: CH

Connector Part Information

    • Right and Left Front
    • 12064758
    • BLK

Pin

Wire Color

Circuit No.

Function

A

LT BLU

195

Lock

B

ORN

340

Ground

C

WHT

194

Unlock

Door Lock Switch


Object Number: 884452  Size: CH

Connector Part Information

    • Right and Left Front
    • 12064758
    • BLK

Pin

Wire Color

Circuit No.

Function

A

LT BLU

195

Lock

B

ORN

340

Ground

C

WHT

194

Unlock

Fog Lamp


Object Number: 884576  Size: CH

Connector Part Information

    • Right and Left
    • 12020599
    • BLK

Pin

Wire Color

Circuit No.

Function

A

PPL

34

UHFB Fog Lamp Relay - Switched B+

B

BLK

150

Right Side - Right Forward Lamp Splice Pack - Ground

Left Side - UHFB - Ground

Hazard Switch


Object Number: 884612  Size: CH

Connector Part Information

    • 15332122
    • BLK

Pin

Wire Color

Circuit No.

Function

A

LT BLU

1717

Left Turn Signal

B

ORN

1040

Hazard Fuse

C

PNK

139

Turn Signal Fuse

D

LT BLU

1508

Flasher

E

PPL

16

Flasher

F

--

--

Not Used

Headlamp High Beam


Object Number: 884617  Size: CH

Connector Part Information

    • Right
    • 12059183
    • BLK

Pin

Wire Color

Circuit No.

Function

A

DK BLU

593

UHFB DRL Relay - B+

B

PNK

1200

UHFB - HI Beam Control


Object Number: 884617  Size: CH

Connector Part Information

    • Left
    • 12059183
    • BLK

Pin

Wire Color

Circuit No.

Function

A

ORN

40

UHFB Headlamp Fuse - B+

B

PNK

1200

UHFB - HI Beam Control

Headlamp Low Beam


Object Number: 884619  Size: CH

Connector Part Information

    • Right
    • 12059181
    • BLK

Pin

Wire Color

Circuit No.

Function

A

ORN

140

UHFB - RH Headlamp Fuse - B+

B

DK BLU

1201

UHFB - Low Beam Control


Object Number: 884619  Size: CH

Connector Part Information

    • Left
    • 12059181
    • BLK

Pin

Wire Color

Circuit No.

Function

A

ORN

40

UHFB - Left Headlamp Fuse - B+

B

DK BLU

1201

UHFB - Low Beam Control

Headlamp Switch


Object Number: 884279  Size: CH

Connector Part Information

    • 12064769
    • NAT

Pin

Wire Color

Circuit No.

Function

A

DK BLU

1201

Low Beam

B

--

--

Not Used

C

BLK

350

Switch Ground

D

--

--

Not Used

E

PNK

1200

High Beam

F

ORN

240

Park Fuse B+

G

PNK

1200

High Beam

H-J

--

--

Not Used

K

BRN

9

Park Lamps


Object Number: 884622  Size: CH

Connector Part Information

    • 15332152
    • NAT

Pin

Wire Color

Circuit No.

Function

A

YEL

18

I/P - Tail Lamp - Left

B

BRN

9

I/P - Tail Lamp - Left

C

LT BLU

1717

Hazard Switch

D

PPL

16

I/P - Flasher Model

E

DK GRN

19

I/P - Tail Lamp - Right

F

DK BLU

1201

I/P - Tail Lamp - Right

G

PNK

1200

BCM - High Beam Switch - Right

H

PNK

1200

UHFB - High Beam Switch - Left

J

ORN

240

Park Lamp Fuse

K

BLK

350

I/P Splice Pack #2 Ground

I/P Switch (Dimmer) (RHD)


Object Number: 884414  Size: CH

Connector Part Information

    • 12047662
    • BLK

Pin

Wire Color

Circuit No.

Function

A

BRN/WHT

230

BCM

B

PPL

719

BCM

I/P Switch (Dimmer/Traction/Fog) (LHD)


Object Number: 884414  Size: CH

Connector Part Information

    • 12064860
    • BLK

Pin

Wire Color

Circuit No.

Function

A

BRN

9

IPFB Fog Lamp

B

BRN

641

IPFB - IGN 3

C

PNK

1200

UHFB - Fog Lamp Traction Control Enable

D

PPL/WHT

1572

EBTCM - Traction

E

DK GRN

8

IPFB - LED

F

BLK

350

I/P Switch Ground

I/P Switch (Dimmer/Traction/Fog) (LHD)


Object Number: 884770  Size: CH

Connector Part Information

    • 12045813
    • Natural

Pin

Wire Color

Circuit No.

Function

A

YEL

317

UHFB - Fog Lamp Relay

B

--

--

Not Used

C

BRN/WHT

230

BCM - Dimmer Output

D

PPL

719

BCM - Dimmer Return

I/P Switch (Traction/Fog) (RHD)


Object Number: 884773  Size: CH

Connector Part Information

    • 12064862
    • BLK

Pin

Wire Color

Circuit No.

Function

A

--

--

Not Used

B

YEL

317

UHFB - Spare Relay

C

BLK

350

Ground - I/P Splice Pack #2

D

PPL/WHT

1572

EBTCM

E

BRN

641

IPFB - Ignition 3 Fuse

F

PNK

1200

UHFB - High Beam

G

GRY

8

IPFB - Dimmer

H

BRN

9

IPFB - Parklamp/Fog Switch

License Lamps - Coupe


Object Number: 884864  Size: CH

Connector Part Information

    • 12065157
    • NAT

Pin

Wire Color

Circuit No.

Function

A

BRN

9

Power

B

BLK

550

Ground

License Lamps - Sedan


Object Number: 884204  Size: CH

Connector Part Information

    • 12110053
    • GRY

Pin

Wire Color

Circuit No.

Function

A

BRN

9

Power

B

BLK

550

Ground

License Lamps - Wagon


Object Number: 884867  Size: CH

Connector Part Information

    • 12162083
    • BLK

Pin

Wire Color

Circuit No.

Function

A

BRN

9

Power

B

BLK

550

Ground

Map Lights


Object Number: 884274  Size: CH

Connector Part Information

    • 12047781
    • BLK

Pin

Wire Color

Circuit No.

Function

A

ORN

340

Body/Headliner Inline - Map Light Power

B

--

--

Not Used

 

BLK

550

Body/Headliner Inline - Ground

Marker Lamp


Object Number: 884274  Size: CH

Connector Part Information

    • 12110053
    • GRY

Pin

Wire Color

Circuit No.

Function

A

BRN

9

Park Feed

B

BLK

150

Ground

Park Brake Switch


Object Number: 885007  Size: CH

Connector Part Information

    • 12089640
    • GRY

Pin

Wire Color

Circuit No.

Function

A

LT BLU

1134

PCM - Park Brake Switch

Park/Turn Lamp


Object Number: 885016  Size: CH

Connector Part Information

    • 12160395
    • GRY

Pin

Wire Color

Circuit No.

Function

A

LT BLU

14

Left Turn - High

A

DK BLU

15

Right Turn - High

B

BRN

9

Park - High

G

BLK

150

Ground

Rear Compartment Lid Lock (Cargo Lamp Switch)


Object Number: 884274  Size: CH

Connector Part Information

    • 12047781
    • BLK

Pin

Wire Color

Circuit No.

Function

A

BLK

550

Decklid Inline - Decklid Release Motor Ground with Power Locks

B

GRY

382

Decklid Inline - Decklid Release Motor with Power Locks

C

RED/BLK

744

Decklid Inline - Cargo Lamp Switch

Rear Compartment Lid Lock (Cargo Lamp Switch)


Object Number: 885048  Size: CH

Connector Part Information

    • 12092582
    • BLK

Pin

Wire Color

Circuit No.

Function

A

BLK

550

Decklid Inline - Ground

Stop/Tail/Backup/Turn/Marker Lamp Inline


Object Number: 885071  Size: CH

Connector Part Information

    • 12052848
    • BLK

Pin

Wire Color

Circuit No.

Function

A

DK GRN

19

IPFB - Turn Lamp

A

YEL

18

IPFB - Turn Lamp

B

BRN

9

IPFB - Tail Lamps

C

BLK

550

Ground - Left Rear Body Ground Splice Pack

D

LT BLU

20

I/P - Body Inline Stop Lamps

E

--

--

Not Used

F

LT GRN

24

I/P - Body Inline - Backup Lamp (SL/SW)