| Table 1: | Mirror Motor - Right |
| Table 2: | Mirror Motor - Left |
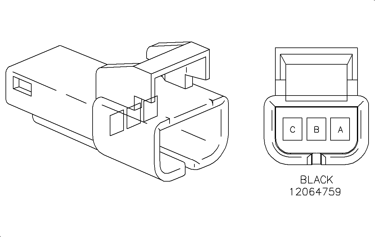
| Table 3: | Mirror Motor Harness (RHDD) - Harness |
| Table 4: | Mirror Motor (RHDD) - Mirror |
| Table 5: | Mirror Switch |
| Table 6: | Power Window/Rear Door - Sedan/Wagon |
| Table 7: | Power Window Master Switch - Coupe |
| Table 8: | Power Window Master Switch - Sedan/Wagon |
| Table 9: | Rear Door Window Switches - Sedan/Wagon |
| |||||||
|---|---|---|---|---|---|---|---|
Connector Part Information |
| ||||||
Pin | Wire Color | Circuit No. | Function | ||||
A | WHT | 81 | Right/Left | ||||
B | LT BLU | 82 | Dual Circuit Up/Down/Right/Left | ||||
C | LT GRN | 89 | Up/Down | ||||
| |||||||
|---|---|---|---|---|---|---|---|
Connector Part Information |
| ||||||
Pin | Wire Color | Circuit No. | Function | ||||
A | RED/WHT | 881 | Right/Left | ||||
B | GRY | 90 | Dual Circuit Up/Down/Right/Left | ||||
C | PPL/889WHT | 89 | Up/Down | ||||
| |||||||
|---|---|---|---|---|---|---|---|
Connector Part Information |
| ||||||
Pin | Wire Color | Circuit No. | Function | ||||
A-B | -- | -- | Not Used | ||||
C | RED/WHT WHT | 881 (LT) 81 (RT) | Mirror Switch - Left/Right | ||||
D | GRA LT BLU | 90 (LT) 82 (RT) | Mirror Switch - Selector Switch | ||||
E | PPL/WHT LT GRN | 889 (LT) 89 (RT) | Mirror Switch - Up/Down | ||||
F | -- | -- | Not Used | ||||
| |||||||
|---|---|---|---|---|---|---|---|
Connector Part Information |
| ||||||
Pin | Wire Color | Circuit No. | Function | ||||
A-B | -- | -- | Not Used | ||||
C | RED/WHT WHT | 881 (LT) 81 (RT) | Mirror Motor - Left/Right | ||||
D | GRY LT BLU | 90 (LT) 82 (RT) | Mirror Motor - Dual Circuit Up/Down - Left/Right | ||||
E | PPL/WHT LT GRN | 889 (LT) 89 (RT) | Mirror Motor - Up/Down | ||||
F | -- | -- | Not Used | ||||
| |||||||
|---|---|---|---|---|---|---|---|
Connector Part Information |
| ||||||
Pin | Wire Color | Circuit No. | Function | ||||
A | PPL/WHT | 889 | Left Mirror Motor - Up/Down | ||||
B | RED/WHT | 881 | Left Mirror Motor - Right/Left | ||||
C | BLK | 550 | Ground - Left Body Ground Splice Pack | ||||
D | ORN | 340 | IPFB Body Fuse - B+ | ||||
E | LT GRN | 89 | Right Mirror Motor - Up/Down | ||||
F | WHT | 81 | Right Mirror Motor Right/Left | ||||
G | LT BLU | 82 | Right - Dual Circuit Up/Down/Right/Left | ||||
H | GRY | 90 | Left - Dual Circuit Up/Down/Right/Left | ||||
| |||||||
|---|---|---|---|---|---|---|---|
Connector Part Information |
| ||||||
Pin | Wire Color | Circuit No. | Function | ||||
A | LT GRN (LT) DK GRN (RT) | 170 (RT) 168 (LT) | Power Window/Mirror Switch - Up | ||||
B | DK BLU | 670 (RT) 668(LT) | Right Rear Window Motor - Up Left Rear Window Motor - Up | ||||
C | DK BLU | 1307 (RT) 1307 (LT) | Power Window/Mirror Switch - Lockout | ||||
D | PPL | 171 (RT) 169 (LT) | Power Window/Mirror Switch - Lockout | ||||
E | BRN | 671 (RT) 669 (LT) | Right Rear Window Motor - Down Left Rear Window Motor - Down | ||||
| |||||||
|---|---|---|---|---|---|---|---|
Connector Part Information |
| ||||||
Pin | Wire Color | Circuit No. | Function | ||||
A | BLK | 550 | Left Body Ground Splice Pack | ||||
B | DK BLU | 164 | Left Up | ||||
C | BRN | 165 | Left Down | ||||
D-F | -- | -- | Not Used | ||||
G | PPL | 638 | IPFB - Power Window Relay | ||||
H | LT BLU | 166 | Right Up | ||||
J | TAN | 167 | Right Down | ||||
K-M | -- | -- | Not Used | ||||
| |||||||
|---|---|---|---|---|---|---|---|
Connector Part Information |
| ||||||
Pin | Wire Color | Circuit No. | Function | ||||
A | BLK | 550 | Ground | ||||
B | DK BLU | 164 | Left Front Up | ||||
C | BRN | 165 | Left Front Down | ||||
D | PPL | 169 | Left Rear Down | ||||
E | DK BLU | 1307 | Lockout Switch - Left Rear | ||||
F | DK BLU | 1307 | Lockout Switch - Right Rear | ||||
G | PPL | 638 | IPFB - Power Window Relay | ||||
H | LT BLU | 166 | Right Front Up | ||||
J | TAN | 167 | Right Front Down | ||||
K | LT GRN | 170 | Right Rear Up | ||||
L | PPL | 171 | Right Rear Down | ||||
M | DK GRN | 168 | Left Rear Up | ||||
| |||||||
|---|---|---|---|---|---|---|---|
Connector Part Information |
| ||||||
Pin | Wire Color | Circuit No. | Function | ||||
A | LT GRN DK GRN | 170 (RT) 168 (LT) | Rear Door Window Switches-Up | ||||
B | DK BLU | 670 (RT) 668 (LT) | Rear Door Window Switches-Up | ||||
C | DK BLU | 1307 (RT) 1307 (LT) | Lockout | ||||
D | PPL | 171 (RT) 169 (LT) | Down | ||||
E | BRN | 671 (RT) 669 (LT) | Down | ||||