GM Service Manual Online
For 1990-2009 cars only
Figure 1:
Object Number: 863611  Size: MF
(a)Right Forward Lamp Ground Splice Pack
(b)Left Forward Lamp Ground Splice Pack
(c)IP Chassis Ground
(d)Chassis Ground (Shock Tower)
(e)Main Engine Ground
(f)Rear Engine Ground
(l)Splice Pack #1 and #2
(n)Left Body Ground Splice Pack
(r)H-Brace Ground
(s)Left Rear Body Ground Splice Pack
(t)Left Rear Body Ground
(u)Right Rear Body Ground
(x)Cylinder Head/Mount Ground
(w)Right Shock Tower Ground
Figure 2:
Object Number: 863613  Size: MF
(a)Right Forward Lamp Ground Splice Pack
(b)Left Forward Lamp Ground Pack
(c)IP Chassis Ground
(d)Chassis Ground (Shock Tower)
(e)Main Engine Ground
(f)Rear Engine Ground
(l)I/P Splice Pack #1 and #2
(n)Left Body Ground Splice Pack
(r)H-Brace Ground
(s)Left Rear Body Ground Splice Pack
(t)Left Rear Body Ground
(x)Cylinder Head/Mount Ground
(w)Right Shock Tower Ground
Figure 3:

Right Forward Lamp Ground and Splice Pack (A) - (SL/SW Shown, SC Similar)


Object Number: 863805  Size: MF
(1)Splice Pack
(2)Forward Lamp Harness
(3)Ground
Figure 4:

Left Forward Lamp Ground (B) and Chassis Ground (C)


Object Number: 863805  Size: MF
(1)I/P Harness
(2)Chassis Ground
(3)B+ Cable to UHFB
(4)B+ Cable
(5)B- Cable
(6)Left Forward Lamp Ground
Figure 5:

Engine Grounds


Object Number: 863801  Size: MF
(1)Engine Harness
(2)Main Engine Ground
(3)Rear Engine Ground
Figure 6:

I/P Splice Packs #1 and #2


Object Number: 863038  Size: MF
(1)I/P Harness
(2)I/P Splice Pack #1
(3)I/P Splice Pack #2
(4)ABS/SIR Splice Pack
(5)I/P Cluster Connectors
Figure 7:

Left Body Ground and Splice Pack (N) - (SL/SW Shown, SC Similar)


Object Number: 863038  Size: MF
(1)Body Harness
(2)Left Body Ground & Splice Pack
Figure 8:

Blower Motor Ground (R)


Object Number: 862910  Size: MF
(1)Blower Motor Ground
(2)I/P Harness
(3)IPFB
(4)IPFB Ground
Figure 9:

Left Rear Body Ground and Splice Pack (T) and Right Rear Ground (U) - (SL Shown, SC Similar)


Object Number: 862985  Size: MF
(1)Right Rear Speaker
(2)Body Harness
(3)Left Rear Speaker
(4)Left Rear Body Ground & Splice Pack
(5)Right Rear Body Ground
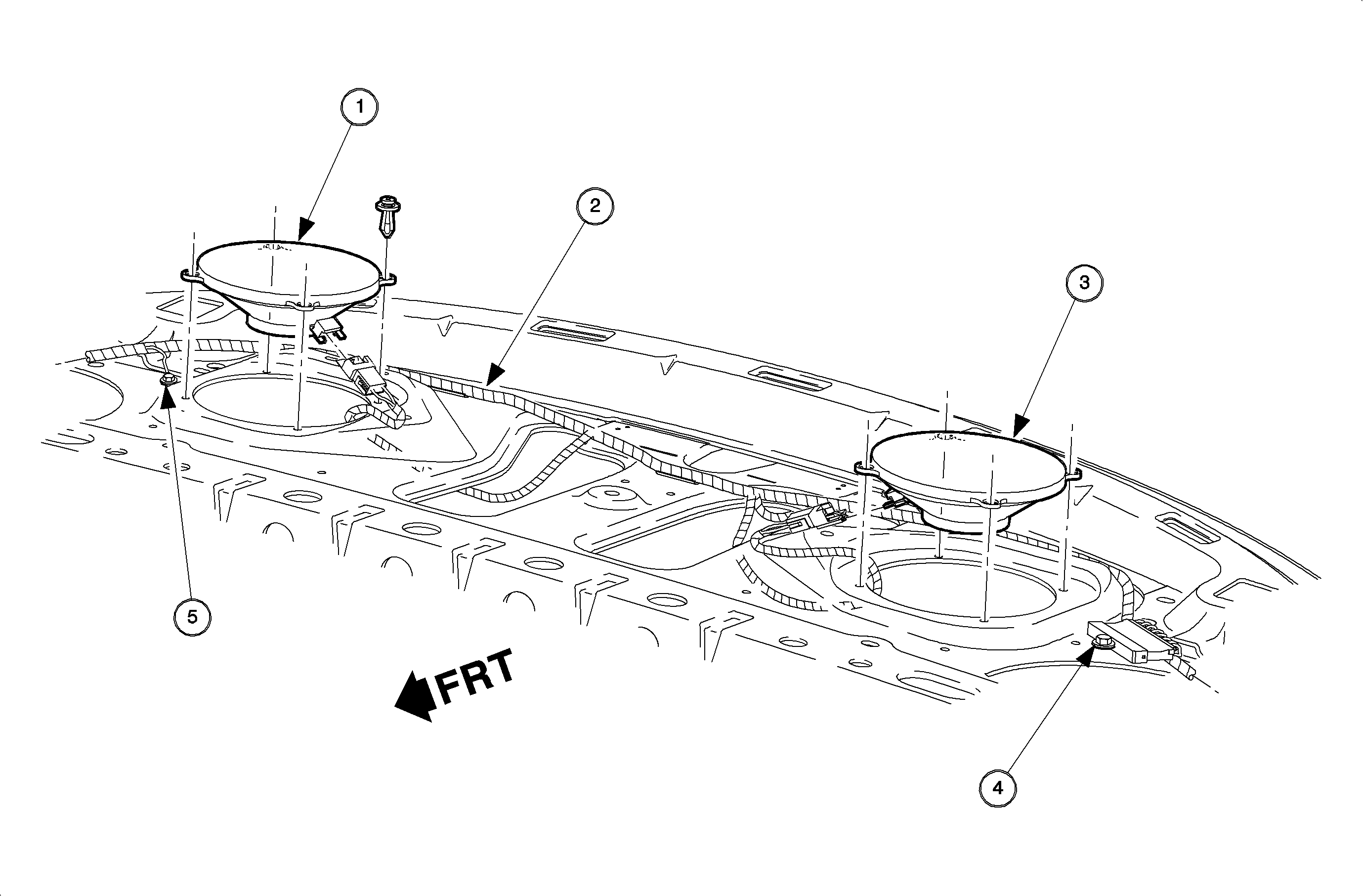
Figure 10:

Left Rear Body Ground Splice Pack (S) - (SW Only)


Object Number: 862986  Size: MF
(1)Body Harness
(2)Left Rear Body Ground Splice Pack
Figure 11:

Left Rear Body Ground (T) - (SW Only)


Object Number: 863010  Size: MF
(1)Inline to Left Rear Taillamps
(2)Body Harness
(3)Left Rear Body Ground
(4)Fuel Pump Inline
Figure 12:

SDM Ground


Object Number: 863028  Size: MF
(1)SDM Ground
(2)Sensing and Diagnostic Module (SDM)