GM Service Manual Online
For 1990-2009 cars only

Tools Required

SA9119T Input Shaft Holding Tool


    Object Number: 863878  Size: SH

    Caution: When using solvent parts cleaner, review all safety procedures recommended by your supplier, state and local agencies.

    Notice: The transaxle should be worked on in a clean area free from dirt or foreign objects that could cause improper operation of the transaxle.

  1. Remove the torque converter.
  2. Using 2 screwdrivers, pop the converter out.

  3. Object Number: 863881  Size: SF
  4. Remove the 2 converter housing-to-case bolts that are located in the converter housing behind the torque converter.
  5. Remove the pressure filter, input speed sensor, output speed sensor, transaxle fluid temperature sensor, and oil level indicator tube to prevent damage while handling the transaxle.

  6. Object Number: 863629  Size: SH
  7. Remove the valve body cover and gasket.

  8. Object Number: 863635  Size: SH
  9. Remove the 11 valve body-to-case bolts, identified on the illustration by the heavy circles.
  10. Important: If necessary, perform the air check procedure here. Refer to Clutch Air Check for instructions.


    Object Number: 863887  Size: SH
  11. Remove the valve body from transaxle.

  12. Object Number: 864976  Size: SH
  13. Remove the transaxle range switch bolts and remove the switch.
  14. Notice: When tightening and loosening the nuts on the manual detent lever shaft be sure to hold the shaft from rotating to prevent damage to the park lever rod.

    Important: Place a clean rag in the transaxle case under the manual detent lever in case anything gets dropped.


    Object Number: 864854  Size: SH
  15. Remove the inner nut that retains the manual detent lever.
  16. Remove the switch and manual detent lever assembly.
  17. Disconnect park lever rod from manual detent lever and remove manual detent lever and manual valve link.
  18. If diagnosing for a complaint/condition, refer to Clutch Air Check .

  19. Object Number: 864609  Size: SH
  20. Rotate the transaxle on the bench top so that the end cover faces up.
  21. Remove the end cover retaining bolts.
  22. Important: To avoid bending the tubes when removing the end cover, lift straight up until both tubes have cleared the shafts.

  23. Tap with a plastic mallet to loosen the end cover and remove.

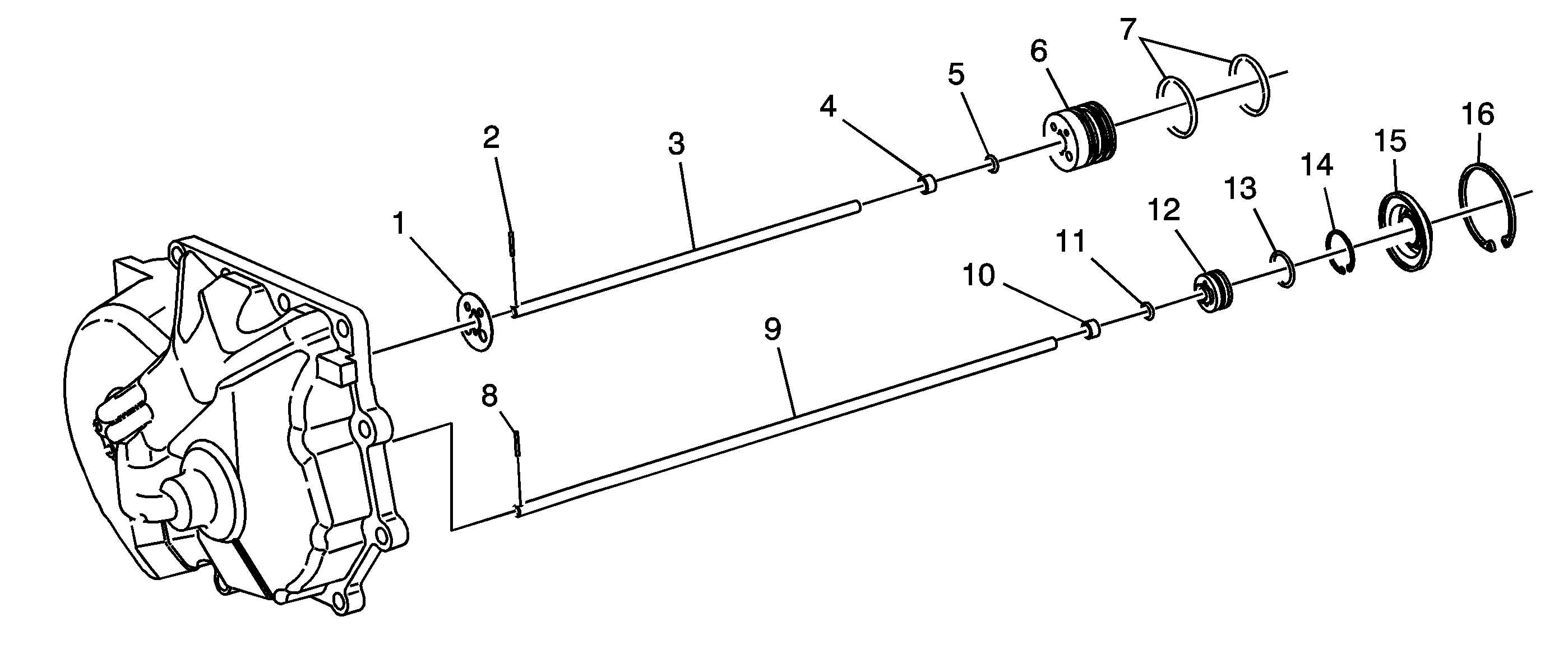
  24. Object Number: 1640870  Size: SH
  25. If 1st design end cover remove the 2 external input shaft hub bolts (1).
  26. If 2nd design end cover remove the 2 internal TORX® input shaft hub bolts (2).

  27. Object Number: 1640877  Size: SF
  28. Remove the input shaft tube assemblies from the end cover.
  29. Remove the input hub gasket (1) from the end cover.
  30. Remove the input shaft pilot hub (6) from the input shaft inner tube (3).
  31. Remove the input tube seal ring (4) and the inner tube O-ring seal (5).
  32. Remove the 2 input shaft hub ring seals (7).
  33. Remove the output shaft lip seal retainer ring (16) and the output shaft lip seal (15) from the end cover.
  34. Remove the output shaft hub and tube retainer ring (14) from the end cover.
  35. Remove the output shaft hub with the output shaft tube from the end cover.
  36. Remove the input tube seal ring (10) and the inner tube O-ring seal (11).
  37. Remove the output shaft hub O-ring seal (13).
  38. Important: To hold transaxle in place while removing nuts, drill two holes in the bench top to align with top two transaxle to engine bolt holes and put bolts through the transaxle into the holes.


    Object Number: 863891  Size: SH
  39. Install the SA9119T .

  40. Object Number: 863905  Size: SH

    Important: Save at least one set of input and output shaft clamp nuts to use for checking shaft end clearance during reassembly.

  41. Remove the input shaft nut.
  42. Remove the holding tool, engage the parking pawl to prevent output shaft from rotating, and remove the output shaft nut.
  43. Remove the 1st clutch housing and 1st drive gear.

  44. Object Number: 864584  Size: SH
  45. Remove the 1st driven gear and sprag clutch from the output shaft.

  46. Object Number: 864734  Size: SH
  47. Disassemble the sprag clutch assembly.
  48. 33.1. With your hands, press the 1st driven gear hub out of the 1st driven gear.
    33.2. Remove the retainer and discard.
    33.3. Remove the sprag clutch.

    Object Number: 863922  Size: SH
  49. Remove the forward/reverse fork retaining bolt, the forward/reverse servo piston cover bolts, cover, spring, servo piston, and shift fork.

  50. Object Number: 863913  Size: SH
  51. Remove the case to the torque converter housing retaining bolts. Position the park rod to avoid interference.
  52. Use a large screwdriver to pry the 2 case halves apart using the pry slots provided (1). This may take some rocking back and forth to work the case off the bearings, and in order to break the seal.
  53. Remove the case. Check the underside of the case for a stuck thrust washer and bearing.
  54. Notice: If input shaft, output shaft and differential are not lifted out together, damage to the output shaft roller bearing inner race may result.


    Object Number: 863924  Size: SH
  55. Lift the input shaft, output shaft and differential assembly out of the converter housing by grabbing the ends of both shafts, and have an assistant lift differential. Rotate the shafts and differential while lifting.