GM Service Manual Online
For 1990-2009 cars only
Makes
🢒
Saturn
🢒
2004
🢒
VUE - AWD
🢒
Engine
🢒
Engine Controls - 3.5L (L66)
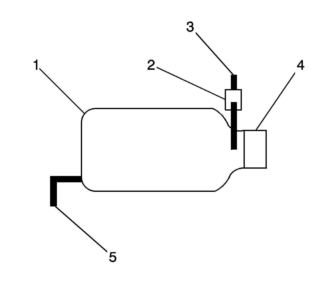
🢒 Emission Hose Routing Diagram
(1)
Intake Manifold
(2)
Evaporative Emissions (EVAP) Canister Purge Solenoid
(3)
Emissions Hose to EVAP Canister
(4)
Throttle Body Assembly
(5)
PCV Hose to Cylinder Head Cover