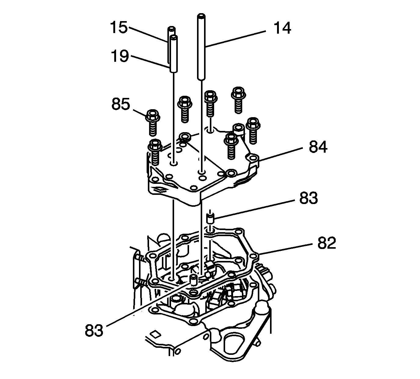
- Remove the clutch pressure control fluid
pipes (14 and 15), and the fluid feed pipe (19).
- Remove the 7 clutch pressure control solenoid manifold bolts (85).
- Remove the clutch pressure control solenoid manifold (84).
- Remove the clutch pressure control solenoid manifold gasket (82).
- Remove the 2 clutch pressure control solenoid manifold locating
pins (83).