GM Service Manual Online
For 1990-2009 cars only

Tools Required

    • DT 46666 Compressor
    • SA9178NE-A Dial Indicator

    Object Number: 1353662  Size: SH

    Important: 

       • Use this procedure to measure the following clutch assemblies clutch backing plate clearance:
          - 1st Clutch
          - 2nd Clutch
          - 3rd Clutch
          - 4th Clutch
          - 5th Clutch
       • A hydraulic press is used during this procedure and it may be beneficial to place the clutch hub on the press plates before starting the measurements.

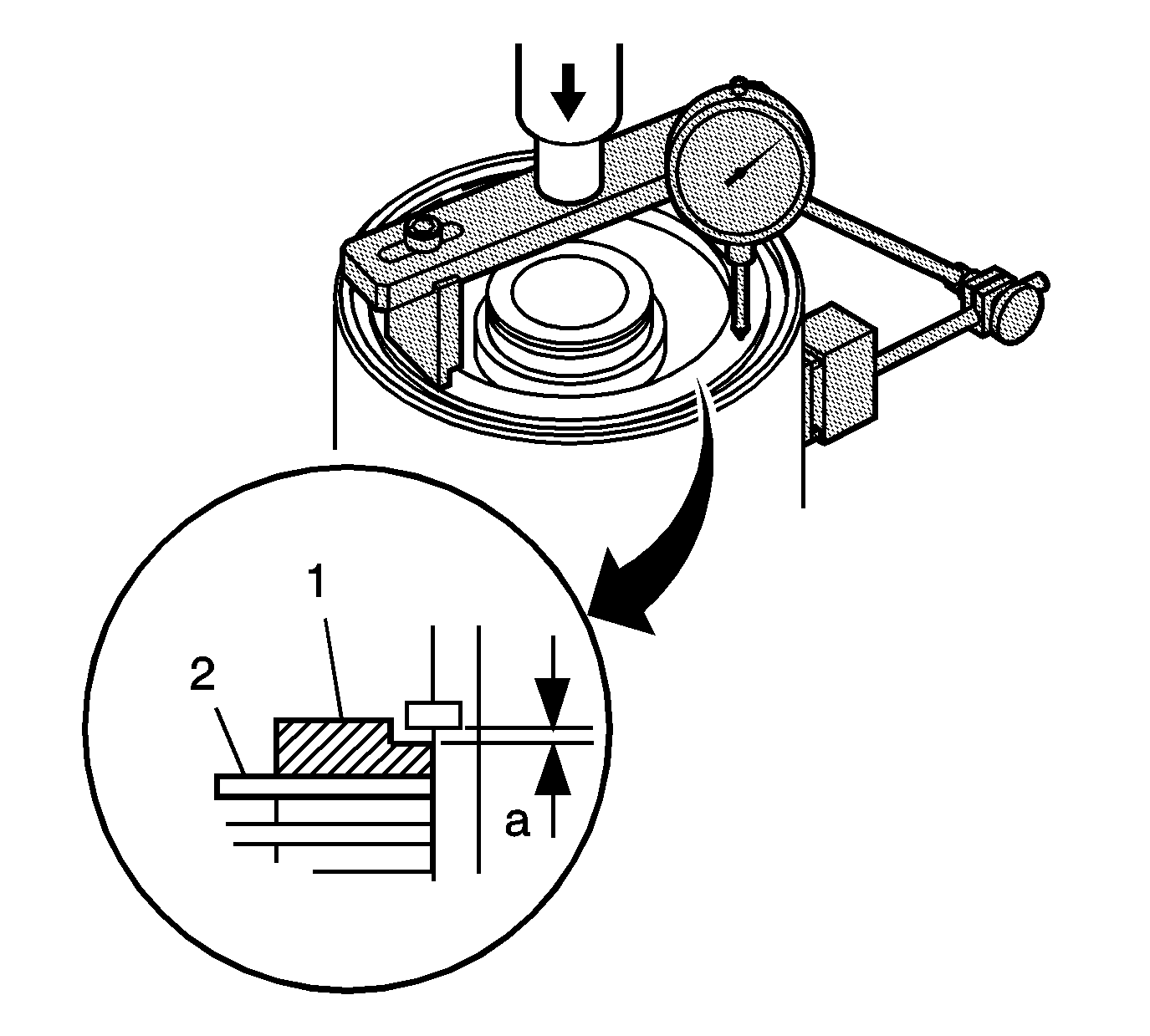
  1. Install the SA9178NE-A on the clutch hub.
  2. Position the dial indicator pointer on the clutch backing plate (2).
  3. Lift the clutch backing plate (2) to the clutch backing plate retaining ring (1).
  4. Zero the gauge of the SA9178NE-A while the backing plate is against the retaining ring.

  5. Object Number: 1353663  Size: SH
  6. Release the clutch backing plate and place DT 46666 on the backing plate.
  7. Using a hydraulic press apply only 39 N·m (9 lb ft) on the DT 46666 . If a press gauge is not available apply only enough pressure until the dial indicator pointer quits moving.
  8. Read the dial indicator. This reading is the clearance (a) for the clutch backing plate to the top fiber plate.
  9. Measure at least 3 places and average the 3 measurements. Use the average measurement as the actual clearance.
  10. 1st Design Specifications

        • 1st clutch: 1.1-1.3 mm (0.043-0.051 in)
        • 2nd clutch: 1.0-1.2 mm (0.039-0.047 in)
        • 3rd clutch: 0.7-0.9 mm (0.028-0.035 in)
        • 4th clutch: 0.55-0.75 mm (0.022-0.030 in)
        • 5th clutch: 0.55-0.75 mm (0.022-0.030 in)

    2nd Design (Wave Plate) Specifications

        • 1st clutch: 1.1-1.3 mm (0.043-0.051 in)
        • 2nd clutch: 1.1-1.15 mm (0.039-0.045 in)
        • 3rd clutch: 0.8-0.9 mm (0.031-0.035 in)
        • 4th clutch: 0.65-0.75 mm (0.025-0.030 in)
        • 5th clutch: 0.65-0.75 mm (0.025-0.030 in)
  11. If the clearance is not within specifications, replace the clutch steel and fiber plates, if not new.
  12. If the clearance is still not within specifications, select a thinner backing plate to increase the measurement or a thicker backing plate to reduce the clearance listed in the specification table. Refer to Shim Size Specifications .
  13. After installing a new backing plate, measure the clearance again to ensure the clearance is within specifications.