GM Service Manual Online
For 1990-2009 cars only

Tools Required

    • DT 46418 Driver
    • DT 46427 Driver
    • DT 46509 Tube Style Driver
    • DT 46516 Driver
    • DT 46540 Wrench
    • EN 46342 Driver Handle
    • SA9179NE Dial Indicator

    Object Number: 1507160  Size: SH

    Important: If the transaxle has a failure of the coast clutch sprag assemble or any of the below parts, a service kit is available. Replace all of the parts of the kit to prevent loss of adequate lubrication. The kit includes the following parts:

       • Torque converter housing
       • 1st/2nd clutch shaft
       • 3rd clutch shaft
       • 1st drive gear
       • Coast clutch sprag assembly

  1. Inspect the 1st/2nd clutch shaft to determine if the fluid passage hole matches the 1st design or the 2nd design. In the 1st design (1) the fluid passage hole diameter is 3.2 mm. In the 2nd design (2) the fluid passage hole diameter is 3.0 mm.

  2. Object Number: 1507161  Size: SH
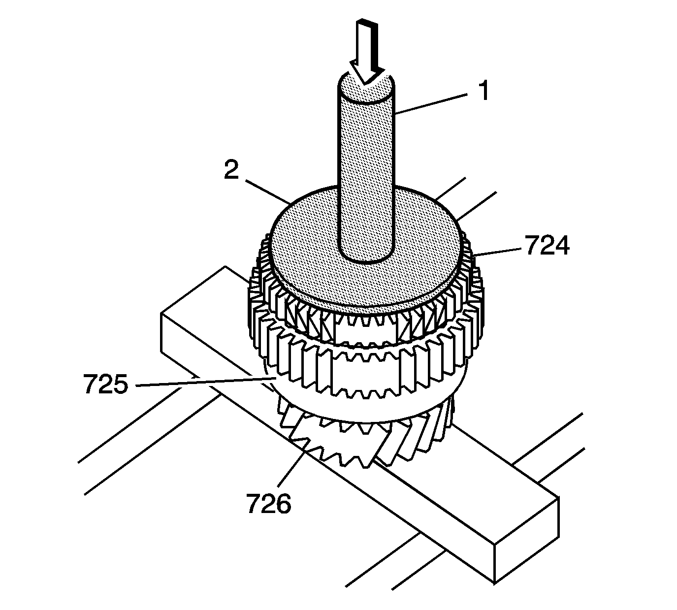
  3. Inspect the coast sprag assembly (725) to determine if the angle step matches the 1st design or the 2nd design. The 1st design (1) has a single angle step by the bearing journal shoulder. The 2nd design (2) has a double angle step by the bearing journal shoulder.
  4. Inspect the 1st drive gear (726) to determine if there are end plates covering the bearing. In the 1st design (3) there are end plates covering the bearing. The 2nd design (4) does not use end plates and the bearing is exposed.

  5. Object Number: 1507162  Size: SH
  6. If disassembled or installing the 2nd design coast sprag assembly (725) and the 1st drive gear (726), install the 1st drive gear in the coast sprag assembly.
  7. • Push in on the sprag rollers
    • Keep the 1st drive gear square to the sprag assembly
    • The components will slide together without being forced
  8. Partially install the coast clutch hub (724) in the coast sprag assembly (725).

  9. Object Number: 1203947  Size: SH
  10. Using the EN 46342  (1) and the DT 46427  (2) with a hydraulic press, complete the installation of the coast clutch hub (724) in the coast sprag assembly (725).

  11. Object Number: 1203945  Size: SH
  12. Inspect the operation of the 1st/coast hub and coast sprag assembly (752).
  13. • Hold the coast clutch (724) and turn clockwise the 1st drive gear (726). The assembly should turn freely clockwise.
    • Turn the 1st drive gear (726) the opposite direction, counter clockwise. The assembly should lock.

    Object Number: 1203948  Size: SH
  14. Lubricate all of the components with automatic transmission fluid during assembly.
  15. Wrap the splines on the shaft end of the 1st/2nd clutch shaft with tape. This is to prevent damage to the seals during installation.
  16. Install the two new 31.2 mm x 1.9 mm 2nd clutch housing fluid passage seals (737).
  17. Remove the tape.
  18. Install the 2nd clutch assembly (756) in the clutch shaft.
  19. Install the 32 mm 2nd clutch housing retaining ring (751).

  20. Object Number: 1345511  Size: SH
  21. Install the following components on the 1st/2nd clutch shaft (736):
  22. • 2nd drive gear thrust bearing (731)
    • 2nd drive gear inner bearing (733)
    • 2nd drive gear and clutch hub and park gear assembly (732)
    • 2nd drive gear thrust bearing (731)
    • 1st/2nd clutch shaft drive gear (730) in the direction shown
    • 1st drive gear thrust bearing (727)
    • 1st drive gear bearing race (729)
    • Install with the lube holes in the up position. Align the race with the lube groove of the 1st and 2nd clutch shaft (736).
    • 1st drive gear inner bearing (728)
    • 1st/coast hub and coast sprag assembly (752)
    • 1st/coast clutch thrust bearing (723)
    • 1st/coast clutch hub selective thrust bearing washer (722) in the direction shown

    Object Number: 1345512  Size: SH
  23. Wrap the splines on the 1st and 2nd clutch shaft (736) with tape.
  24. Install 3 new 1st and coast clutch housing 26.7 mm x 1.9 mm O-ring seals (735) in the 1st coast clutch O-ring grooves of the 1st and 2nd clutch shaft (736).
  25. Remove the tape from the clutch shaft.

  26. Object Number: 1345515  Size: SH
  27. Install the 1st coast clutch assembly (757) onto the 1st and 2nd clutch shaft (736). Turn the clutch hub to align to the clutch discs. Ensure the hub is installed completely in the clutch discs.

  28. Object Number: 1203949  Size: SH
  29. Install the 1st and 2nd clutch shaft rear bearing (719) on the 1st/2nd clutch shaft (736) using DT 46509 and a hydraulic press.

  30. Object Number: 1203942  Size: SH
  31. Measure the axial clearance for the 1st drive gear (726).
  32. 20.1. Position the 1st/2nd clutch shaft assembly in a soft-jaw vise.
    20.2. Install the SA9179NE and a hole attachment tool on the 1st/coast hub (752).
    20.3. Set the dial indicator to zero.
    20.4. Lift up on the 1st/coast hub (752) and record the axial clearance reading.
    20.5. Measure the axial clearance in two more locations.
    20.6. Average the readings to get the axial clearance.

    Specifications
    1st gear axial clearance 0.085-0.130 mm (0.003-0.05 in)

    • Replace the 1st/coast hub washer (722) with a thicker washer to be within the axial clearance specifications.
    • if the axial clearance is still higher than the specification, disassembly the 1st/2nd clutch shaft and inspect for excessive wear on the thrust bearing surfaces of the gears. Refer to 1st/2nd Clutch Shaft in Transmission Clearance Specifications .
    • If the axial clearance is lower than the specification, inspect for burrs or contamination on the thrust bearing surfaces or the gears.

    Object Number: 1203950  Size: SH
  33. Using DT 46509  (1) and DT 46418  (2), install the new 1st/2nd clutch shaft retaining nut washer (720). The marked side of the washer aligns up.

  34. Object Number: 1203951  Size: SH
  35. Install a new 26 mm, 1st and 2nd clutch shaft retaining nut (721).
  36. Hand tighten the nut to seat against the washer.
  37. Notice: Refer to Fastener Notice in the Preface section.


    Object Number: 1358313  Size: SH
  38. Use the following to tighten the 1st/2nd clutch shaft retaining nut (721):
  39. 24.1. Lay the 1st/2nd clutch shaft assembly on a bench.
    24.2. Insert DT 46540 between the 1st/coast clutch housing (718) and the 1st/2nd clutch shaft rear bearing (719).
    24.3. Using a torque wrench and 38 mm six point socket tighten the 1st/2nd clutch shaft retainer nut (721).
           - Do not use an impact wrench.
           - Hold the DT 46540 against the bench top.

    Tighten
    Tighten the retaining nut to 178 N·m (132 lb ft)


    Object Number: 1203953  Size: SH
  40. Using a 3.5 mm (9/64 in) punch (1), stake the 1st and 2nd clutch shaft retaining nut (721)
  41. Specification
    Stake the 1st and 2nd clutch shaft retaining nut to 0.7-1.3 mm (0.03-0.05 in)


    Object Number: 1507166  Size: SH
  42. Install new 1st/2nd clutch shaft fluid passage seals (738) on the 1st/2nd clutch shaft.