GM Service Manual Online
For 1990-2009 cars only

Tools Required

    • J 23327 Spring Compressor
    • J 28585 Snap Ring Remover
    • J 45124 Removable Bridge

    Object Number: 1345537  Size: SH
  1. Using J 28585 , remove the 3rd clutch, backing plate retaining ring (810) from the 3rd clutch assembly (831).

  2. Object Number: 1345547  Size: SH
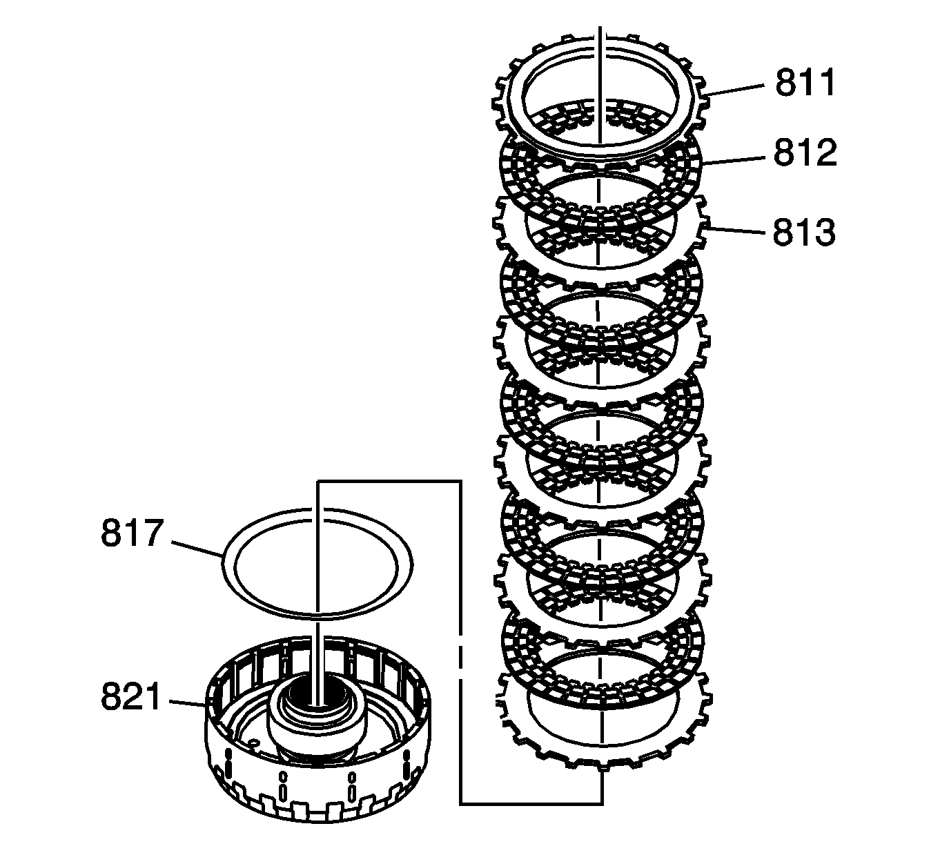
  3. Remove the following components from the 3rd clutch housing (821):
  4. • 3rd clutch selective backing plate (811)
    • 3rd clutch fiber plates (812)
    • 3rd clutch steel plates (813)
    • 3rd clutch spring plate (817)

    Object Number: 1345556  Size: SH

    Important: Position the legs of the J 45124 on the spring retainer cap only where the spring is in contact with the cap.

  5. Using the bridge and legs of the J 45124  (2) with the forcing screw of the J 23327  (1) and J 21420-2 (3) plate of the J 23327 compress the clutch piston return spring until the groove for the clutch spring retainer cap retaining ring is accessible.
  6. • Adjust the legs of the J 45124 to have full contact with the clutch piston return spring retainer cap.
    • Do not place the legs on the spring retainer cap that is not supported by the spring.
    • Ensure the legs remain in position where the spring retainer cap is in contact with the spring.

    Object Number: 1345563  Size: SH
  7. Using snap ring pliers, remove the 3rd clutch piston retaining ring (814).

  8. Object Number: 1345571  Size: SH
  9. Remove the tools.
  10. Remove the 3rd clutch piston retaining ring (814).
  11. Remove the 3rd clutch piston spring cap (815).
  12. Remove the 3rd clutch piston return spring (816).

  13. Object Number: 1349738  Size: SH
  14. Install the 3rd clutch housing (821) onto the 3rd clutch shaft (823).
  15. Caution: When you use compressed air in order to clear fluid passages and to dry parts, always aim the air pressure away from face and eyes. Always wear adequate eye protection in order to avoid injury from dirt and debris that may adhere to parts.

  16. Apply compressed air to the 3rd clutch piston fluid apply port located in the 3rd clutch shaft in order to remove the piston.

  17. Object Number: 1345574  Size: SH
  18. Remove the following components from the 3rd clutch piston (818):
  19. • 3rd clutch piston, outer O-ring seal (819)
    • 3rd clutch piston, inner O-ring seal (820)