GM Service Manual Online
For 1990-2009 cars only

The 3.5L RPO-L66 engine has a high speed cam system that increases engine output above 4,400 RPM. The increase in power is possible because valve lift is significantly increased between 4,400 and 6,500 RPM. A second camshaft lobe with a high lift profile is ground into each camshaft, alongside the low-medium speed lobes. In order to use the high speed cam only when desired, the engine utilizes a rocker arm oil control system. The system uses unique rocker arms that are hydraulically operated and electronically controlled.


Object Number: 1233231  Size: SH
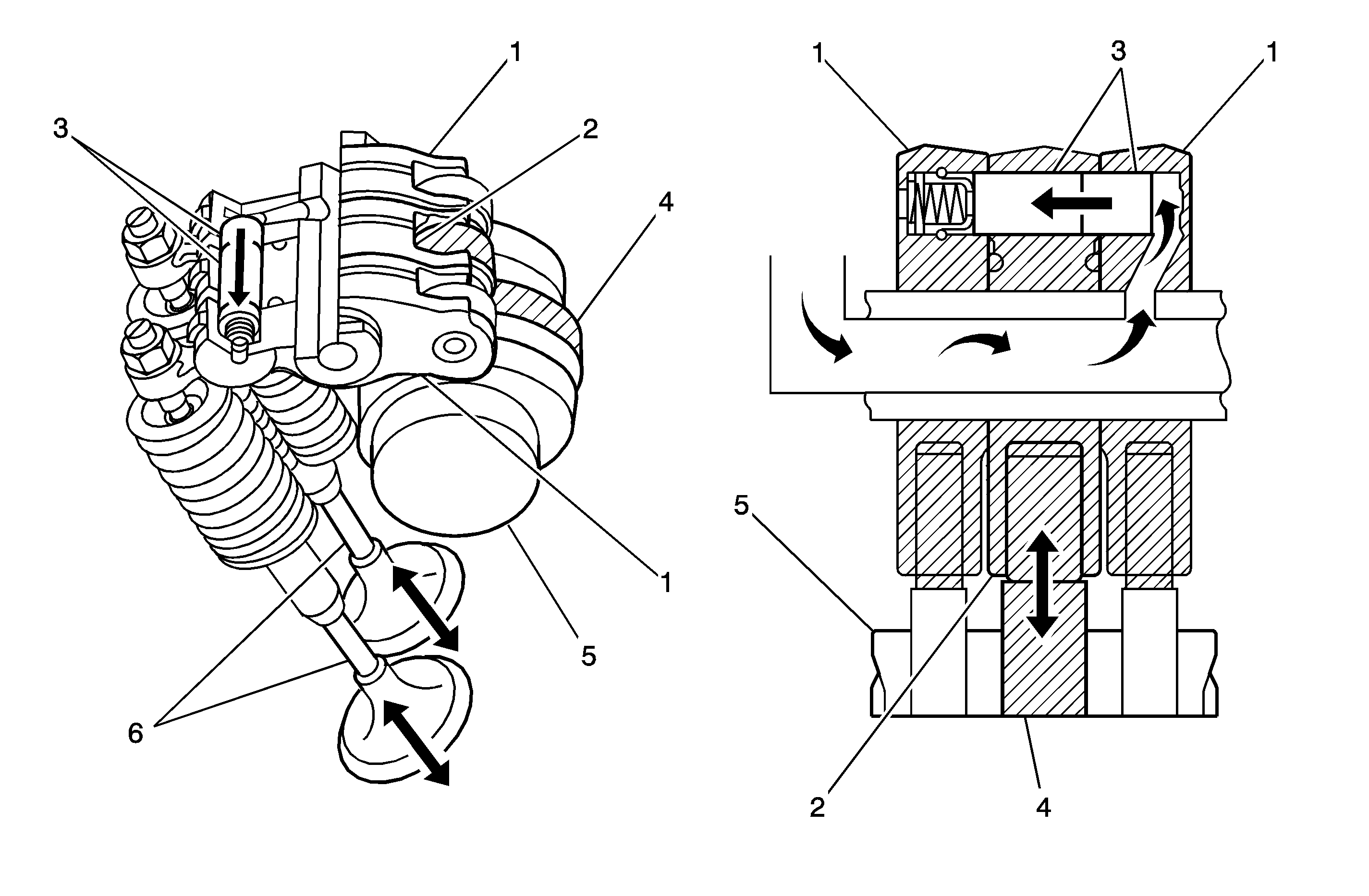
(1)Synchronizing Pistons
(2)Low-Medium Speed Intake Rocker Arms
(3)High Speed Intake Rocker Arm
(4)Exhaust Rocker Arms
(5)Camshaft
(6)Exhaust Valves
(7)Intake Valves

The three intake rocker arms (2 and 3) ride on rocker arm shafts as do the two exhaust rocker arms (4). The rocker arm shafts supply engine oil to the rocker arms. When the flow of oil to the rocker arms increases, the synchronizing pistons (1) move and lock the three rocker arms together. With all three rocker arms locked together, the high speed cam lobe opens and closes the intake valves (7).


Object Number: 1233245  Size: SH

The flow of oil thru the rocker shafts to the rocker arms is controlled by the rocker arm oil control solenoid. A rocker arm oil pressure switch monitors the operation of the oil control solenoid. The rocker arm oil control solenoid (1) and the oil pressure switch (3) are located near the engine oil filter (2) on the lower right rear corner of the engine.

System Operation

The rocker arm oil control system is an electronically controlled, hydraulically operated system that provides good low speed torque and high speed horsepower. The engine control module uses an electronic solenoid to control the flow of oil to the rocker arms. In order to determine when to transition from low to high speed operation, the control module relies on the following information:

    • Engine speed
    • Engine load
    • Engine operating temperature
    • Vehicle speed

Low-Medium Speed Cam Operation


Object Number: 1233252  Size: MF
(1)Low-Medium Speed Intake Rocker Arms
(2)High Speed Intake Rocker Arm
(3)Piston Spring
(4)Synchronizing Pistons
(5)Low-Medium Speed Cam Lobes
(6)Camshaft
(7)Intake Valves

At engine speeds below 4,400 RPM, the low-medium speed cam lobes (5) open and close the intake valves (7) thru the low-medium speed rocker arms (1). During low-medium speed operation, the rocker arm oil control solenoid is OFF and there is no oil flow to the rocker arms. Without oil flow there is no oil pressure, and the piston spring (3) keeps the synchronizing pistons (4) at rest in their bores within the three rocker arms (1 and 2). This allows the high speed rocker arm (2) to move independently of the two low-medium speed rocker arms (1) while following the high speed cam lobe.

High Speed Cam Operation


Object Number: 1233253  Size: MF
(1)Low-Medium Speed Intake Rocker Arms
(2)High Speed Intake Rocker Arm
(3)Synchronizing Pistons
(4)High Speed Cam Lobe
(5)Camshaft
(6)Intake Valves

When engine speed exceeds 4,400 RPM engine oil is allowed to flow unobstructed to the rocker arms. This flow of oil into the rocker arm oil passages creates an increase in oil pressure. The increase in oil pressure moves the synchronizing pistons (3) further into their bores, compressing the piston spring. As the spring is compressed, the shifted pistons lock all three rocker arms together (1 and 2). When locked together, the low-medium speed rocker arms (1) follow the movement of the high speed rocker arm (2). Because the high speed rocker arm (2) is following the high speed cam lobe (4), the intake valves (6) open with more lift.

System Oil Flow


Object Number: 1233251  Size: SF
(1)Rocker Arm Oil Control Solenoid
(2)Spool Valve
(3)Oil Supply to Engine Block
(4)Right Bank Intake Rocker Arm Assemblies
(5)Oil Return Passages
(6)Left Bank Intake Rocker Arm Assemblies
(7)Oil Supply to Rocker Arms
(8)Oil Return Passage
(9)Oil Supply From Sump
(10)Oil Filter
(11)Rocker Arm Oil Pressure Switch

The flow of engine oil thru the rocker shafts to the intake rocker arms (4 and 6) is controlled by the rocker arm oil control solenoid (1). The oil control solenoid (1) has a plunger that moves a spool valve (2) located in the path of the rocker arm oil supply (7). When the oil control solenoid is energized, the spool valve is positioned to allow maximum oil flow to the intake rocker arms. Because of the restriction to full oil flow in the rocker arm oil passages, oil pressure increases. Excess oil is returned to the oil pan thru the oil return passages (5). The rocker arm oil pressure switch (11) detects oil pressure when the rocker arm oil control solenoid (1) is ON. The oil pressure switch input enables the engine control module to monitor the operation of the rocker arm oil control solenoid.

Rocker Arm Actuator System Operation

Rocker Arm Oil Control Solenoid

Oil Pressure/Flow

Rocker Arm Oil Pressure Switch

On

High

Open

Off

Low

Closed

If there is an open or short in the rocker arm oil control solenoid or the solenoid electrical circuit, DTC P2648 or DTC P2649 sets. If the rocker arm oil pressure switch detects oil pressure when there should be no pressure, DTC P2647 sets. If the rocker arm oil pressure switch detects no oil pressure when there should be pressure, DTC P2646 sets.