GM Service Manual Online
For 1990-2009 cars only

Tools Required

    • J 23327 Spring Compressor
    • J 45124 Adjustable Bridge

    Object Number: 1711928  Size: SH

    Important: The disassemble for either the 4th clutch assembly or the 5th/reverse clutch assembly is the same.

    Important: There are 2 possible configurations for the 4th and 5th/reverse clutch assembly.

    4th Clutch

       • 1st design: four 4th clutch steel flat plates (611)
       • 2nd design: two 4th clutch steel wave plates (650) and two 4th clutch steel flat plates (611)

    5th/Reverse Clutch

       • 1st design: four 5th/reverse clutch steel flat plates (627)
       • 2nd design: two 5th clutch steel wave plates (651) and two 5th clutch steel flat plates (627)

  1. Using a screw driver, remove the clutch backing plate retaining ring (608) or (624).
  2. Remove the clutch selective backing plate (609) or (625).
  3. Remove the clutch steel and fiber plates (610), (611), and (650), if equipped, or (626), (627), and (651), if equipped.
  4. Remove the clutch spring plate (615) or (631).

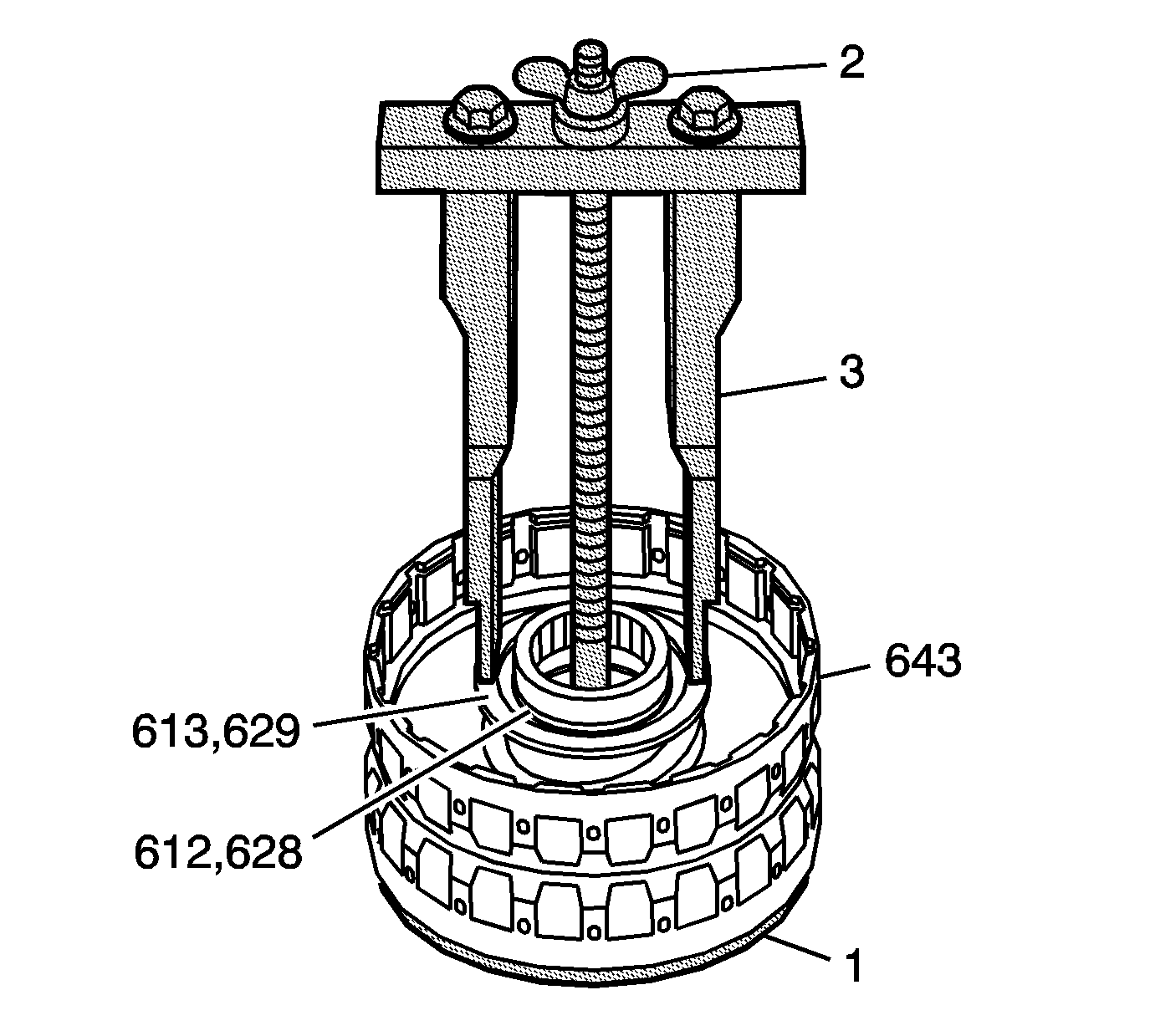
  5. Object Number: 1344612  Size: SH

    Important: Position the legs of the J 45124 on the spring retainer cap only where the spring is in contact with the cap.

  6. Using the bridge and legs of the J 45124  (3) with the forcing screw of the J 23327  (2) and J 21420-2 (1) plate of the J 23327 , compress the clutch piston return spring (614) or (630) until the clutch spring retainer cap retaining ring (612) or (628) is accessible.
  7. • Adjust the legs of the J 45124 to have full contact with the clutch piston return spring retainer cap (613) or (629).
    • Ensure the legs remain in position where the spring retainer cap is in contact with the spring.

    Object Number: 1344614  Size: SH
  8. Remove the clutch piston return spring retaining ring (612) or (628). Remove the tools.
  9. Remove the clutch piston return spring cap (613) or (629), and remove the clutch piston return spring (614) or (630).

  10. Object Number: 1358292  Size: SH
  11. If the 4th and 5th/reverse clutch fluid passage O-ring seals (604) were removed, install the old seals.
  12. Install the clutch housing assembly (643) back onto the mainshaft assembly. Apply compressed air into the appropriate fluid passage hole of the mainshaft assembly in order to remove either clutch piston assembly (616) or (632).
  13. Remove the inner and outer O-ring seals from the clutch pistons.