GM Service Manual Online
For 1990-2009 cars only

    Object Number: 1206159  Size: SH

    Important: Do not have the 3rd clutch shaft fluid passage seals (824) installed at this time on the clutch shaft.

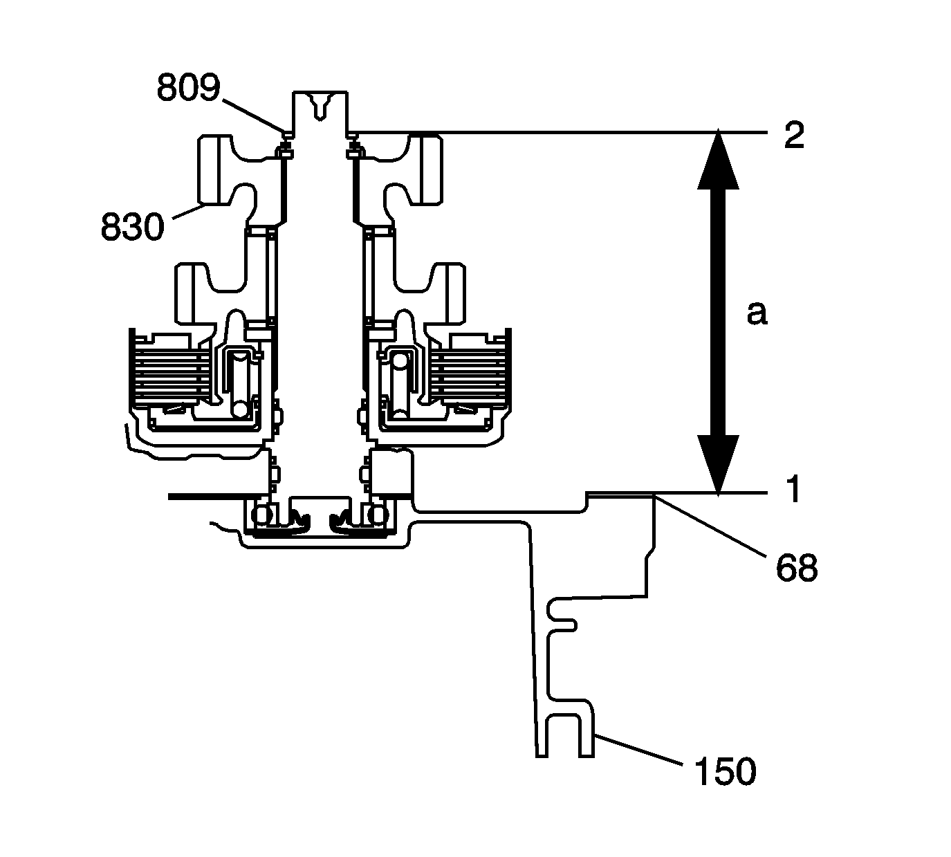
  1. Install the 3rd clutch shaft assembly (830) into the torque converter housing (150).
  2. Install a selective 26.5 mm 3rd clutch shaft washer (809) on the machined end of the 3rd clutch shaft (823).
  3. Install both torque converter housing locating pins into the torque converter housing (150).
  4. Install the torque converter housing gasket (68) into the torque converter housing (150).

  5. Object Number: 1206163  Size: SH
  6. Measure the installed height (a) of the 3rd clutch shaft assembly from the top of the torque converter housing gasket (1) to the top surface (2) of the 3rd clutch shaft installed height washer (809).
  7. Specification:
    The 3rd clutch shaft installation height is between 133.785-133.885 mm (5.2671-5.2711 in)

  8. If the measurement is out of specification, remove the 3rd clutch shaft washer (809) and measure its thickness.
  9. Select and install the correct 3rd clutch shaft washer (809), then measure the installed height again.

  10. Object Number: 1470591  Size: SH
  11. Install 2 new 35 mm 3rd clutch shaft fluid passage seals (824) on the 3rd clutch shaft.