| • | J 23327 Spring Compressor |
| • | J 28585 Snap Ring Remover |
| • | J 45124 Removable Bridge |
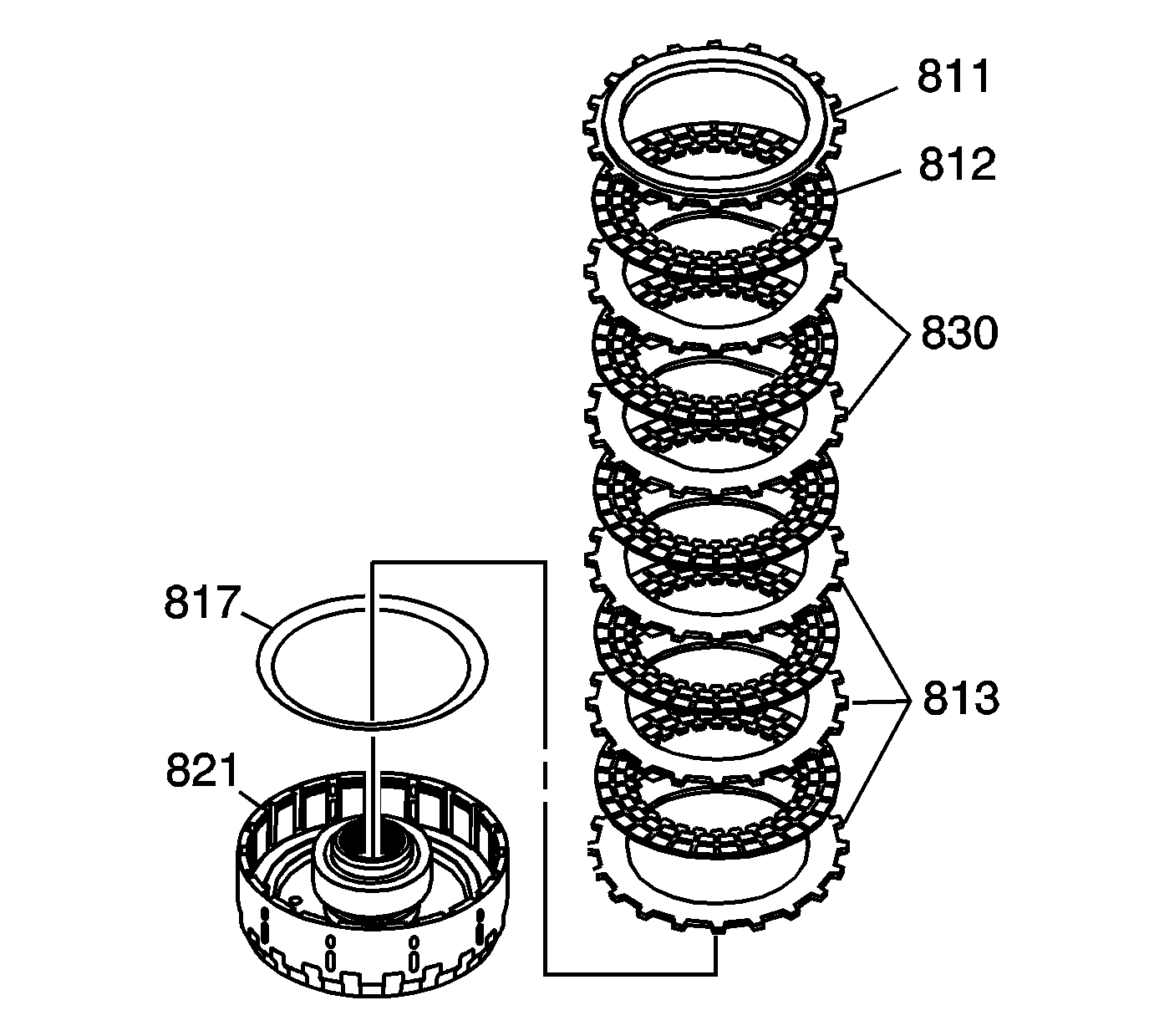
| • | 3rd clutch selective backing plate (811) |
| • | 3rd clutch fiber plates (812) |
| • | 3rd clutch steel wave plates (830) |
| • | 3rd clutch steel flat plates (813) |
| • | 3rd clutch spring plate (817) |
Important: Position the legs of the J 45124 on the spring retainer cap only where the spring is in contact with the cap.
| • | Adjust the legs of the J 45124 to have full contact with the clutch piston return spring retainer cap. |
| • | Do not place the legs on the spring retainer cap that is not supported by the spring. |
| • | Ensure the legs remain in position where the spring retainer cap is in contact with the spring. |
Caution: When you use compressed air in order to clear fluid passages and to dry parts, always aim the air pressure away from face and eyes. Always wear adequate eye protection in order to avoid injury from dirt and debris that may adhere to parts.
| • | 3rd clutch piston, outer O-ring seal (819) |
| • | 3rd clutch piston, inner O-ring seal (820) |