GM Service Manual Online
For 1990-2009 cars only

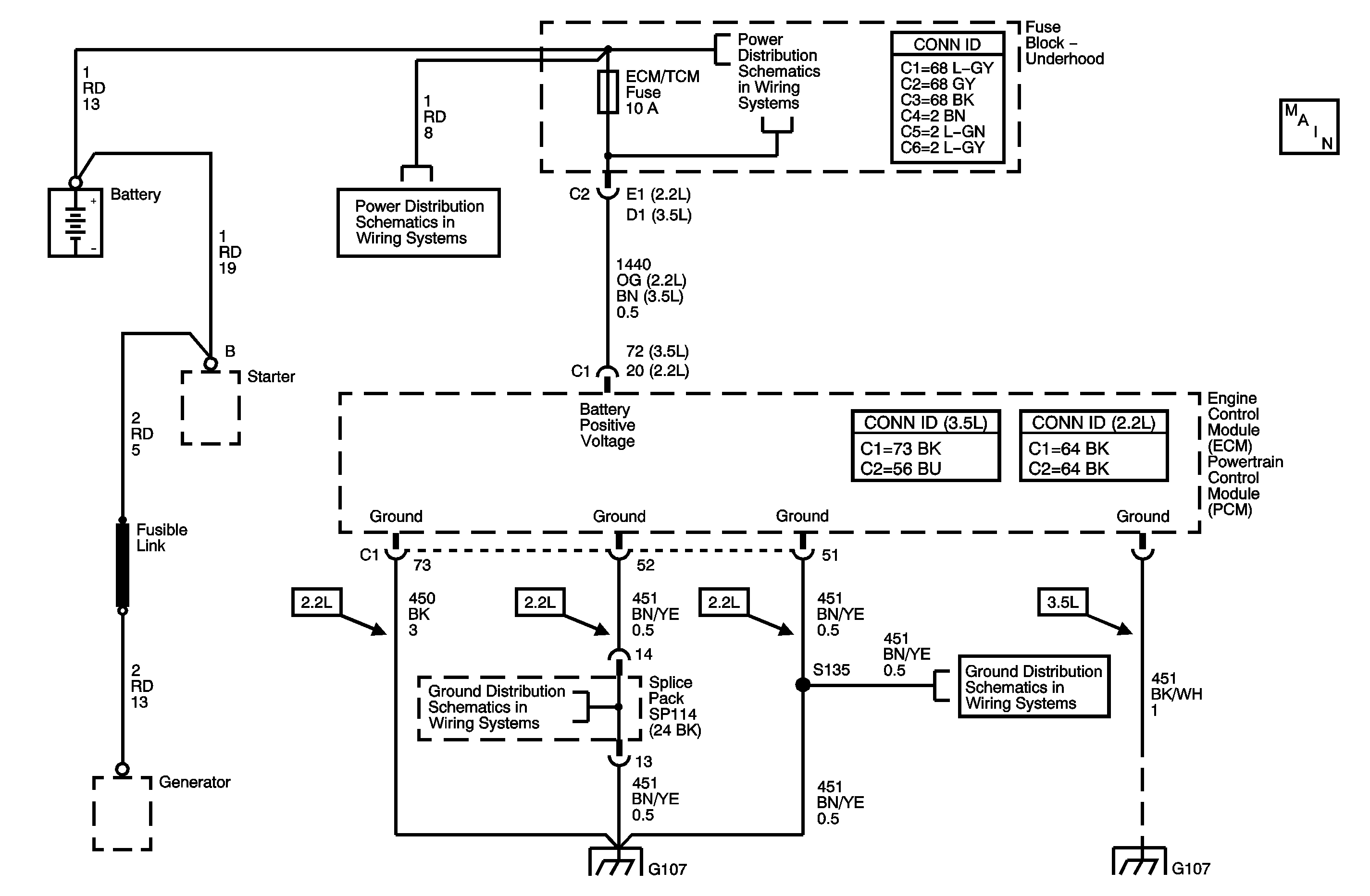
Object Number: 1477375  Size: MF

Circuit Description

The engine control module (ECM)/powertrain control module (PCM) checks the system voltage to make sure that the voltage stays within the proper range. Damage to components, and incorrect input can occur when the voltage is out of range. The ECM/PCM monitors the system voltage over an extended length of time. If the ECM/PCM detects an excessively low system voltage, DTC P0562 will set.

DTC Descriptor

This diagnostic procedure supports the following DTC:

DTC P0562 System Voltage Low

Conditions for Running the DTC

System voltage between 9.5-18 volts.

Conditions for Setting the DTC

    • The ECM/PCM detects a system voltage below 10.5 volts for 4 minutes.
    • Engine speed above 1,300 RPM.

Action Taken When the DTC Sets

    • The ECM/PCM will not illuminate the charge indicator.
    • The ECM/PCM will not illuminate the malfunction indicator lamp (MIL).
    • The ECM/PCM will store conditions which were present when the DTC set as Fail Records data only.

Conditions for Clearing the DTC

    • The ECM/PCM will command the message OFF after one trip in which the diagnostic test has been run and passed.
    • The history DTC will clear after 40 consecutive warm-up cycles have occurred without a malfunction.
    • The DTC can be cleared by using the scan tool Clear DTC Information function.

Step

Action

Value(s)

Yes

No

Connector End View Reference: Engine Electrical Connector End Views , Engine Control Module Connector End Views for the 2.2L (L61) engine, or Powertrain Control Module Connector End Views for the 3.5L (L66) engine

1

Did you perform the Diagnostic System Check - Vehicle?

--

Go to Step 3

Go to Diagnostic System Check - Vehicle

2

  1. Install a scan tool.
  2. Operate the vehicle within the Conditions for Running the DTC as specified in the supporting text.
  3. Using the scan tool, observe the specific DTC Information for DTC P0562 until the test runs.

Does the scan tool indicate that DTC P0562 has passed this ignition cycle?

--

Go to Testing for Intermittent Conditions and Poor Connections

Go to Step 3

3

  1. Start the engine.
  2. Turn Off all accessories.
  3. With a scan tool, observe the Ignition 1 parameter in the ECM/PCM data list.

Does the scan tool indicate that the Ignition 1 parameter is greater than the specified range?

10.5 V

Go to Step 7

Go to Step 4

4

Measure the voltage at the battery terminals and compare it with the Ignition 1 parameter in the engine control module (ECM)/powertrain control module (PCM) data list.

Are the battery voltage and ECM/PCM Ignition 1 readings different by more than the value specified?

0.5 V

Go to Step 5

Go to Charging System Test

5

Test the battery positive voltage circuit of the ECM/PCM for a high resistance. Refer to Circuit Testing and Wiring Repairs .

Did you find and correct the condition?

--

Go to Step 8

Go to Step 6

6

Inspect for poor connections at the harness connector of the ECM/PCM. Refer to Testing for Intermittent Conditions and Poor Connections and Connector Repairs .

Did you find and correct the condition?

--

Go to Step 8

Go to Step 7

7

Important: The replacement ECM/PCM must be programmed.

Replace the ECM/PCM. Refer to Control Module References for replacement, setup, and programming.

Did you complete the replacement?

--

Go to Step 8

--

8

  1. Review and record the scan tool Fail Records data.
  2. Use the scan tool in order to clear the DTC.
  3. Operate the vehicle within the Conditions for Running the DTC as specified in the supporting text.
  4. Using the scan tool, observe the Specific DTC Information for DTC P0562 until the test runs.

Does the scan tool indicate that DTC P0562 failed this ignition?

--

Go to Step 3

System OK