GM Service Manual Online
For 1990-2009 cars only

Object Number: 1870835  Size: MF

Callout

Component Name

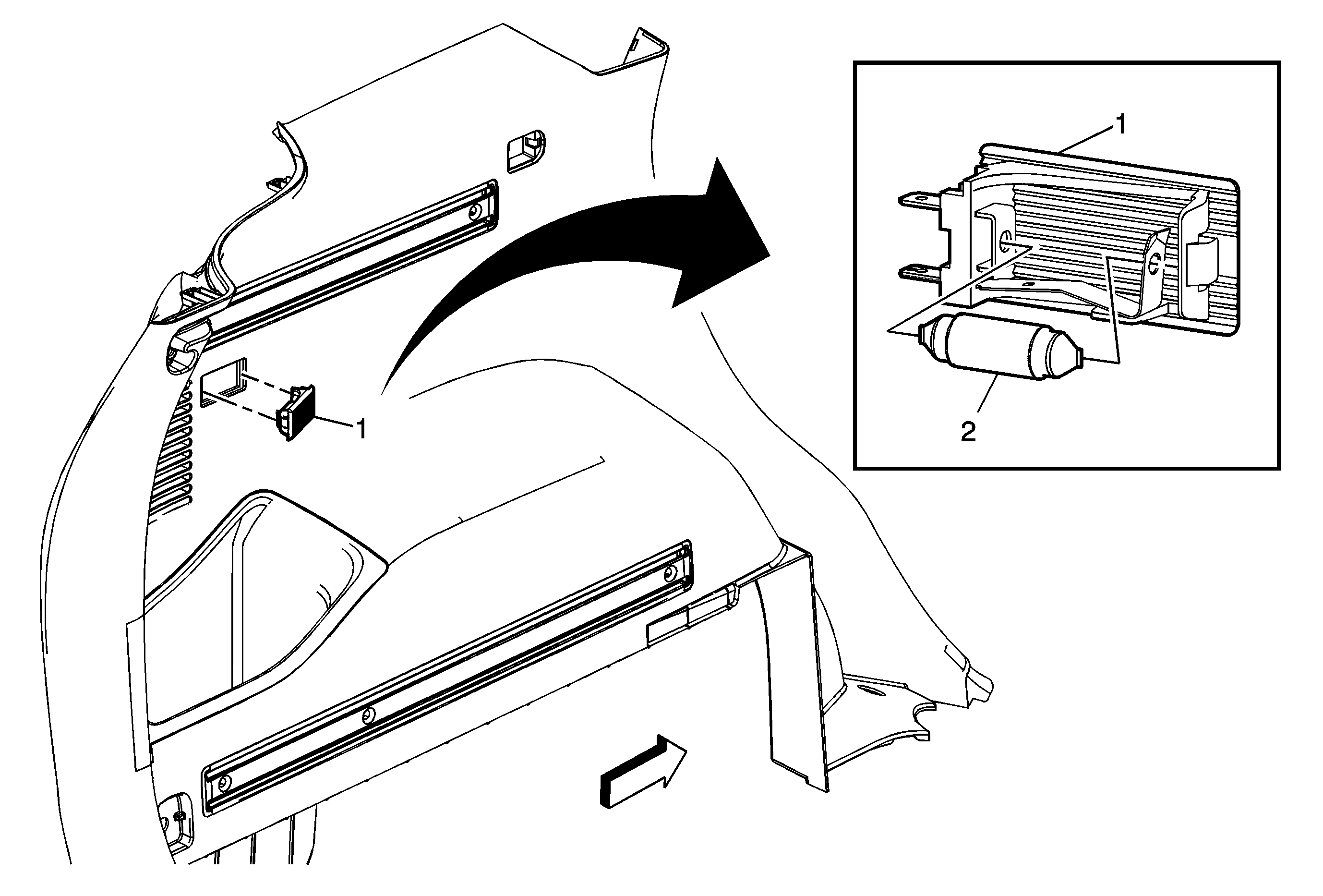
1

Rear Compartment Courtesy Lamp Assembly

Procedure

  1. Use a plastic flat bladed trim tool in order to release the lamp assembly from the rear quarter trim panel.
  2. Disconnect the electrical connection.

2

Rear Compartment Courtesy Lamp Bulb