GM Service Manual Online
For 1990-2009 cars only
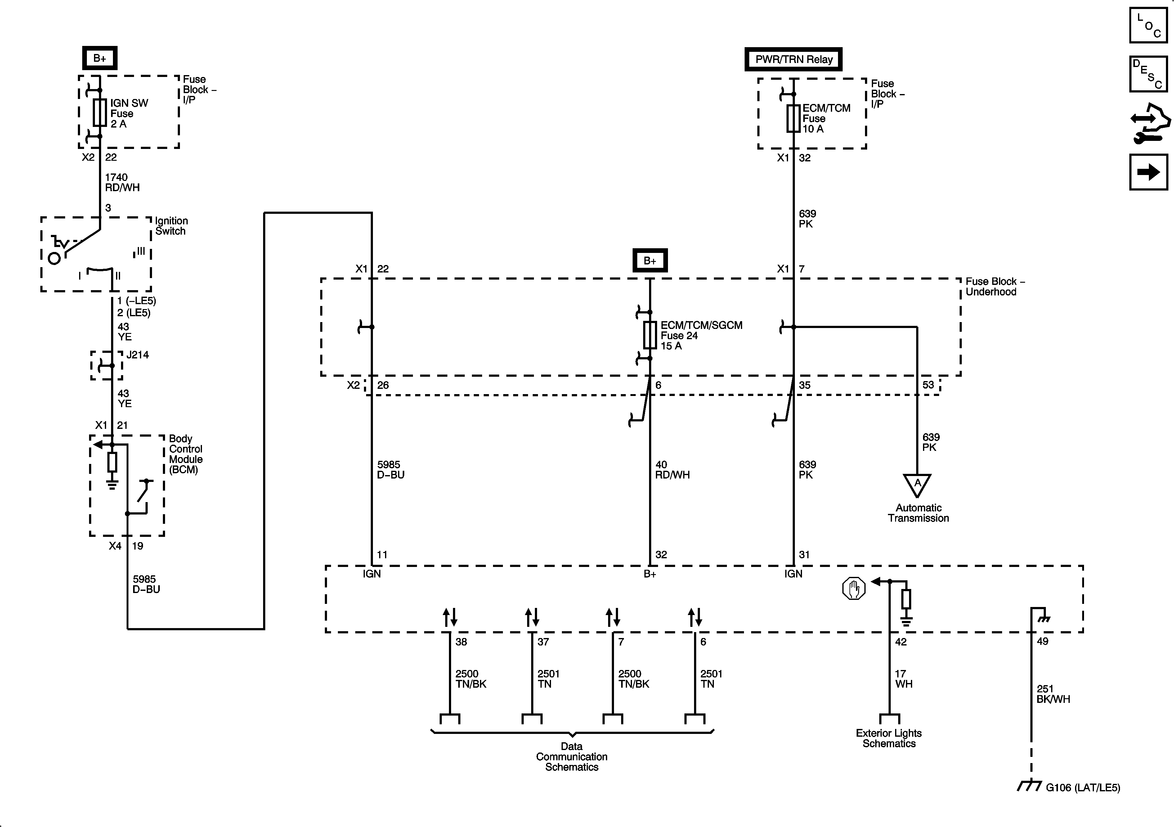
Figure 1:

TCM Power and Ground (4T45E)


Object Number: 2080395  Size: FS
Figure 2:

Transmission Solenoids and VSS (4T45E)


Object Number: 2080399  Size: FS
Figure 3:

Pressure Switches, TFT, AT ISS Sensors and TapUP/TapDown Switch (4T45E)


Object Number: 2080403  Size: FS
Figure 4:

PNP Switch (4T45E)


Object Number: 2080407  Size: FS