GM Service Manual Online
For 1990-2009 cars only

Object Number: 2047280  Size: MF

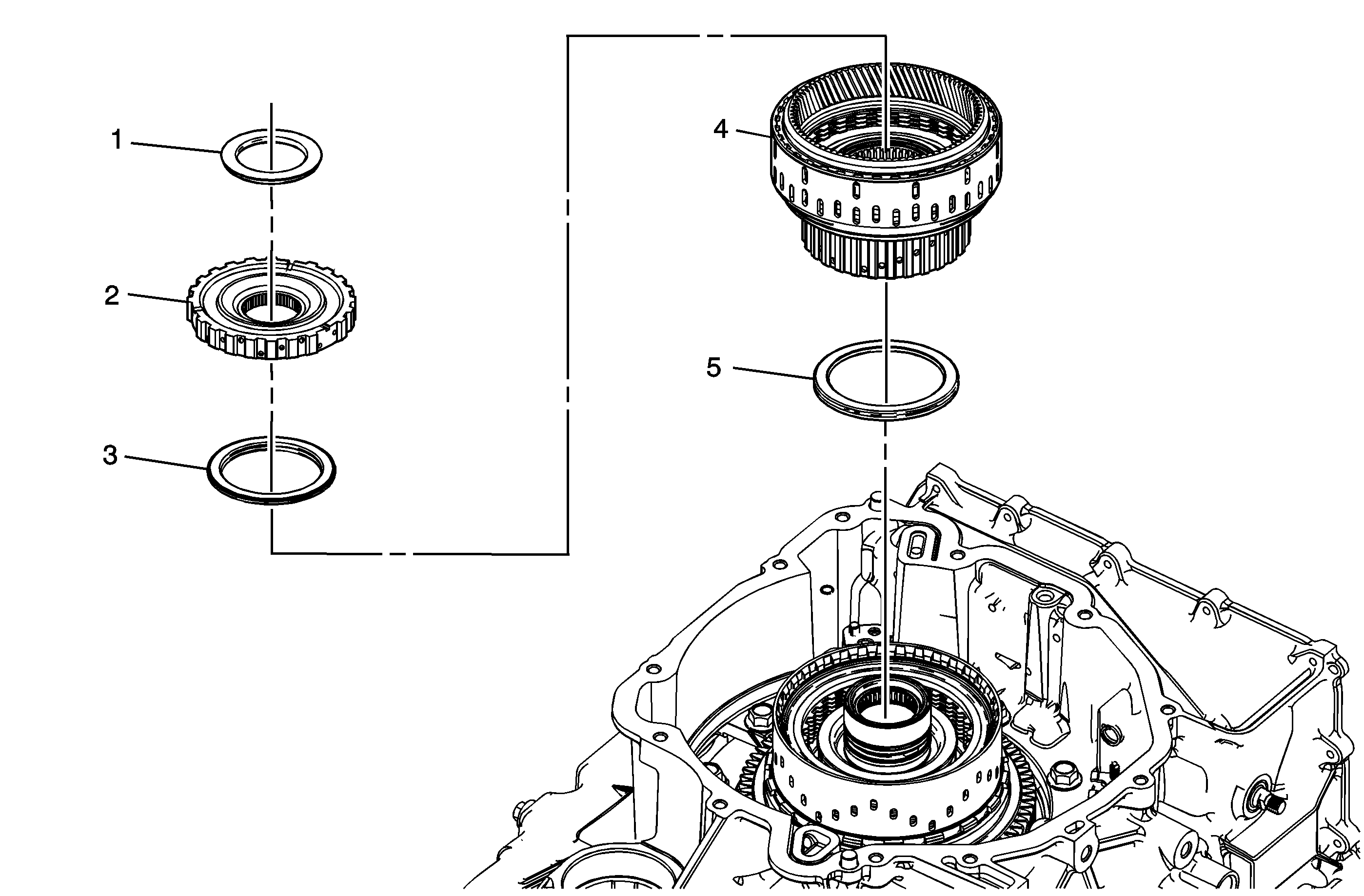
Callout

Component Name

1

Output Carrier Thrust Bearing Assembly

2

Variable Hi and 2-3-4 Clutch Hub

3

Variable Hi and 2-3-4 Clutch Hub Thrust Bearing Assembly

4

Variable Hi and 2-3-4 Clutch Assembly

5

Variable Hi and 2-3-4 Clutch Housing Thrust Bearing Assembly