GM Service Manual Online
For 1990-2009 cars only

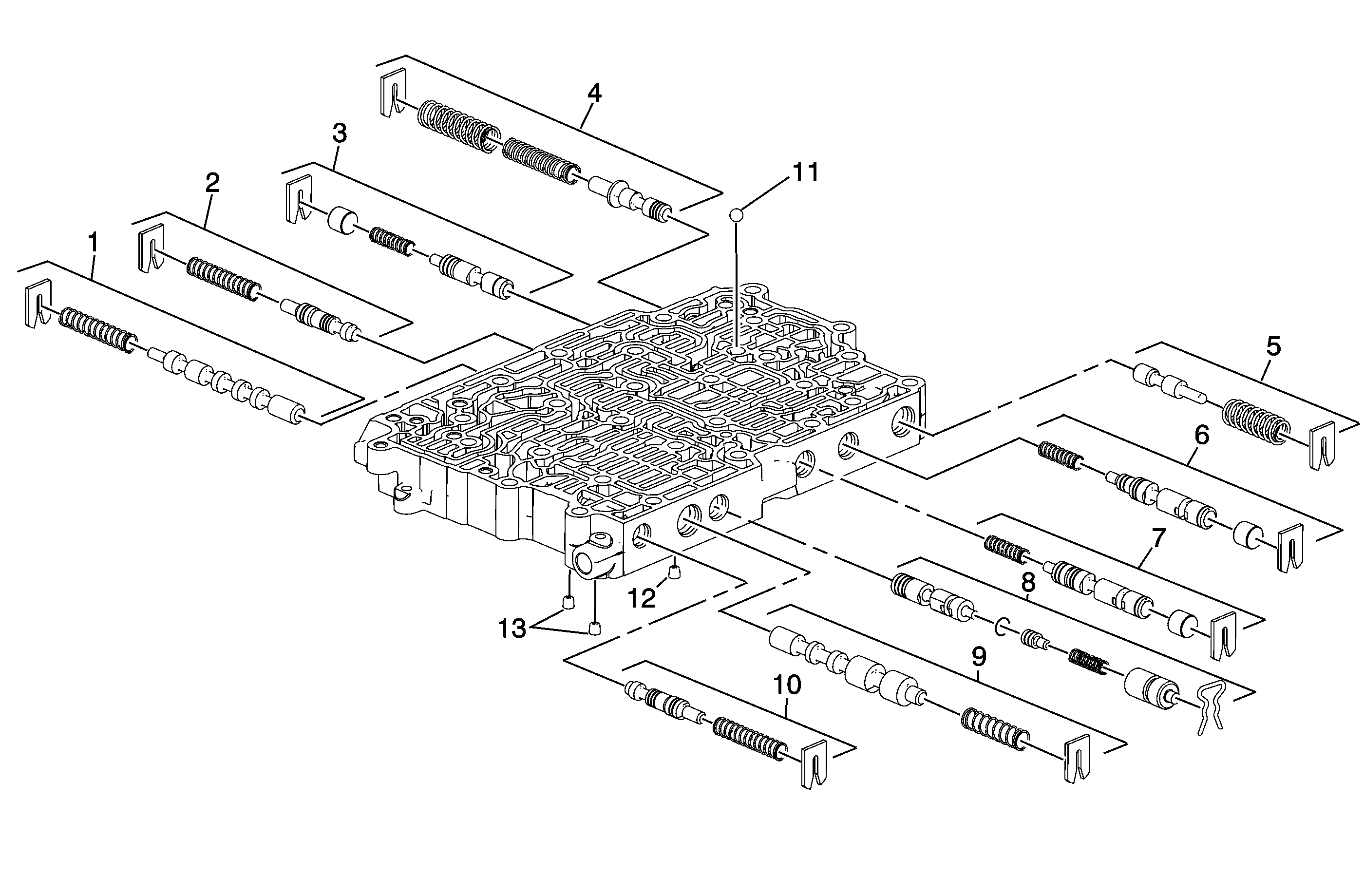
Object Number: 2047441  Size: MF

Callout

Component Name

1

Shift Solenoid Valve Train

2

Variable Hi and 2-3-4 Clutch and Drive Motor/Generator Stator Cooling Regulator Boost Valve Train

3

A/Trans Torque Dampener Bypass Clutch Valve Train

4

Actuator Feed Limit Valve Train

5

Cooler Feed Limit Valve Train

6

1-3 Reverse Clutch and Generator/Drive Motor Stator Cooling Regulator Valve Train

7

Variable Hi and 2-3-4 Clutch and Drive Motor/Generator Stator Cooling Regulator Valve Train

8

Variable Low and 1-2 Reverse and 4th Clutch and Drive Motor/Generator Stator Cooling Regulator Valve Train

9

Shift Solenoid Valve Train

10

1-2 Reverse and 4th Clutch Regulator Boost Valve Train

11

Control Valve Body Ball Check Valve Train

12

Modulated Fluid Pressure Orifice

13

Modulated Fluid Pressure Orifice