GM Service Manual Online
For 1990-2009 cars only
Figure 1:

Passenger Compartment


Object Number: 1913715  Size: LF
(1)Body Control Module (BCM)
(2)Instrument Panel
(3)Yaw Rate and Lateral Accelerometer Sensor
(4)Inflatable Restraint Side Impact Sensor (SIS) - Right
(5)Seat Belt Retractor Pretensioner and Tension Sensor- Right
(6)Vehicle Communications Interface Module (VCIM) ( UE1)
(7)Vehicle Communications Interface Module (VCIM) Battery ( UE1)
(8)Inflatable Restraint Sensing and Diagnostic Module (SDM)
(9)Seat Belt Retractor Pretensioner- Left
(10)Inflatable Restraint Side Impact Sensor (SIS) - Left
(11)Inflatable Restraint Vehicle Rollover Sensor
(12)Fuse Block - I/P
Figure 2:

Driver Seats


Object Number: 2001811  Size: LF
(1)Seat Back Cover - Driver
(2)Heated Seat Element - Driver Back (KA1)
(3)Seat Back Cushion Pad - Driver
(4)Seat Recline Motor - Driver (AE8)
(5)Seat Horizontal Motor - Driver (AE8 )
(6)Seat Rear Vertical Motor - Driver (AE8 )
(7)Heated Seat Control Module - Driver (KA1)
(8)Seat Front Vertical Motor - Driver (AE8 )
(9)Seat Recline Switch - Driver (AE8 )
(10)Seat Adjuster Switch - Driver (AE8 )
(11)Heated Seat Switch - Driver (KA1)
(12)Seat Belt Switch - Driver
(13)Seat Cushion - Driver
(14)Heated Seat Element - Driver Cushion (KA1)
(15)Seat Cover - Driver
Figure 3:

Front Passenger Seat


Object Number: 2006205  Size: LF
(1)Inflatable Restraint Side Impact Module - Right
(2)Heated Seat Element - Passenger Back (KA1)
(3)Seat Belt Buckle Pretensioner and Seat Belt Switch - Passenger
(4)Heated Seat Element - Passenger Cushion (KA1)
(5)Inflatable Restraint Passenger Presence System (PPS) Module
(6)Heated Seat Control Module - Passenger (KA1)
Figure 4:

Park Brake Switch


Object Number: 2006135  Size: LF
(1)Park Brake Handle
(2)Park Brake Switch
Figure 5:

Inflatable Restraint Roof Rail Modules


Object Number: 1914191  Size: LF
(1)Inflatable Restraint Roof Rail Module - Left
(2)Inflatable Restraint Roof Rail Module - Right
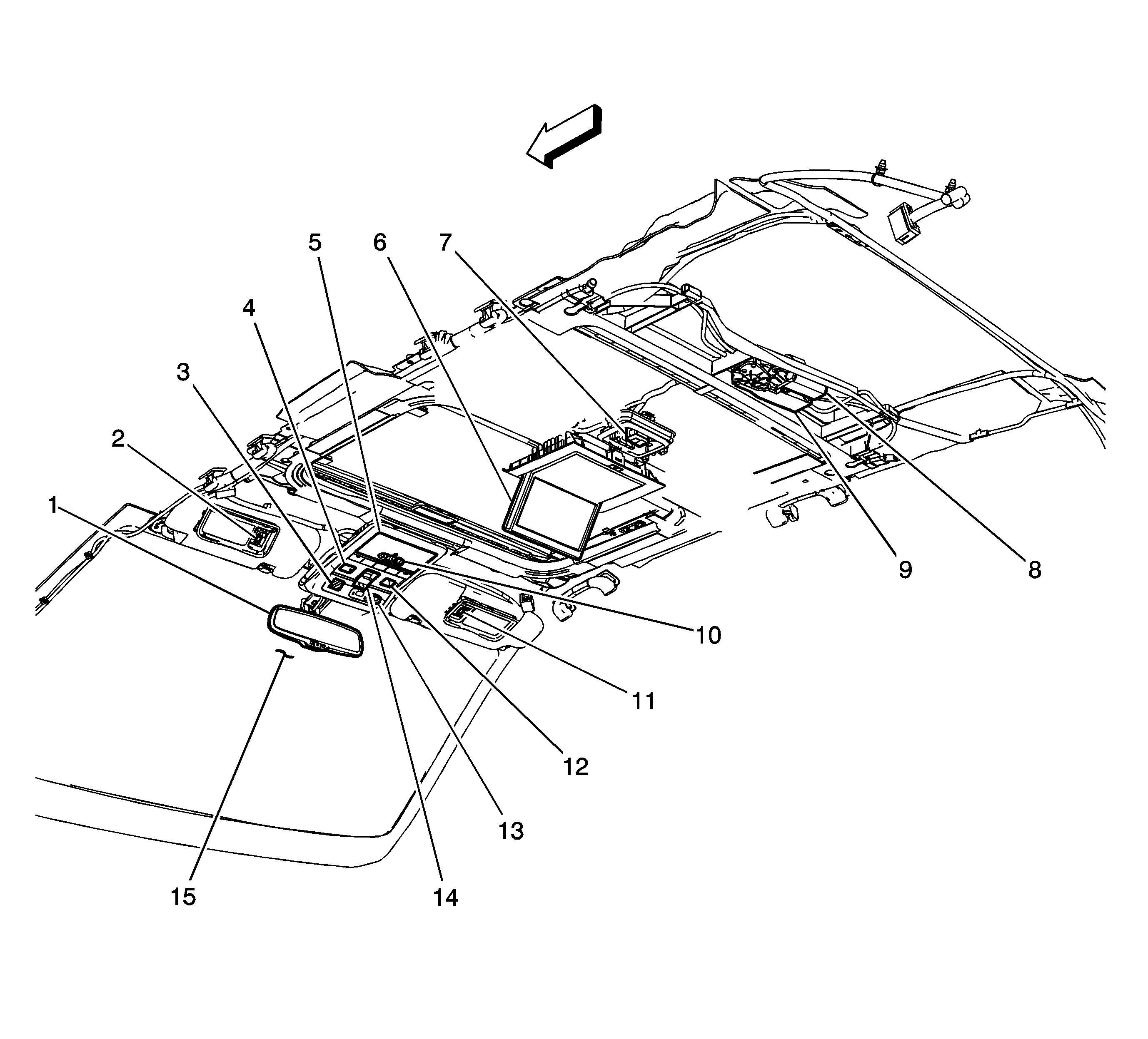
Figure 6:

Headliner Components


Object Number: 1906920  Size: LF
(1)Inside Rearview Mirror (ISRVM) (DD8)
(2)Sunshade Mirror - Left ( D61)
(3)Cellular Telephone Microphone ( UE1)
(4)Courtesy/Reading Lamp - Front
(5)Sunroof Switch (CF5)
(6)Digital Video Disc (DVD) Display (UUC)
(7)Courtesy/Reading Lamp
(8)Sunroof Motor (CF5)
(9)Sunroof Module (CF5)
(10)Garage Door Opener (GDO) ( UG1)
(11)Sunshade Mirror - Right ( D61)
(12)Courtesy/Reading Lamp - Front
(13)Onstar Button Assembly ( UE1)
(14)Sunroof Switch (CF5)
(15)Windshield Outside Moisture Sensor ( CE1)
Figure 7:

Sunroof Components (CF5)


Object Number: 2006128  Size: LF
(1)Sunroof Switch
(2)Sunroof Motor
(3)Sunroof Control Module