GM Service Manual Online
For 1990-2009 cars only

Tools Required

    • J 35268-A Camshaft Seal Installer
    • J 35749 Camshaft Seal Installer
    • J 42069 Timing Belt Alignment Kit
    • J 45482 Debris Screen

Removal Procedure


    Object Number: 959177  Size: SH
  1. Disconnect the negative battery cable.
  2. Remove the intake manifold. Refer to Intake Manifold Replacement .
  3. Install the J 45482.

  4. Object Number: 894187  Size: SH
  5. Remove the rear camshaft cover. Refer to Camshaft Cover Replacement - Right Side .
  6. Remove the timing belt. Refer to Timing Belt Replacement .

  7. Object Number: 894212  Size: MF

    Important: As a precautions, rotate the crankshaft counterclockwise to 60 degrees BTDC position to prevent valve/piston contact.

  8. Insert the J 42069-1 into the camshaft gears to hold the gear in place while loosening the camshaft gear bolt.
  9. Remove the J 42069-1.

  10. Object Number: 894899  Size: SH
  11. Remove the camshaft gear bolt.
  12. Remove the camshaft gear.

  13. Object Number: 895681  Size: SH

    Important: The intake camshaft is marked with the letter A and the exhaust camshaft is marked with the letter E.

    Important: Ensure that the camshaft is not under load from lifter(s) and that the camshaft comes out of bearing seats evenly.

  14. Loosen the camshaft bearing cap bolts sequentially starting from the center and moving outward in a spiral directions in stage of 1/2 to 1 turn.
  15. Remove the camshaft bearing cap bolts.
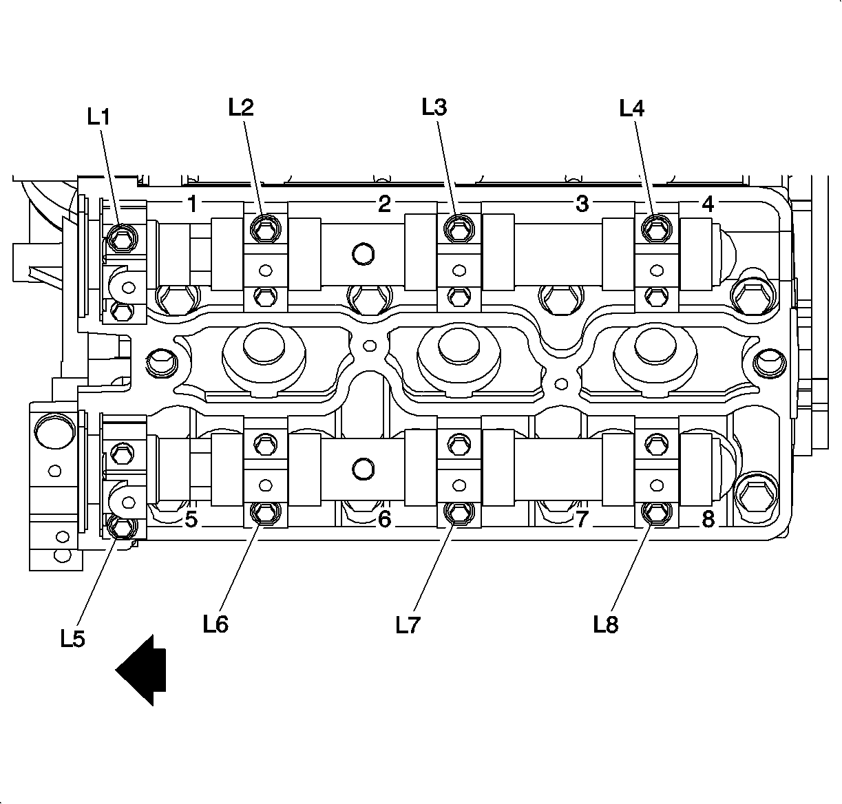
  16. Remove the camshaft bearing caps. Note the code marks on the bearing caps.
  17. Important: The bearing caps for the rear side (CYL 1, 3, 5) cylinder head are marked with an L followed by a number.

  18. Remove the camshaft with seal attached.
  19. Remove the camshaft seal.

  20. Object Number: 896488  Size: SH

    Important: A magnet can be used to remove the lifters from the lifter bore.

  21. Remove the lifters if being serviced.
  22. Clean all bearing and sealing surfaces.

Installation Procedure


    Object Number: 894904  Size: SH
  1. Lubricate the camshaft bearing surfaces with clean engine oil.
  2. Important: 

       • The intake is marked with the letter A.
       • The exhaust is marked with the letter E.

  3. Install the lifter assembly if removed.
  4. Install the camshaft to the cylinder head.

  5. Object Number: 894757  Size: SH

    Important: Ensure the pin on the exhaust camshaft is approximately in the 1 o'clock position and/or that the pin on the intake camshaft is approximately in the 11 o'clock position to allow for minimal load on the camshaft when installing the bearing caps.

  6. Apply a small amount of Permatex® Anaerobic Flange Sealant (or equivalent) on the forward edge of the front bearing caps to ensure an adequate seal between the bearing cap and cylinder head.

  7. Object Number: 895689  Size: SH
  8. The bearing caps for the rear (CYL 1, 3, 5) cylinder head are marked L1-L8 (Cylinder 1, 3, 5).
  9. Install the camshaft bearing caps in their appropriate position.
  10. Notice: Refer to Fastener Notice in the Preface section.


    Object Number: 895686  Size: SH

    Important: DO NOT allow the sealer to get into the journal of the cap.

  11. Install in sequence and torque the camshaft bearing caps bolts.
  12. Tighten
    Tighten the camshaft bearing cap bolt to 8 N·m (71 lb in).


    Object Number: 946505  Size: SH
  13. Coat the lip of the seal with a small amount of clean engine oil to aid in the installation.
  14. Use the J 35268-A to seat the camshaft seal into place.
  15. On the rear exhaust camshaft seal, the J 35749 must be used.
  16. Ensure that the camshaft seal i fully and evenly seated.

  17. Object Number: 945753  Size: SH

    Important: Use a new camshaft sprocket bolt. The required tightening method will stretch the bolt, to its yield point. Therefore, the bolt is not reusable.

  18. Install the camshaft gear bolt. Use J 42069-1 and J 42069-2 camshaft gear locks to lock the camshaft gears while torquing.
  19. Tighten
    Tighten the camshaft sprocket bolt to 50 N·m (37 lb ft) + 60 degrees + 15 degrees.


    Object Number: 894187  Size: SH
  20. Install the timing belt. Refer to Timing Belt Replacement .
  21. Install the rear camshaft cover. Refer to Camshaft Cover Replacement - Right Side .

  22. Object Number: 894187  Size: SH
  23. Remove the J 45482.
  24. Install the intake manifold. Refer to Intake Manifold Replacement .
  25. Connect the negative battery cable.
  26. Tighten
    Tighten the battery terminal bolt to 17 N·m (13 lb ft).