GM Service Manual Online
For 1990-2009 cars only

Fuel Gauge Displays a False Low Reading or is Stuck on Empty with DTC P0461 Set in ECM Memory

Subject:Fuel Gauge Displays a False Low Reading with DTC P0461 - Fuel Level Sensor Performance Set in ECM Memory (Perform Resistance Check on Fuel Level Senders, and if Necessary, Replace Primary and Secondary Fuel Level Senders)

Models:2002 Saturn VUE vehicles



Condition

Some customers may comment that the fuel gauge displays a false low reading or is stuck on empty. This condition may be intermittent. A DTC P0461 - Fuel Level Sensor Performance - may also be set in ECM memory.

Cause

This condition may be caused by contamination of the fuel system affecting the fuel level sender performance. Some fuel level senders may only have contamination in one part of the sender's operating range. This could lead to a customer concern of an intermittent inoperative fuel gauge which may be working correctly at the time the vehicle is brought in for service.

Correction

To correct this condition perform a resistance check throughout the entire range of motion on primary and secondary fuel level senders, and if necessary, replace senders. Refer to service procedure in this bulletin.

Service Procedure

  1. Remove fuel tank. Refer to "Fuel Tank" removal procedure in the fuel system section of the 2002 VUE Engine Service Manual.
  2. Important: It is not necessary to remove or separate the Rear Drive Module (RDM). Sufficient clearance is gained by removing the propeller shaft and propeller shaft guard.

  3. Remove primary and secondary fuel pump modules. Refer to "Primary and Secondary Fuel Pump Module" removal procedure in the fuel system section of the 2002 VUE Engine Service Manual.
  4. Using a DVOM, check the resistance of both primary and secondary fuel level senders. The resistance should be close to the readings in the table on the next page, and should change smoothly and evenly when moving float arm through range of motion.
  5. • If resistance changes are erratic while sweeping float arm or readings are significantly different than in the table on the next page, it will be necessary to replace both primary and secondary fuel level senders with new senders identified in this bulletin. Continue with procedure in this bulletin to replace primary and secondary fuel level senders.
    • If resistance check is smooth and is close to the resistance values shown in the table on the next page, fuel level senders are OK. Refer to "Fuel Gauge Inaccurate or Inoperative" diagnostic table in the instrumentation/drive information section of the 2002 VUE Body Electrical Diagnostics Service Manual.
    • The following table can be used as a reference for fuel level sender readings. Refer to paper copy for table information.

    Important: Due to the operation of the secondary venturi jet pump, it may be normal to have each sender read different resistance values. Only the resistance value of both senders should be compared to a known fuel level. The individual resistance values can be used when measuring a sender out of the tank.


    Object Number: 934024  Size: SH

    Important: There are two fuel level sender unit and float assemblies in the fuel tank. There is one located on each fuel pump module. The fuel level sender unit and float is NOT the same for each of the fuel pump modules.

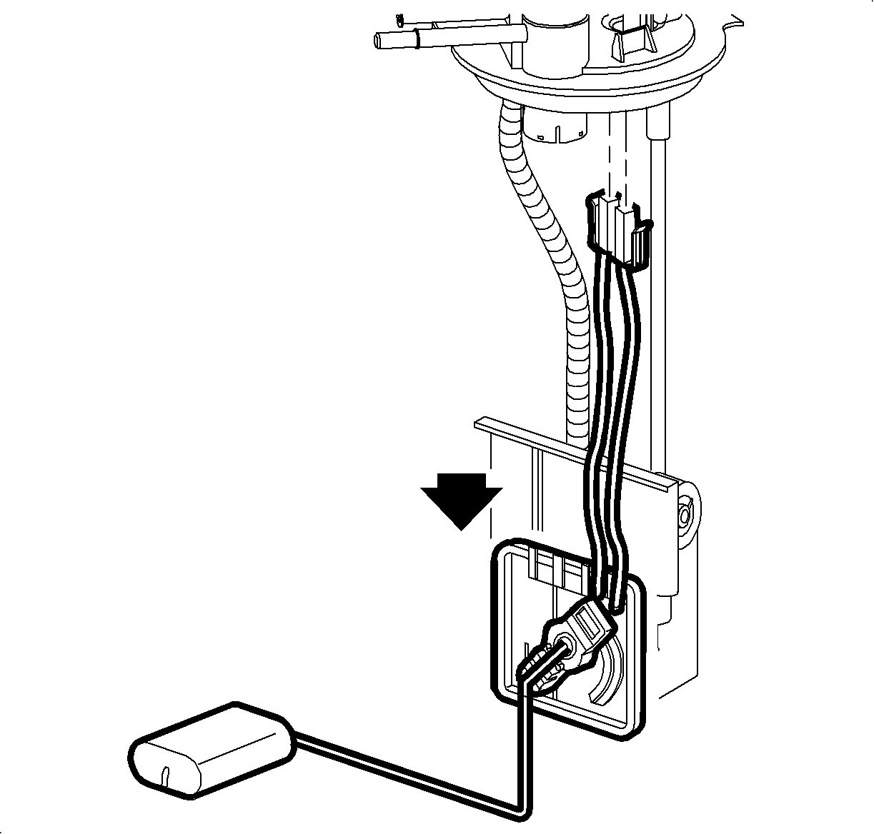
  6. Disconnect fuel level sender unit and float electrical connector.
  7. On secondary module assembly use a pick to press down on the silver connector and disconnect ground wire from fuel pressure regulator.

  8. Object Number: 934036  Size: SH
  9. Use a small screwdriver to release the double-sided snap lock feature shown in the exploded view.
  10. Remove fuel level sender card by sliding card down.
  11. Install fuel level sender unit and float onto fuel pump module. Make sure that sender card snaps into place.
  12. Connect fuel level sender unit and float electrical connector.
  13. On secondary module assembly connect ground wire to fuel pressure regulator.
  14. Install primary and secondary fuel pump modules. Refer to "Primary and Secondary Fuel Pump Module" installation procedure in the fuel system section of the 2002 VUE Engine Service Manual.
  15. Install fuel tank. Refer to "Fuel Tank" installation procedure in the fuel system section of the 2002 VUE Engine Service Manual.
  16. Important: Code P0461, Fuel Level Sender Performance, is a Type D code, which means no warning lights are illuminated whenever this code sets. However, the ECM and BCM command the fuel gauge to Empty position when this code is active. (The Low Fuel Light is NOT illuminated.)

  17. The fuel gauge will not work properly unless one of the following occurs:
  18. • The code is cleared.
    • The test for P0461 passes.
  19. Clear any DTCs in ECM history.
  20. Verify fuel gauge is now operating correctly.

Parts Information

22704025 - Sender Kit-Fuel LVL (Used on Primary Pump)

22704026 - Sender Kit-Fuel LVL (Used on Secondary Pump)

Warranty Information

To receive credit for this repair during the warranty coverage period, submit a claim through the Saturn Dealer System for L1200 (Sender Assembly, Fuel [Tank Unit] - Replace), or if another procedure is performed, refer to the appropriate Electronic Labor Time Guide for the correct Labor Operation Code and Time.