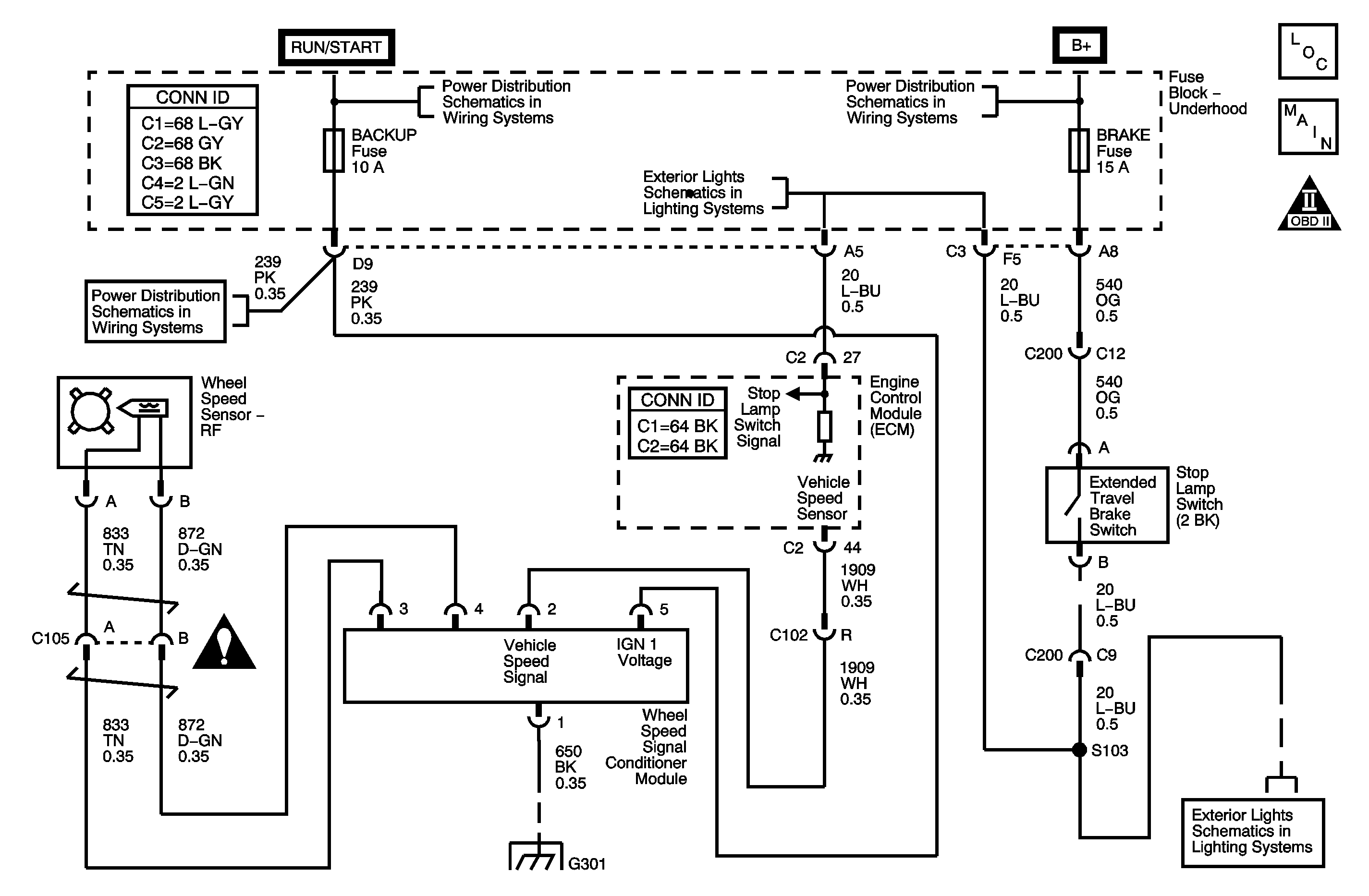
Correct engine misfire detection is dependent on whether or not the vehicle is experiencing a rough road condition. A rough road condition will cause unexpected crankshaft fluctuations, especially when the torque converter clutch is in its lockup state. In order to detect a rough road condition, the ECM will use vehicle speed information from the right front wheel speed sensor (RFWSS) available on both ABS and non-ABS vehicles. On ABS vehicles, the electronic brake and traction control module (EBTCM) sends the engine control module (ECM) RFWSS signal information over the controller area network (CAN) link. On non-ABS vehicles, the ECM receives this information over a discrete wire from the wheel speed signal conditioner module. This module converts the AC signal from the RFWSS to a square wave by momentarily grounding the vehicle speed signal circuit. The ECM contains an internal 12-volt pull-up voltage, supplied to the vehicle speed signal circuit necessary to detect a square wave of 0-12 volts. DTC P0318 will set if the ECM does not detect a sufficient rough road signal based on the vehicle speed from the RFWSS when the vehicle is traveling in 4th or 5th gear for a certain length of time. If the ECM does not receive a rough road signal, it will not detect misfire.
| • | The transmission is in the 4th or 5th gear. |
| OR |
| • | The vehicle is in decel. |
| • | The ECT is greater than 64°C (147°F). |
| • | The engine speed is between 1,800-3,000 RPM. |
| • | DTC P0318 runs continuously when the above conditions are met. |
The ECM does not detect a rough road signal for more than 3 seconds.
| • | The control module stores the DTC information into memory when the diagnostic runs and fails. |
| • | The malfunction indicator lamp (MIL) will not illuminate. |
| • | The control module records the operating conditions at the time the diagnostic fails. The control module stores this information in the Failure Records. |
| • | The driver information center, if equipped, may display a message. |
| • | A current DTC Last Test Failed clears when the diagnostic runs and passes. |
| • | A history DTC clears after 40 consecutive warm-up cycles, if no failures are reported by this or any other non-emission related diagnostic. |
| • | Clear the DTC with a scan tool. |
Important: For ABS only, if a right front wheel speed sensor circuit DTC is also set, diagnose that DTC first. An ABS DTC should also set with DTC P0318 on an ABS vehicle. The road rough signal on an ABS vehicle is sent to the ECM from the EBTCM over the CAN link.
To locate an intermittent condition, use the scan tool to monitor DTC P0318 LAST TEST while driving the vehicle in the conditions listed under DTC parameters. A change from PASSED to FAILED indicates an error is occurring.
Another way to locate an intermittent condition is to backprobe the vehicle speed signal circuit at the wheel speed conditioner module to verify the integrity of the signal to the ECM. Twelve volts should be on the vehicle speed signal circuit with the ignition ON and the right front wheel not moving. As the wheel moves, the DVOM will fluctuate or read a lower voltage as the wheel spins. This indicates the wheel speed signal condition module is receiving the RFWSS signal and is momentarily grounding the vehicle speed signal circuit. Lifting the vehicle and allowing the engine to drive the wheels will allow easy rotation of the right front wheel.
The wheel speed conditioner module is located behind the left center console trim panel, located on the left side of the gear shift.
The right front wheel speed sensor resistance is 1000-2000 ohms.
Step | Action | Values | Yes | No | ||||
|---|---|---|---|---|---|---|---|---|
1 | Did you perform the Diagnostic System Check - Engine Controls? | -- | Go to Step 2 | |||||
2 | Are any ABS DTCs set? | -- | Go to Step 3 | |||||
3 |
Did the DTC fail this ignition? | -- | Go to Step 4 | Go to Diagnostic Aids | ||||
4 |
Does the voltage change from battery voltage when the right front wheel was not moving to a lower or fluctuating voltage as the wheel is spun? | -- | Go to Diagnostic Aids | Go to Step 5 | ||||
5 |
Does the test lamp illuminate? | -- | Go to Step 6 | Go to Step 13 | ||||
6 | Connect a test light from the wheel speed signal conditioner module ignition 1 voltage circuit to the wheel speed signal conditioner module ground circuit a the harness connector. Does the test lamp illuminate? | -- | Go to Step 7 | Go to Step 14 | ||||
7 | Measure the voltage from the vehicle speed signal circuit and a good ground with a DMM. Refer to Circuit Testing . Is ignition voltage present? | -- | Go to Step 8 | Go to Step 15 | ||||
8 | Connect a test lamp from the vehicle speed signal circuit to a good ground. Does the test lamp illuminate? | -- | Go to Step 16 | Go to Step 9 | ||||
9 | Measure the voltage from the following circuits to a good ground with a DMM:
Refer to Circuit Testing . Is the voltage more than the specified value on either circuit? | 1 V | Go to Step 17 | Go to Step 10 | ||||
10 | Measure the resistance from the following circuits to a good ground with a DMM:
Refer to Circuit Testing . Is the resistance less than the specified value for either circuit? | 100 ohms | Go to Step 18 | Go to Step 11 | ||||
11 | Measure the resistance from the right front wheel speed sensor low reference circuit to the right front wheel speed sensor signal circuit with a DMM. Refer to Circuit Testing . Is the resistance within the specified range? | 1000-2000 ohms | Go to Step 12 | Go to Step 19 | ||||
12 | Measure the AC voltage from the right front wheel speed sensor low reference circuit to the right front wheel speed sensor signal circuit with a DMM while spinning the right front wheel. Refer to Circuit Testing . Is AC voltage present? | -- | Go to Step 21 | Go to Step 20 | ||||
13 | Repair the open or short to ground in the wheel speed signal conditioner module ignition 1 voltage circuit. Refer to Wiring Repairs . Did you complete the repair? | -- | Go to Step 24 | -- | ||||
14 | Repair the open in the wheel speed signal conditioner module ground circuit. Refer to Wiring Repairs . Did you complete the repair? | -- | Go to Step 24 | -- | ||||
15 | Repair the open or short to ground in the vehicle speed signal circuit. Refer to Wiring Repairs . Did you complete the repair? | -- | Go to Step 24 | -- | ||||
16 | Repair the short to voltage in the vehicle speed signal circuit. Refer to Wiring Repairs . Did you complete the repair? | -- | Go to Step 24 | -- | ||||
17 | Repair the short to voltage in the circuit that measured voltage. Refer to Wiring Repairs . Did you complete the repair? | -- | Go to Step 24 | -- | ||||
18 | Repair the short to ground in the circuit that had less than 100 ohms. Refer to Wiring Repairs . Did you complete the repair? | -- | Go to Step 24 | -- | ||||
19 | Test for an open or short to each other in the following circuits:
Refer to Wiring Repairs . Did you find and correct the condition? | -- | Go to Step 24 | Go to Step 22 | ||||
20 | Test for an intermittent and for a poor connection at the right front wheel speed sensor. Refer to Testing for Intermittent Conditions and Poor Connections and Connector Repairs . Did you find and correct the condition? | -- | Go to Step 24 | Go to Step 22 | ||||
21 | Test for an intermittent and for a poor connection at the wheel speed signal conditioner module. Refer to Testing for Intermittent Conditions and Poor Connections and Connector Repairs . Did you find and correct the condition? | -- | Go to Step 24 | Go to Step 23 | ||||
22 |
Important: Inspect the reluctor wheel for damage and missing teeth, and replace as necessary. Replace the right front wheel speed sensor. Refer to Front Wheel Speed Sensor Replacement . Did you complete the replacement? | -- | Go to Step 24 | -- | ||||
23 | Replace the wheel speed signal conditioner module. Did you complete the replacement? | -- | Go to Step 24 | -- | ||||
24 |
Did the DTC fail this ignition? | -- | Go to Step 3 | Go to Step 25 | ||||
25 | Observe the Capture Info with a scan tool. Are there any DTCs that have not been diagnosed? | -- | System OK |