GM Service Manual Online
For 1990-2009 cars only

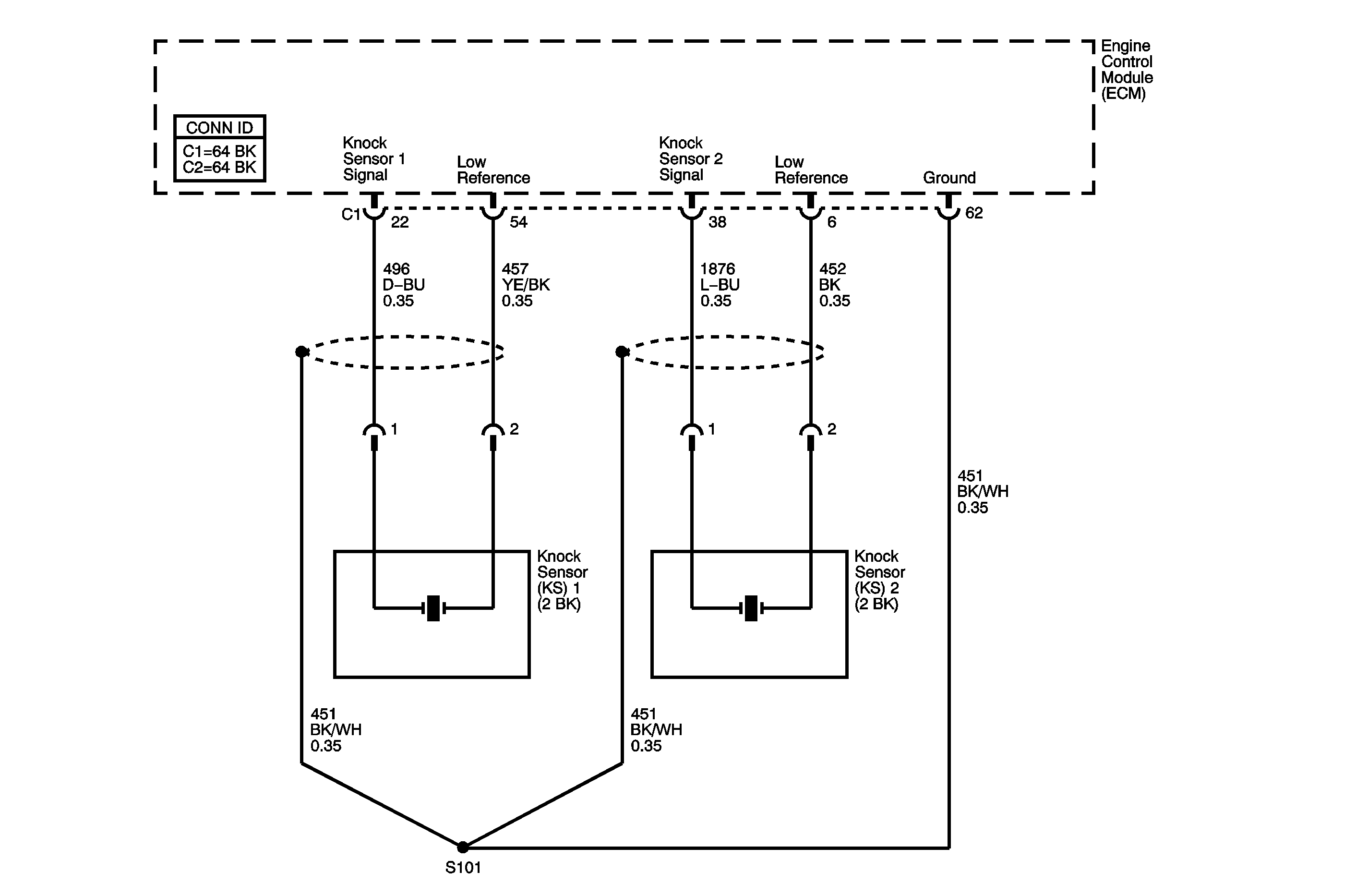
Object Number: 1247695  Size: MF
Engine Controls Component Views
Engine Controls Schematics

Circuit Description

The knock sensor (KS) system enables the engine control module (ECM) to control the ignition timing for the best possible performance while protecting the engine from potentially damaging levels of detonation. The KS system uses two sensors.

KS 1 is located on the right side of the engine, or the rear of the engine compartment.

KS 2 is located on the left side of the engine, or the front of the engine compartment.

The KS produces an AC voltage signal that varies depending on the vibration level during engine operation. The ECM adjusts the spark timing based on the amplitude and the frequency of the KS signal. The ECM receives the KS signal through a signal circuit. The KS ground is supplied by the ECM through a low reference circuit. The ECM learns the minimum and the maximum amplitude of the noise that the engine produces. The ECM should monitor a normal KS signal within the voltage range. If the ECM detects the KS signal outside of the voltage range, or the KS signal is not present, a DTC sets. DTC P0327 refers to KS 1 and DTC P0332 refers to KS 2.

Conditions for Running the DTC

    • The engine coolant temperature (ECT) sensor is more than 40°C (104°F).
    • The engine speed is more than 2,000 RPM.
    • The engine load is more than 40 percent.

Conditions for Setting the DTC

The KS signal is below the normal operating range or the KS signal is not present.

Action Taken When the DTC Sets

    • The control module illuminates the malfunction indicator lamp (MIL) on the second consecutive ignition cycle that the diagnostic runs and fails.
    • The control module records the operating conditions at the time the diagnostic fails. The first time the diagnostic fails, the control module stores this information in the Failure Records. If the diagnostic reports a failure on the second consecutive ignition cycle, the control module records the operating conditions at the time of the failure. The control module writes the operating conditions to the Freeze Frame and updates the Failure Records.

Conditions for Clearing the MIL/DTC

    • The control module turns OFF the malfunction indicator lamp (MIL) after 3 consecutive ignition cycles that the diagnostic runs and does not fail.
    • A current DTC, Last Test Failed, clears when the diagnostic runs and passes.
    • A history DTC clears after 40 consecutive warm-up cycles, if no failures are reported by this or any other emission related diagnostic.
    • Clear the MIL and the DTC with a scan tool.

Diagnostic Aids

    • Inspect the KS for physical damage. A KS that is dropped or damaged may cause a DTC to set.
    • Inspect the KS for proper installation. A KS that is loose or over torqued may cause a DTC to set. The KS should be free of thread sealant. The KS mounting surface should be free of burrs, casting flash, and foreign material.
    • The KS must be clear of hoses, brackets, and engine electrical wiring.
    • For an intermittent condition, refer to Intermittent Conditions .

Step

Action

Yes

No

Schematic Reference: Engine Controls Schematics

Connector End View Reference: Engine Control Module Connector End Views or Engine Controls Connector End Views

1

Did you perform the Diagnostic System Check-Engine Controls?

Go to Step 2

Go to Diagnostic System Check - Engine Controls

2

  1. Observe the Freeze Frame/Failure Records for this DTC.
  2. Turn OFF the ignition for 90 seconds.
  3. Start the engine.
  4. Operate the vehicle within the Conditions for Running the DTC. You may also operate the vehicle within the conditions that you observed from the Freeze Frame/Failure Records.

Did the DTC fail this ignition?

Go to Step 3

Go to Diagnostic Aids

3

  1. Turn OFF the ignition.
  2. Disconnect the affected KS.
  3. Set the DMM to the ohms scale.
  4. Measure the resistance from the signal circuit on the sensor side of the KS connector to a good ground with the DMM.
  5. Measure the resistance from the low reference circuit on the sensor side of the knock sensor (KS) connector to a good ground with the DMM.

Does the DMM display OL for both terminals?

Go to Step 4

Go to Step 9

4

  1. Connect the DMM between the terminals of the affected KS.
  2. Set the DMM to the 400 mV AC hertz scale and wait for the DMM to stabilize at 0 Hz.
  3. Important: DO NOT tap on plastic engine components.

  4. Tap on the engine block with a non-metallic object near the affected KS while observing the signal indicated on the DMM.

Does the DMM display a fluctuating frequency while tapping on the engine block?

Go to Step 5

Go to Step 9

5

  1. Disconnect the ECM.
  2. Test the KS signal circuit between the engine control module (ECM) and the KS for the following conditions:
  3. • An open
    • A high resistance
    • A short to ground
    • A short to the KS low reference circuit

Refer to Circuit Testing and Wiring Repairs in Wiring Systems.

Did you find and correct the condition?

Go to Step 11

Go to Step 6

6

Test the KS low reference circuit between the ECM and the KS for the following conditions:

  1. An open
  2. A high resistance
  3. A short to ground

Refer to Circuit Testing and Wiring Repairs in Wiring Systems.

Did you find and correct the condition?

Go to Step 11

Go to Step 7

7

Test for an intermittent and for a poor connection at the KS connector. Refer to Testing for Intermittent Conditions and Poor Connections and Connector Repairs in Wiring Systems.

Did you find and correct the condition?

Go to Step 11

Go to Step 8

8

Test for an intermittent and for a poor connection at the ECM. Refer to Testing for Intermittent Conditions and Poor Connections and Connector Repairs in Wiring Systems.

Did you find and correct the condition?

Go to Step 11

Go to Step 10

9

Replace the KS. Refer to Knock Sensor 1 Replacement or Knock Sensor 2 Replacement .

Did you complete the replacement?

Go to Step 11

--

10

Replace the ECM. Refer to Engine Control Module Replacement .

Did you complete the replacement?

Go to Step 11

--

11

  1. Clear the DTCs with a scan tool.
  2. Turn OFF the ignition for 90 seconds.
  3. Start the engine.
  4. Operate the vehicle within the Conditions for Running the DTC. You may also operate the vehicle within the conditions that you observed from the Freeze Frame/Failure Records.

Did the DTC fail this ignition?

Go to Step 2

Go to Step 12

12

Observe the Capture Info with a scan tool.

Are there any DTCs that have not been diagnosed?

Go to Diagnostic Trouble Code (DTC) List

System OK