GM Service Manual Online
For 1990-2009 cars only

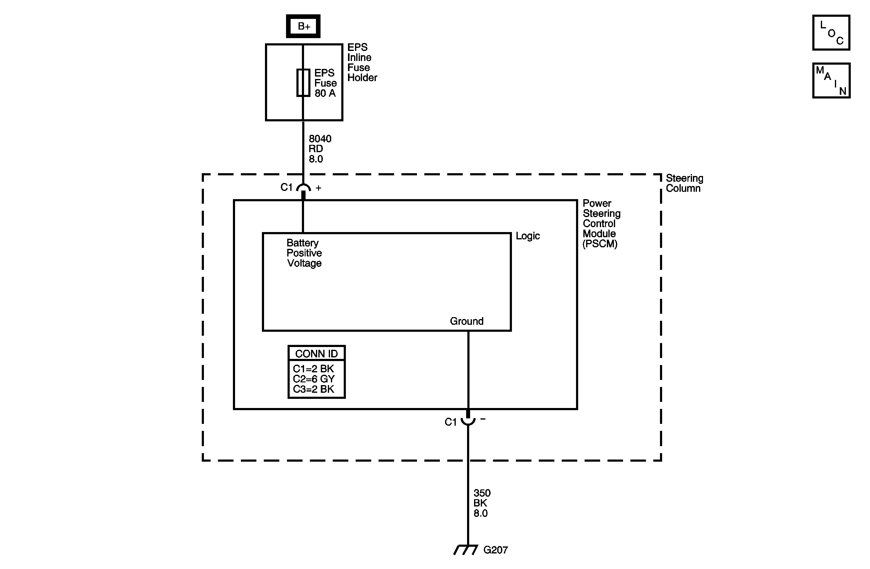
Object Number: 1198155  Size: MF

Circuit Description

The Power Steering Control Module (PSCM) has a discrete battery positive voltage supply circuit. The PSCM monitors the voltage level on this circuit to ensure the Electric Power Steering (EPS) system has adequate voltage levels to perform the system functions.

Conditions for Running the DTC

The ignition is ON.

Conditions for Setting the DTC

EPS system battery voltage is 9-11 volts.

Action Taken When the DTC Sets

    • DTC C0896 is stored in memory.
    • The IPC displays the SERVICE VEHICLE SOON warning indicator.
    • Steering assist is reduced.

Conditions for Clearing the DTC

    • A current DTC will clear when EPS system voltage is greater than 11 volts.
    • A history DTC will clear after 100 consecutive ignition cycles with EPS system voltage greater than 11 volts.
    • Using a scan tool

Test Description

The number below refers to the step number on the diagnostic table.

  1. Tests if the malfunction exists in the vehicles charging system.

  2. Tests if the malfunction is intermittent.

Step

Action

Yes

No

Connector End Views Reference: Power Steering Connector End Views

1

Did you perform the Power Steering Diagnostic System Check?

Go to Step 2

Go to Diagnostic System Check - Power Steering System

2

  1. Install a scan tool.
  2. Turn ON the ignition, with the engine OFF.
  3. With a scan tool, observe the Battery Voltage parameter in the ECM/PCM Data List.

Does the scan tool display greater than 11 volts?

Go to Step 3

Go to Diagnostic System Check - Engine Electrical in Engine Electrical

3

With a scan tool, observe the Battery Voltage parameter in the EPS Data List.

Does the scan tool display greater than 11 volts?

Go to Testing for Intermittent Conditions and Poor Connections in Wiring Systems

Go to Step 4

4

Test the battery positive voltage circuit of the PSCM for a high resistance. Refer to Circuit Testing and to Wiring Repairs in Wiring Systems.

Did you find and correct the condition?

Go to Step 10

Go to Step 5

5

Test the ground circuit of the PSCM for a high resistance. Refer to Circuit Testing and Wiring Repairs in Wiring Systems.

Did you find and correct the condition?

Go to Step 10

Go to Step 6

6

Inspect for poor connections at the harness connector of the underhood fuse block stud terminal. Refer to Testing for Intermittent Conditions and Poor Connections and to Connector Repairs in Wiring Systems.

Did you find and correct the condition?

Go to Step 10

Go to Step 7

7

Inspect for poor connections at the harness connector of the PSCM. Refer to Testing for Intermittent Conditions and Poor Connections and to Connector Repairs in Wiring Systems.

Did you find and correct the condition?

Go to Step 10

Go to Step 8

8

Inspect for poor connections at the ground terminal G109 . Refer to Testing for Intermittent Conditions and Poor Connections and to Connector Repairs in Wiring Systems.

Did you find and correct the condition?

Go to Step 10

Go to Step 9

9

Replace the EPS assembly. Refer to Steering Column Replacement in Steering Wheel and Column.

Did you complete the replacement?

Go to Step 10

--

10

  1. Use the scan tool in order to clear the DTCs.
  2. Operate the vehicle within the Conditions for Running the DTC.

Does the DTC reset?

Go to Step 2

System OK