The proper operation of the cooling system depends on the hoses and clamps being in good condition. Yet, these items are often taken for granted and overlooked. When these oversights occur, roadside emergencies will follow which will lead to low customer satisfaction. These problems can be avoided by proper physical and visual inspection of hoses and clamps.
Hoses should not only be checked by means of a thorough visual inspection, but also by squeezing each hose along its entire length. Look for these problems:
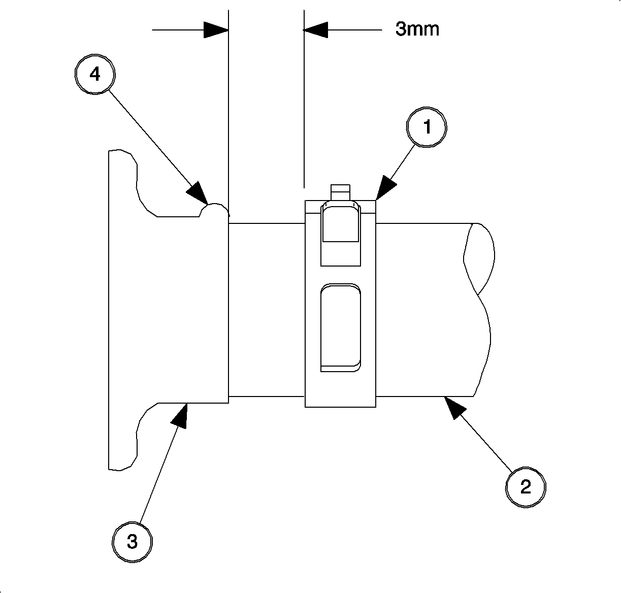
Notice: Hose clamps have been positioned at the factory for ease of assembly and removal in service. The clamps must be installed in the designed position to prevent damage to other components.
| • | 12 o'clock |
| • | 3 o'clock |
| • | 6 o'clock |
| • | 9 o'clock |