GM Service Manual Online
For 1990-2009 cars only

Tools Required

    • J 35268-A Camshaft Installer
    • J 35749 Camshaft Installer
    • J 42069 Timing Belt Alignment Kit
    • J 45482 Debris Screen
    • SA9140E Torque Angle Gage

Removal Procedure


    Object Number: 959177  Size: SH
  1. Disconnect the negative battery cable.
  2. Remove the intake manifold. Refer to Intake Manifold Replacement .
  3. Install the J 45482.

  4. Object Number: 959740  Size: SH
  5. Remove the front camshaft cover. Refer to Camshaft Cover Replacement - Left Side .

  6. Object Number: 894187  Size: SH

    Important: As a precaution, rotate the crankshaft counterclockwise to 60 degrees BTDC position to prevent valve/piston contact.

  7. Remove the timing belt. Refer to Timing Belt Replacement .

  8. Object Number: 894190  Size: SH
  9. Insert J 42069-2 into the camshaft gears to hold them in place while loosening the camshaft gear bolt.

  10. Object Number: 894899  Size: SH
  11. Remove the J 42069-2.
  12. Remove the camshaft gear bolt and discard.
  13. Remove the camshaft gear.

  14. Object Number: 894899  Size: SH
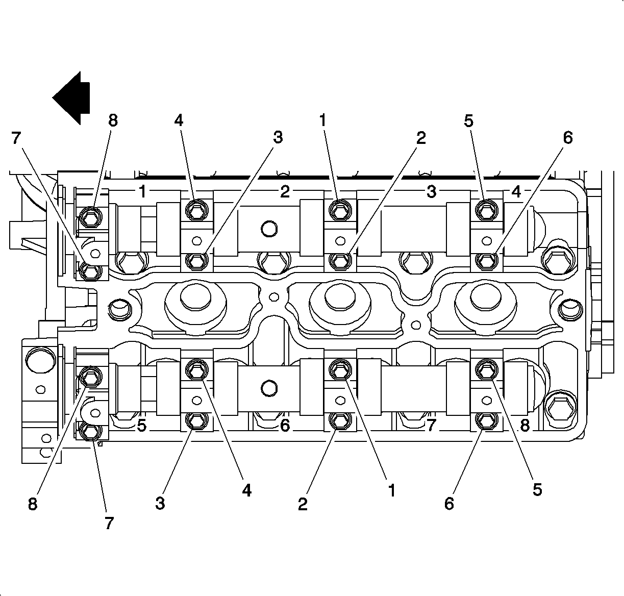
  15. Loosen the camshafts bearing cap bolts sequentially starting from the center and moving outwards in a spiral direction.
  16. Important: Ensure that the camshaft is not under the load front lifter(s) and that the camshaft comes out of bearing seat evenly.

  17. Remove the camshaft bearing cap bolts.
  18. Remove the camshaft bearing caps. Note the marks on the bearing caps.
  19. The bearing caps for the front side cylinder head are marked with an R followed by a number.
  20. Remove the camshaft with seal attached.
  21. Remove the camshaft seal.

  22. Object Number: 896488  Size: SH

    Important: A magnet can be used to remove the lifters from the bore.

    Important: Keep lifters in order to assure lifters are returned to the original locations.

  23. If the lifters are being serviced, remove the lifters.
  24. Clean all bearing and sealing surfaces.

Installation Procedure

  1. Lubricate the camshaft bearing surfaces with clean engine oil.

  2. Object Number: 894904  Size: SH

    Important: 

       • The intake is marked with the letter A.
       • The exhaust is marked with the letter E.

  3. Install lifters if removed.
  4. Install the camshaft to the cylinder head.

  5. Object Number: 894757  Size: SH

    Important: Ensure the pin on the exhaust camshaft is approximately in the 12 o'clock position and/or that the pin on the intake camshaft is approximately in the 7 o'clock position to allow for minimal load on the camshaft when installing the bearing caps.

  6. Apply a small amount of Permatex® Anaerobic Flange Sealant (or equivalent) on the forward edge of the front bearing caps to ensure an adequate seal between the bearing cap and cylinder head.

  7. Object Number: 894278  Size: SH
  8. The bearing caps for the front (CYL 2, 4, 6) cylinder head are marked R1-R8 (Cylinders 2, 4, 6).
  9. Install the camshaft bearing caps in their appropriate position.
  10. Notice: Refer to Fastener Notice in the Preface section.


    Object Number: 895686  Size: SH
  11. Install the camshaft bearing cap bolts.
  12. Important: DO NOT allow the sealer to get into the oil journal of the cap.

  13. Tighten the camshaft bearing cap bolts starting from the center cap gradually.
  14. Tighten
    Tighten the camshaft bearing cap bolt to 8 N·m (71 lb in).


    Object Number: 894897  Size: SH
  15. Coat lip of seal with a small amount of clean engine oil to aid in installation.
  16. Use the J 35268-A . For difficult to access areas the J 35749 can be used to install the camshaft seal.
  17. Ensure that the camshaft seal is fully and evenly seated.

  18. Object Number: 894899  Size: SH

    Important: Use a new camshaft gear bolt. The required tightening method will stretch the bolt, to its yield point. Therefore, the bolt is not reusable.

  19. Install a new camshaft sprocket bolt using the SA9140E .

  20. Object Number: 894190  Size: SH
  21. Use the J 42069-2 to hold the camshaft gear and camshaft in place while tightening the camshaft gear bolt.
  22. Tighten
    Tighten the camshaft sprocket bolt to 50 N·m (37 lb ft) + 16 degrees + 15 degrees.


    Object Number: 959177  Size: SH
  23. Install the timing belt. Refer to Timing Belt Replacement .
  24. Install the front camshaft cover. Refer to Camshaft Cover Replacement - Left Side .
  25. Remove the debris screen J 45482.
  26. Install the intake manifold. Refer to Intake Manifold Replacement .
  27. Connect the negative battery cable.
  28. Tighten
    Tighten the battery terminal bolt to 17  N·m (13 lb ft).