GM Service Manual Online
For 1990-2009 cars only

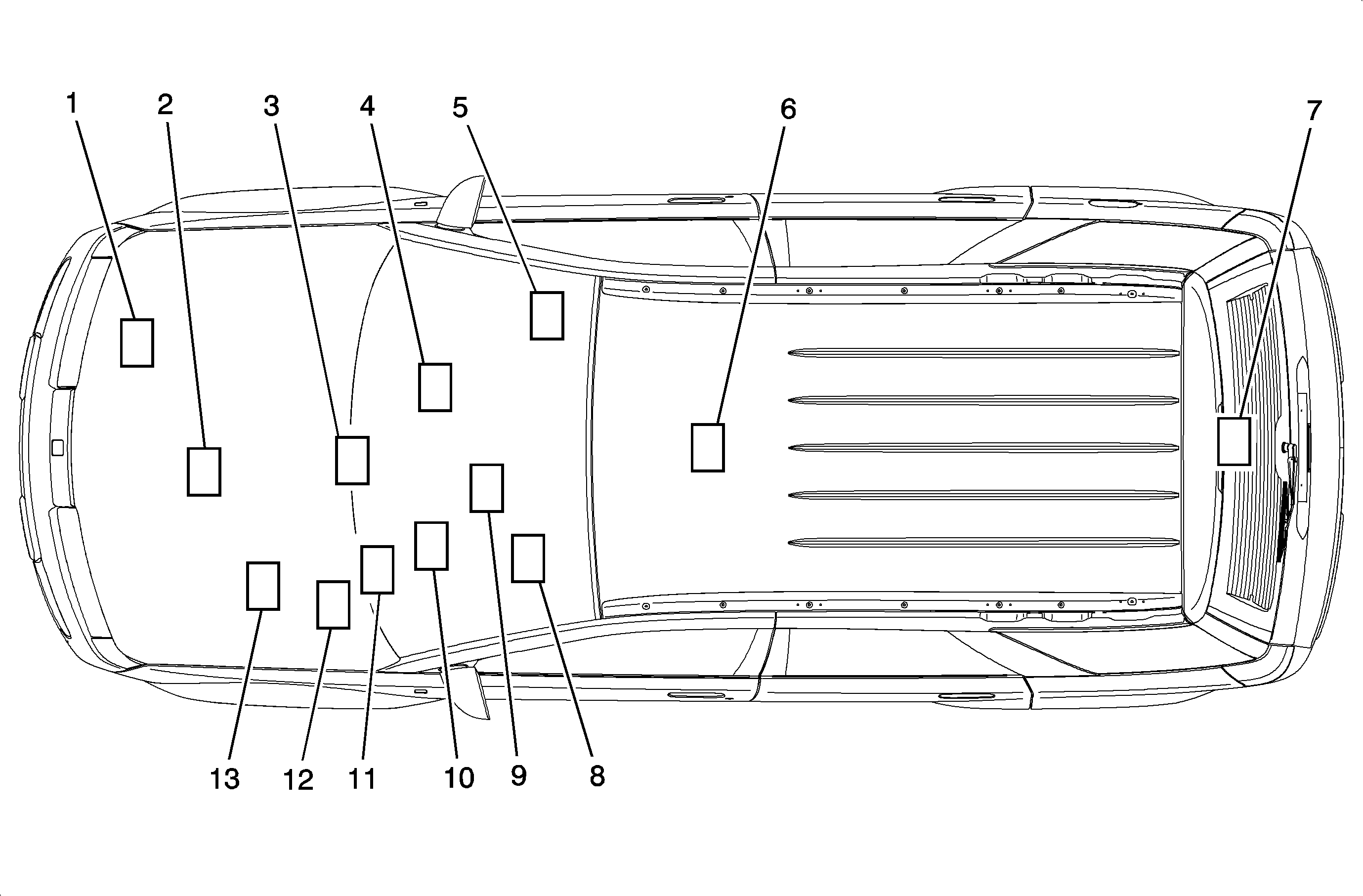
DLC, Lock, and Security Modules


Object Number: 933262  Size: MF
(1)Engine Control Module (ECM) - L61
(2)Engine Control Module (ECM) - L81
(3)Power Steering Control Module (PSCM)
(4)Body Control Module (BCM), Radio
(5)Door Lock Switch and Actuator - Front Passenger, Rest Similar
(6)Inflatable Restraint Sensing and Diagnostic Module (SDM)
(7)Liftgate Lock Actuator/Ajar Switch
(8)Data Link Connector (DLC)
(9)Vehicle Communication Interface Module (VCIM)
(10)Instrument Panel Cluster (IPC)
(11)Passlock Sensor
(12)Transmission Control Module (TCM)
(13)Electronic Brake Control Module (EBCM)