GM Service Manual Online
For 1990-2009 cars only

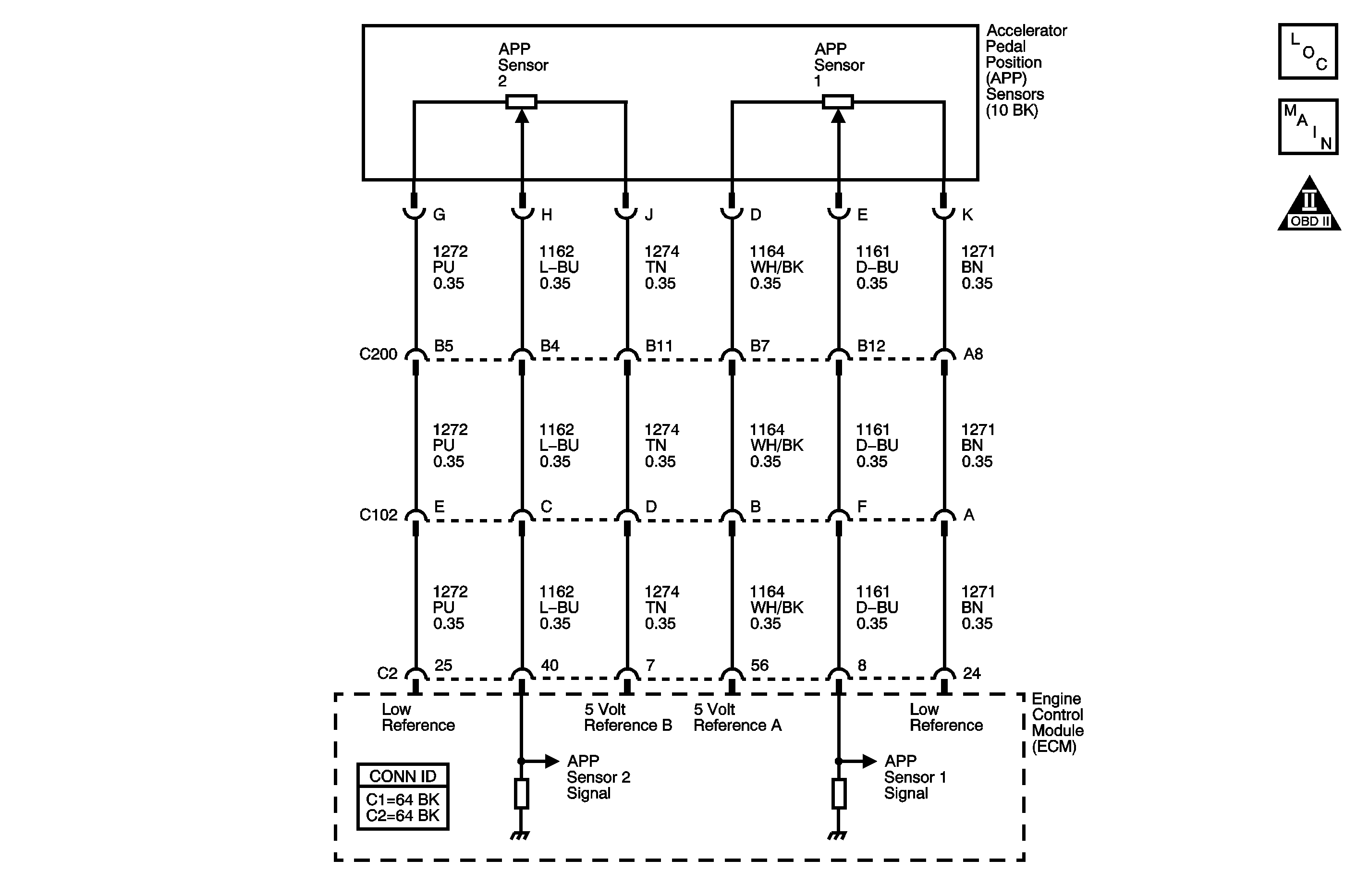
Object Number: 1522123  Size: MF
Engine Controls Component Views
Engine Controls Schematics

Circuit Description

The accelerator pedal position (APP) sensor is made up of two sensors that are housed inside one assembly. The engine control module (ECM) supplies a separate 5-volt reference and low reference circuit for each of the sensors. The 5-volt reference for APP sensor 1 is supplied from the same source in the ECM as the 5-volt reference for the mass air flow (MAF) sensor and the fuel tank pressure (FTP) sensor. The 5-volt reference for APP sensor 2 is supplied from the same source in the ECM as the 5-volt reference for the throttle position (TP) sensors. The 5-volt reference voltage for all of the sensors is supplied on separate ECM terminals, but the terminals are connected internally to the shared voltage supply. The APP sensor sends a signal from each of the sensors to the ECM indicating the accelerator pedal position. The ECM actuates the throttle plates based on this information. The APP sensor 1 signal voltage increases as the pedal is applied. The APP sensor 2 signal voltage also increases as the pedal is applied, but at a different rate. The control module compares the signal of each of the APP sensors, when the pedal is not in the rest position. If the ECM detects the APP sensors are not within a predicted value from each other, DTC P2138 sets.

Conditions for Running the DTC

    • The battery voltage is more than 7 volts.
    • The ignition is ON.
    • The accelerator pedal is not in the rest position.

Conditions for Setting the DTC

The ECM detects that the difference between APP sensor 1 and APP sensor 2 is more than the predicted value.

Action Taken When the DTC Sets

    • The control module illuminates the malfunction indicator lamp (MIL) when the diagnostic runs and fails.
    • The control module records the operating conditions at the time the diagnostic fails. The control module stores this information in the Freeze Frame and/or the Failure Records.
    • The control module commands the TAC system to operate in the Reduced Engine Power mode.
    • A message center or an indicator displays Reduced Engine Power.
    • Under certain conditions the control module commands the engine OFF.

Conditions for Clearing the MIL/DTC

    • The control module turns OFF the malfunction indicator lamp (MIL) after 3 consecutive ignition cycles that the diagnostic runs and does not fail.
    • A current DTC, Last Test Failed, clears when the diagnostic runs and passes.
    • A history DTC clears after 40 consecutive warm-up cycles, if no failures are reported by this or any other emission related diagnostic.
    • Clear the MIL and the DTC with a scan tool.

Step

Action

Values

Yes

No

Schematic Reference: Engine Controls Schematics

Connector End View Reference: Engine Control Module Connector End Views or Engine Controls Connector End Views

1

Did you perform the Diagnostic System Check-Engine Controls?

--

Go to Step 2

Go to Diagnostic System Check - Engine Controls

2

Observe the DTC information with a scan tool.

Is DTC P0101, P0121, P0122, P0123, P0221, P0222, P0223, P2122, P2123, P2127, P2128 also set?

--

Go to Diagnostic Trouble Code (DTC) List

Go to Step 3

3

  1. Turn OFF the ignition.
  2. Disconnect the accelerator pedal position (APP) sensor electrical connector.
  3. Disconnect the engine control module (ECM).
  4. Measure the resistance of the following circuits with a DMM for each of the APP sensors:
  5. • The low reference circuit
    • The signal circuit
    • The 5-volt reference circuit

Is the resistance more than the specified value for any circuit?

5 ohms

Go to Step 7

Go to Step 4

4

Test the signal circuit of APP sensor 1 for a short to the signal circuit of APP sensor 2. Refer to Circuit Testing and Wiring Repairs in Wiring Systems.

Did you find and correct the condition?

--

Go to Step 9

Go to Step 5

5

Test for an intermittent and for a poor connection at the APP sensor. Refer to Testing for Intermittent Conditions and Poor Connections and Connector Repairs in Wiring Systems.

Did you find and correct the condition?

--

Go to Step 9

Go to Step 6

6

Test for an intermittent and for a poor connection at the ECM. Refer to Testing for Intermittent Conditions and Poor Connections and Connector Repairs in Wiring Systems.

Did you find and correct the condition?

--

Go to Step 9

Go to Step 8

7

Repair the high resistance in the circuit that measured above the specified value. Refer to Wiring Repairs in Wiring Systems.

Did you complete the repair?

--

Go to Step 9

--

8

Replace the APP sensor. Refer to Accelerator Pedal Position Sensor Replacement .

Did you compete the replacement?

--

Go to Step 9

--

9

  1. Clear the DTCs with a scan tool.
  2. Turn OFF the ignition for 30 seconds.
  3. Start the engine.
  4. Operate the vehicle within the Conditions for Running the DTC. You may also operate the vehicle within the conditions that you observed from the Freeze Frame/Failure Records.

Did the DTC fail this ignition?

--

Go to Step 2

Go to Step 10

10

Observe the Capture Info with a scan tool.

Are there any DTCs that have not been diagnosed?

--

Go to Diagnostic Trouble Code (DTC) List

System OK