GM Service Manual Online
For 1990-2009 cars only

Object Number: 882350  Size: MF
OBD II Symbol Description Notice

Circuit Description

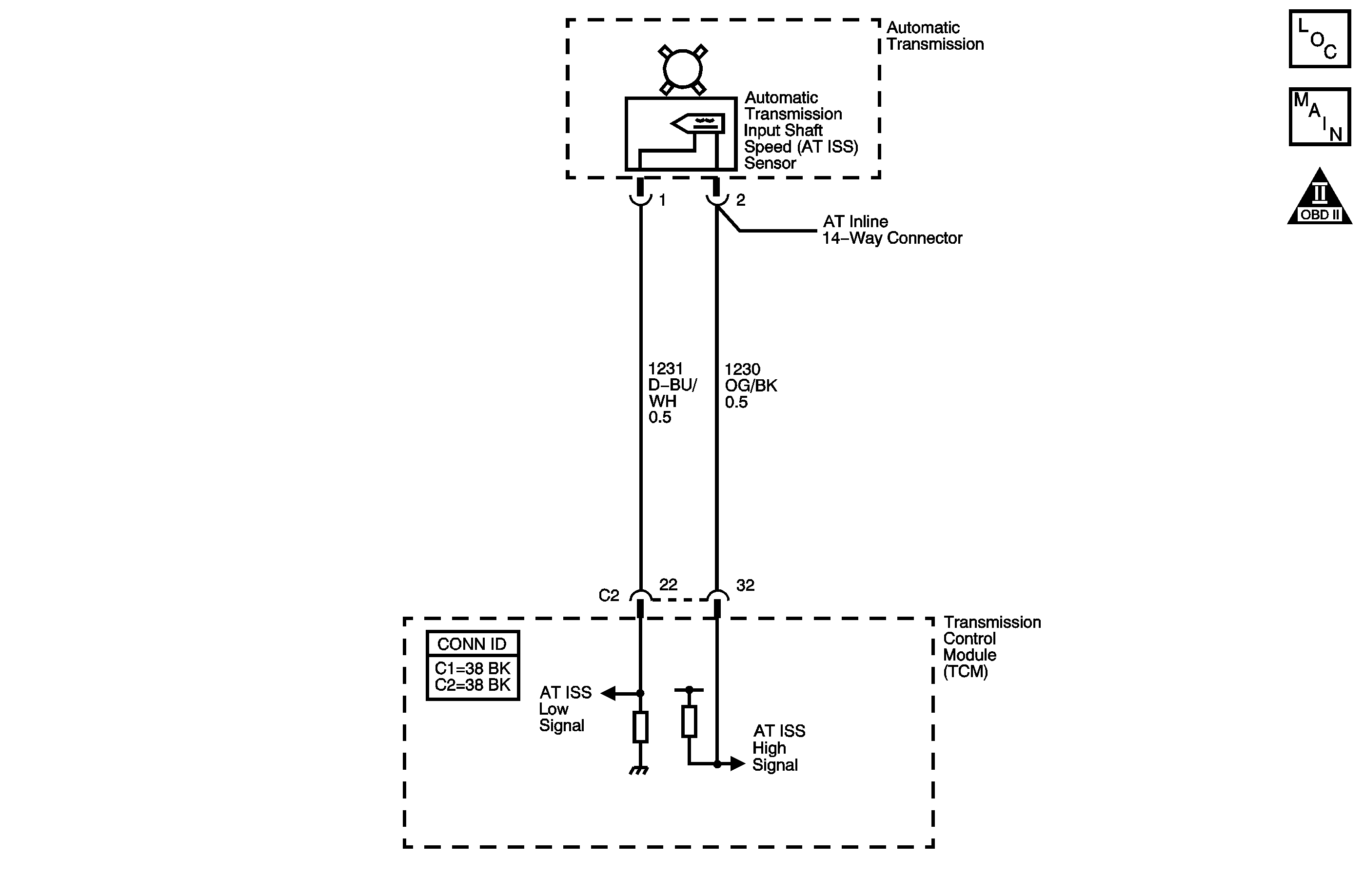
The input shaft speed (ISS) sensor is a hall effect sensor. The ISS sensor mounts in the top of the transmission case. The ISS sensor faces the forward and direct clutch housing machined teeth surface. As the forward and direct clutch housing rotates, a square wave voltage signal is sent to the transmission control module (TCM). The number of pulses increases as the speed of the forward and direct clutch housing increases. The TCM uses the input shaft speed signal to help determine line pressure, transmission shift patterns, torque converter clutch (TCC) slip speed and gear ratio.

If the TCM detects no input shaft speed when there is vehicle speed in a drive gear range, or if the TCM detects an open or shorted ISS signal circuit, then DTC P0717 sets. DTC P0717 is a type A DTC.

Conditions for Running the DTC

Fail Case 1

    • No TR Switch DTC P0705.
    • No TFT DTCs P0711, P0712, or P0713.
    • No OSS DTC P0722.
    • The ignition voltage is 10.5-18 volts.
    • Trans. Protection Mode is OFF.
    • The engine speed is at least 400 RPM.
    • The vehicle speed is 66 km/h (41 mph) or greater.
    • The commanded gear is 2 or greater.
    • The transmission is not shifting.
    • If the transmission temperature is greater than 20°C (68°F), the TR Switch has been DRIVE for 2.5 seconds or greater.
    • If the transmission temperature is 0-20°C (32-68°F), the TR Switch has been DRIVE for 10 seconds or greater.
    • If the transmission temperature is less than 0°C (32°F), the TR Switch has been DRIVE for 3 minutes or greater.

Fail Case 2

    • The ignition voltage is 10.5-18 volts.
    • Trans. Protection Mode is OFF.
    • The engine is running.

Conditions for Setting the DTC

Fail Case 1

The TCM does not detect any pulses from the ISS and there are 3,000 pulses from the OSS.

Fail Case 2

The A/T ISS signal circuit is open or shorted for 30 seconds or greater.

Action Taken When the DTC Sets

    • The TCM requests the TCM to illuminate the malfunction indicator lamp (MIL).
    • The TCM turns the Trans. Protection Mode ON. When the Trans. Protection Mode is ON, the following conditions occur:
      • The transmission will operate in 5th gear when the transmission is shifted into D or I range and 2nd gear when shifted into L range.
      • The line pressure is at maximum.
      • The torque converter clutch (TCC) is disabled.
      • The TCM freezes the transmission adaptive functions.
    • The TCM calculates the input speed based on the output speed.
    • The TCM records the operating conditions when the Conditions for Setting the DTC are met. The TCM stores this information as a Failure Record.
    • The TCM stores DTC P0717 in TCM history.

Conditions for Clearing the MIL/DTC

    • The ECM turns OFF the MIL after the third consecutive drive trip in which the TCM does not send a MIL illumination request.
    • A scan tool can clear the MIL/DTC.
    • The TCM clears the DTC from TCM history if the vehicle completes 40 warm-up cycles without an emission-related diagnostic fault occurring.
    • The TCM cancels the default actions when the ignition is OFF long enough in order to power down the TCM.

Step

Action

Values

Yes

No

1

Did you perform the Diagnostic System Check - Engine Controls?

--

Go to Step 2

Go to Diagnostic System Check - Engine Controls in Engine Controls - 3.0L (L81)

2

  1. Install a scan tool.
  2. Turn ON the ignition with the engine OFF.
  3. Important: 

       • Before clearing the DTC, use the scan tool in order to record the ECM Freeze Frame and the TCM Failure Records. Using the Clear Eng./Trans. DTC Info function erases the Freeze Frame and Failure Records from the ECM and the TCM.
       • Using the Clear Eng./Trans. DTC Info function erases stored DTCs in both the ECM and TCM.

  4. Record the DTC Freeze Frame and Failure Records.
  5. Clear the DTC.
  6. Start the engine.
  7. Select Transmission ISS on the scan tool.

Does the scan tool display a steady input shaft speed above the specified value?

500 RPM

Go to Intermittent Conditions in Engine Controls - 3.0L (L81)

Go to Step 3

3

  1. Turn OFF the ignition.
  2. Disconnect the A/T ISS sensor connector.
  3. Using the DMM and the J-35616 GM terminal test kit, measure the voltage between the A/T ISS sensor connector terminals 1 and 2.

Is the voltage within the specified range?

9-12 V

Go to Step 5

Go to Step 4

4

Test the ISS high reference circuit (CKT 1230) and ISS low signal circuit (CKT 1231) for the following conditions:

    • An open circuit or high resistance condition
    • ISS high reference and ISS low signal circuits shorted together
    • ISS high reference shorted to ground
    • ISS low signal shorted to voltage

Refer to Circuit Testing and Wiring Repairs in Wiring Systems.

Did you find and correct a condition?

--

Go to Step 9

Go to Step 8

5

Test the ISS low signal circuit (CKT 1231) for a short to ground.

Refer to Testing for Short to Ground and Wiring Repairs in Wiring Systems.

Did you find and correct a condition?

--

Go to Step 9

Go to Step 6

6

  1. Remove the ISS. Refer to Input Speed Sensor Replacement .
  2. Inspect the ISS and the ISS rotor for the following conditions:
  3. • ISS damage
    • ISS rotor damage
    • Excessive air gap between the reverse clutch input housing assembly (401) rotor and the ISS
    • Incorrect alignment between the ISS and the reverse clutch input housing assembly (401) rotor
  4. Repair or replace any of the above items as necessary.

Did you find and correct a condition?

--

Go to Step 9

Go to Step 7

7

Replace the ISS. Refer to Input Speed Sensor Replacement .

Did you complete the replacement?

--

Go to Step 9

--

8

Replace the TCM. Refer to Transmission Control Module Replacement .

Is the action complete?

--

Go to Step 9

--

9

Perform the following procedure in order to verify the repair:

  1. Select DTC.
  2. Select Clear Info.
  3. Start and idle the engine.
  4. Observe Transmission ISS on the scan tool. Input speed must be greater than 300 RPM for 70 seconds.
  5. Select Specific DTC.
  6. Enter DTC P0717.

Does the DTC reset?

--

Go to Step 2

Go to Step 10

10

With the scan tool, observe the stored information, capture info and DTC info.

Does the scan tool display any DTCs that you have not diagnosed?

--

Go to Diagnostic Trouble Code (DTC) List in Engine Controls - 3.0L (L81)

System OK