GM Service Manual Online
For 1990-2009 cars only

Object Number: 882354  Size: MF
OBD II Symbol Description Notice

Circuit Description

The TCC lock up pressure control (PC) solenoid valve regulates solenoid modulator fluid passing through the solenoid into lock up control pressure. The TCM uses a pulse width modulated signal in order to control the signal pressure. The TCM compares various inputs in order to determine the appropriate pressure for a given load. The TCM varies the current to the TCC lock up PC solenoid valve from 0.1 amps, for maximum line pressure to 1.1 amps, for minimum line pressure. An internal current monitor within the TCM provides feedback in order to determine actual TCC lock up PC solenoid valve current draw.

If the TCM detects a continuous short to voltage in the TCC lock up PC solenoid valve circuit, then DTC P0967 sets. DTC P0967 is a type A DTC.

Conditions for Running the DTC

The ignition voltage is 8-18 volts.

Conditions for Setting the DTC

The TCC lock up PC solenoid valve feedback circuit indicates a continuous short to voltage for 2 seconds or greater.

Action Taken When the DTC Sets

    • The TCM requests the ECM to illuminate the malfunction indicator lamp (MIL).
    • The TCM turns the Trans. Protection Mode ON. When the Trans. Protection Mode is ON, the following conditions occur:
       - The transmission will operate in 5th gear when the transmission is shifted into D or I range and 2nd gear when shifted into L range.
       - The line pressure is at maximum.
       - The torque converter clutch (TCC) is disabled.
       - The TCM freezes the transmission adaptive functions.
    • The TCM records the operating conditions when the Conditions for Setting the DTC are met. The TCM stores this information as a Failure Record.
    • The TCM stores DTC P0967 in TCM history.

Conditions for Clearing the MIL/DTC

    • The ECM turns off the MIL after the third consecutive drive trip in which the TCM does not send a MIL illumination request.
    • A scan tool can clear the MIL/DTC.
    • The TCM clears the DTC from TCM history if the vehicle completes 40 warm-up cycles without an emission-related diagnostic fault occurring.
    • The TCM cancels the DTC default actions when the ignition is OFF long enough in order to power down the TCM.

Test Description

The numbers below refer to the step numbers on the diagnostic table.

  1. This step verifies the ability of the TCM to command the TCC lock up PC solenoid valve.

  2. This step verifies that the automatic transmission wiring harness and the TCC lock up PC solenoid valve have correct resistance.

Step

Action

Values

Yes

No

1

Did you perform the Diagnostic System Check - Engine Controls?

--

Go to Step 2

Go to Diagnostic System Check - Engine Controls in Engine Controls - 3.0L (L81)

2

  1. Install a scan tool.
  2. Turn the ignition ON, with the engine OFF.
  3. Important: 

       • Before clearing the DTC, use the scan tool in order to record the ECM and the TCM Failure Records. Using the Clear Eng./Trans. DTC Info function erases the Failure Records from the ECM and TCM.
       • Using the Clear Eng./Trans. DTC Info function erases stored DTCs in both the ECM and TCM.

  4. Record the DTC Failure Records.
  5. Clear the DTC.
  6. With a scan tool, select the TCC PC Solenoid Output Control. Increase and decrease the TCC lock up PC solenoid valve amperage.
  7. Observe the scan tool display.

Does the TCC PC Sol. Actual Current reading vary from the TCC PC Sol. Ref. Current reading by more than the specified amount?

0.10 amps

Go to Step 3

Go to Intermittent Conditions in Engine Controls - 3.0L (L81)

3

  1. Turn OFF the ignition.
  2. Disconnect the AT inline 14-way connector. Additional DTCs may set.
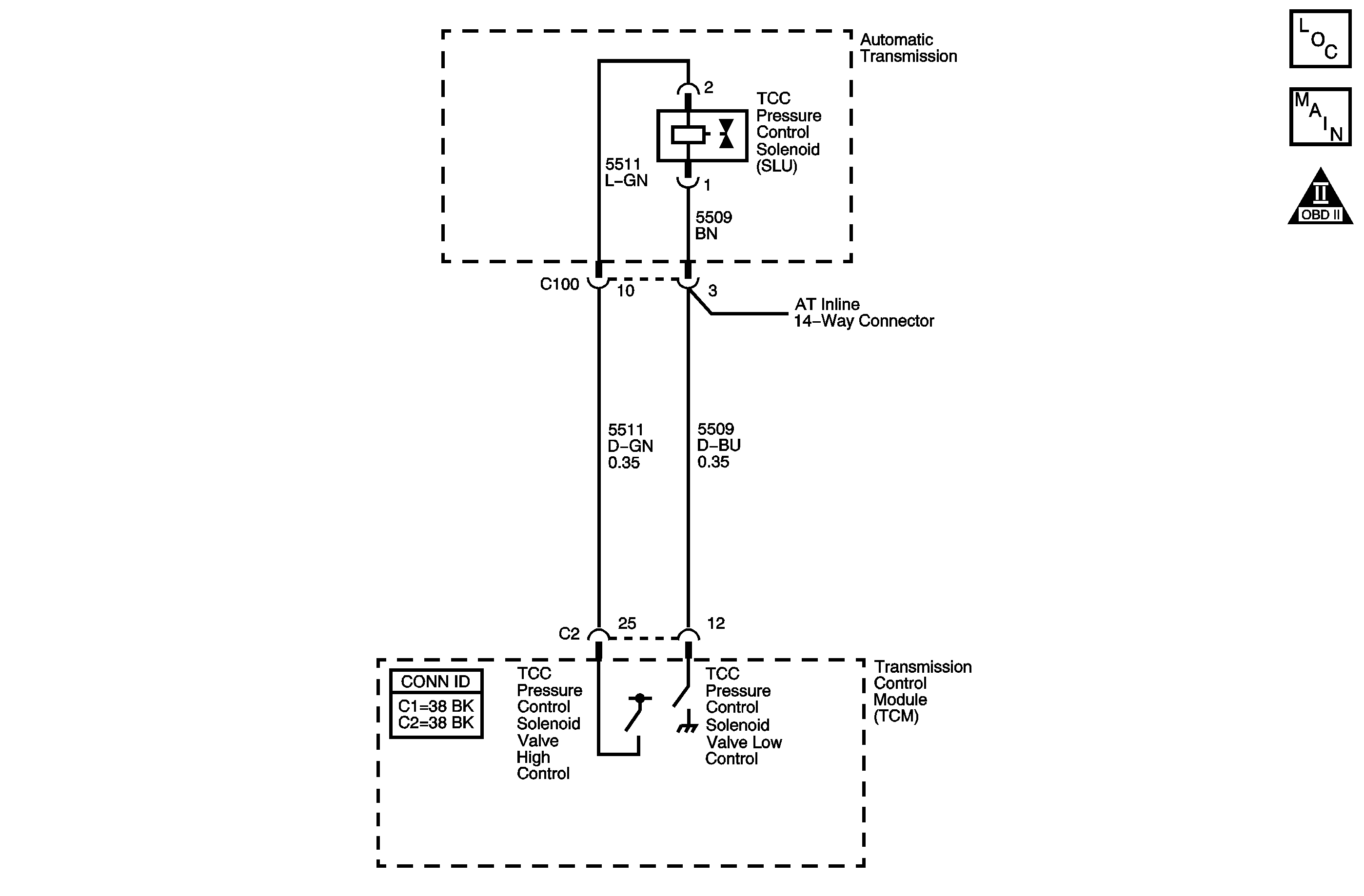
  3. Using the digital multimeter (DMM) and the J-35616 GM-approved terminal test kit, measure the resistance between terminals 3 and 10 of the transmission side of the AT inline 14-way connector.

Is the resistance less than the specified value?

3.8 ohms

Go to Step 4

Go to Step 5

4

Test the high control circuit (CKT 5511) of the TCC lock up PC solenoid valve and the low control circuit (CKT 5509) of the TCC lock up PC solenoid valve for being shorted together between the AT inline 14-way connector and the TCC lock up PC solenoid valve.

Refer to Testing for Continuity in Wiring Systems.

Did you find the condition?

--

Go to Step 8

Go to Step 9

5

Measure the resistance between terminal 3 and all other terminals, except terminal 10, of the transmission side of the AT inline 14-way connector.

Refer to Testing for Continuity in Wiring Systems.

Is the resistance between terminal 3 and any other terminal, except terminal 10, less than the specified value?

100 ohms

Go to Step 8

Go to Step 6

6

Test the high control circuit (CKT 5511) and the low control circuit (CKT 5509) of the TCC lock up PC solenoid valve for a short to voltage or a short together between the AT inline 14-way connector and the TCM.

Refer to Circuit Testing in Wiring Systems.

Did you find a condition?

--

Go to Step 7

Go to Step 10

7

Repair or replace the wiring harness.

Refer to Wiring Repairs in Wiring Systems.

Did you complete the replacement?

--

Go to Step 11

--

8

Repair or replace the internal automatic transmission wiring harness assembly (33).

Refer to Wiring Harness Removal and Wiring Repairs in Wiring Systems.

Did you complete the replacement?

--

Go to Step 11

--

9

Replace the control valve body assembly (39). Refer to Control Valve Body Replacement .

Is the replacement complete?

--

Go to Step 11

--

10

Replace the TCM. Refer to Transmission Control Module Replacement .

Is the replacement complete?

--

Go to Step 11

--

11

Perform the following procedure in order to verify the repair:

  1. Select DTC.
  2. Select Clear Info.
  3. Operate the vehicle for at least 12 seconds.
  4. Select Specific DTC.
  5. Enter DTC P0967.

Does the DTC reset?

--

Go to Step 2

Go to Step 12

12

With the scan tool, observe the stored information, capture info and DTC info.

Does the scan tool display any DTCs that you have not diagnosed?

--

Go to Diagnostic Trouble Code (DTC) List in Engine Controls - 3.0L (L81)

System OK